Export Control
EAR Export Classification: Not subject to the EAR per 15 C.F.R. Chapter 1, Part 734.3(b)(3), except for the following Service Bulletins which are currently published as EAR Export Classification 9E991: SBE70-0992, SBE72-0483, SBE72-0580, SBE72-0588, SBE72-0640, SBE73-0209, SBE80-0024 and SBE80-0025.Copyright
© IAE International Aero Engines AG (2001, 2014 - 2021) The information contained in this document is the property of © IAE International Aero Engines AG and may not be copied or used for any purpose other than that for which it is supplied without the express written authority of © IAE International Aero Engines AG. (This does not preclude use by engine and aircraft operators for normal instructional, maintenance or overhaul purposes.).Applicability
All
Common Information
TASK 72-50-24-300-030 LPT Stage 3 Inner Air Seal Ring - Plasma Spray The Diameter, Repair-030 (VRS4136)
General
Price and availability - none
The practices and processes referred to in the procedure by the TASK number are in the SPM.
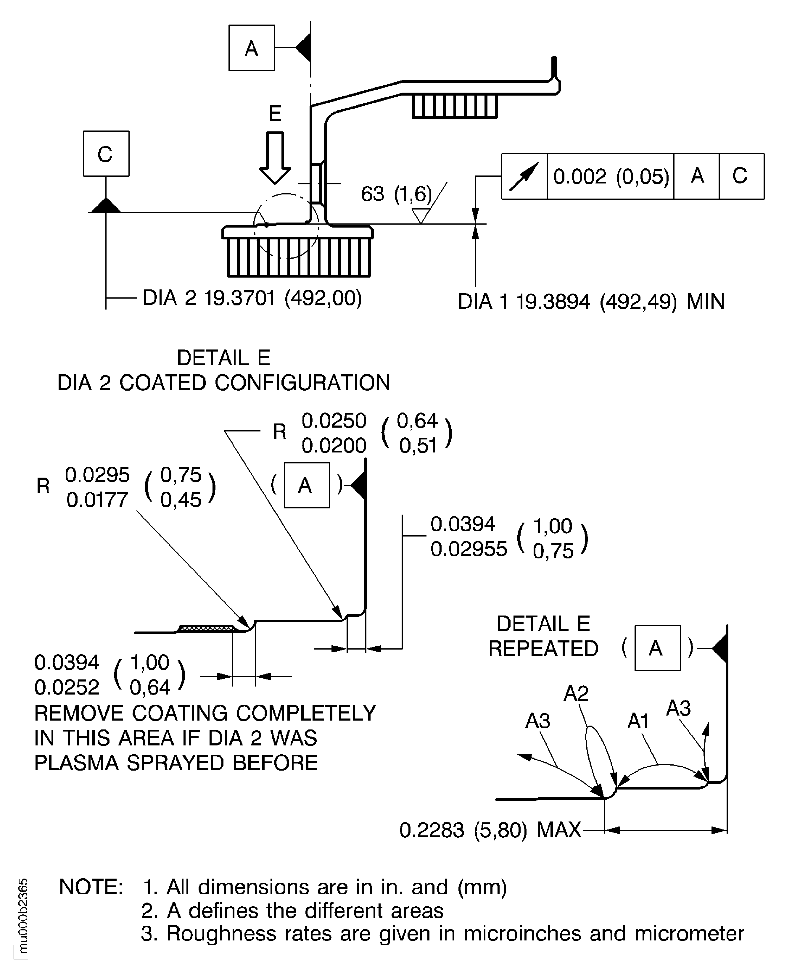
Repair the diameter DIA 1 or the diameter DIA 2. Use the applicable repair possibility of this VRS. Do not machine both diameters at the same time. If necessary plasma spray repair both diameters, then first make a complete repair of diameter DIA 2. Use the undamaged sections of DIA 1 (between the support ring keys wear traces) as a datum. After this diameter DIA 1 can be repaired, use diameter DIA 2 as a datum.
NOTE
NOTE
Preliminary Requirements
Pre-Conditions
NONESupport Equipment
NONEConsumables, Materials and Expendables
| Name | Manufacturer | Part Number / Identification | Quantity | Remark |
|---|---|---|---|---|
| CoMat 02-047 TAPE, HEAT REFLECTIVE | 52152 | CoMat 02-047 | ||
| CoMat 02-050 HIGH TEMPERATURE GLASS CLOTH TAPE | 76381 | CoMat 02-050 | ||
| CoMat 03-096 PLASMA SPRAY POWDER | LOCAL | CoMat 03-096 | ||
| CoMat 05-046 ALUMINUM OXIDE GRIT | 62596 | CoMat 05-046 |
Spares
NONESafety Requirements
NONEProcedure
SUBTASK 72-50-24-325-080 Machine the Diameter
NOTE
Remove the old coating fully, if the diameter was plasma sprayed before. Do not remove the coating from both diameters at the same time. If dimeter DIA 2 was plasma sprayed before, the coating in area A2 must be fully removed. Refer to Figure.Refer to Figure for dimensions.
Examine dimensionally.
SUBTASK 72-50-24-220-150 Examine Machined Areas
Refer to the SPM TASK 70-11-34-300-503.
Aqueous degrease.
SUBTASK 72-50-24-110-112 Clean the Airseal Ring
Make sure that the surfaces have full protection.
Use CoMat 02-047 TAPE, HEAT REFLECTIVE or CoMat 02-050 HIGH TEMPERATURE GLASS CLOTH TAPE high temperature tape.
Mask the areas A3.
Surface texture must be 120 to 200 microinch RMS (3.0 to 5.0 micrometer Ra).
Refer to Figure or Fig. 72-50-24-51and the SPM TASK 70-34-03-340-501.
Grit blast the area A1.
SUBTASK 72-50-24-340-084 Prepare Surfaces for the Plasma Spray Procedure
Overspray in area A2 is permitted if it was blasted before.
Make sure that there is sufficient material sprayed on to do final machining.
Refer to the SPM TASK 70-34-03-340-501.
Plasma spray the area A1.
SUBTASK 72-50-24-340-085 Plasma Spray the Prepared Surfaces
NOTE
It is not permitted to spray over existing coating on diameter DIA 2 when diameter DIA 1 is repaired.Refer to the SPM TASK 70-11-34-300-503.
Aqueous degrease.
SUBTASK 72-50-24-110-122 Clean the Airseal Ring
Refer to Figure or Figure and the SPM TASK 70-34-03-340-501.
Machine the coated area.
SUBTASK 72-50-24-325-081 Machine the Coated Area
Refer to the SPM TASK 70-11-34-300-503.
Aqueous degrease.
SUBTASK 72-50-24-110-123 Clean the Airseal Ring
Refer to the SPM TASK 70-34-03-340-501.
Examine coating visually.
SUBTASK 72-50-24-220-151 Do the Post Repair Inspection
Refer to the SPM TASK 70-09-00-400-501.
Vibropeen VRS4136 and applicable beehive symbol adjacent to the part number.
SUBTASK 72-50-24-350-075 Make a Mark to Identify the Repair
Figure: Plasma spray the diameter DIA 2 of the stage 3 airseal ring assembly
Plasma spray the diameter DIA 2 of the stage 3 airseal ring assembly

Figure: Plasma spray the diameter DIA 2 of the stage 3 airseal ring assembly
Plasma spray the diameter DIA 2 of the stage 3 airseal ring assembly

Figure: Plasma spray the diameter DIA 1 of the stage 3 airseal ring assembly
Plasma spray the diameter DIA 1 of the stage 3 airseal ring assembly

Figure: Plasma spray the diameter DIA 1 of the stage 3 airseal ring assembly
Plasma spray the diameter DIA 1 of the stage 3 airseal ring assembly

