Export Control
EAR Export Classification: Not subject to the EAR per 15 C.F.R. Chapter 1, Part 734.3(b)(3), except for the following Service Bulletins which are currently published as EAR Export Classification 9E991: SBE70-0992, SBE72-0483, SBE72-0580, SBE72-0588, SBE72-0640, SBE73-0209, SBE80-0024 and SBE80-0025.Copyright
© IAE International Aero Engines AG (2001, 2014 - 2021) The information contained in this document is the property of © IAE International Aero Engines AG and may not be copied or used for any purpose other than that for which it is supplied without the express written authority of © IAE International Aero Engines AG. (This does not preclude use by engine and aircraft operators for normal instructional, maintenance or overhaul purposes.).Applicability
All
Common Information
TASK 72-50-25-300-002 LPT Outer Diffuser Support - Plasma Spray, Repair-002 (VRS4139)
General
Price and availability - none
The practices and processes referred to in the procedure by the TASK number are in the SPM.
NOTE
NOTE
NOTE
Preliminary Requirements
Pre-Conditions
NONESupport Equipment
| Name | Manufacturer | Part Number / Identification | Quantity | Remark |
|---|---|---|---|---|
| Vertical turning lathe | LOCAL | Vertical turning lathe | ||
| Plasma spray equipment | LOCAL | Plasma spray equipment | ||
| IAE 3M14283 Turning fixture | 0AM53 | IAE 3M14283 | 1 |
Consumables, Materials and Expendables
| Name | Manufacturer | Part Number / Identification | Quantity | Remark |
|---|---|---|---|---|
| CoMat 02-047 TAPE, HEAT REFLECTIVE | 52152 | CoMat 02-047 | ||
| CoMat 02-050 HIGH TEMPERATURE GLASS CLOTH TAPE | 76381 | CoMat 02-050 | ||
| CoMat 03-089 METAL SPRAYING POWDER Ni/Al (95/5) | 00741 | CoMat 03-089 | ||
| CoMat 03-090 METAL SPRAYING POWDER Ni/Al (95/5) | 0AM53 | CoMat 03-090 | ||
| CoMat 05-046 ALUMINUM OXIDE GRIT | 62596 | CoMat 05-046 |
Spares
NONESafety Requirements
NONEProcedure
Use Vertical turning lathe and IAE 3M14283 Turning fixture 1 off.
Refer to Figure.
Fully remove damage and old coating.
Keep material removal to the minimum to allow subsequent repairs.
Machine the radial diameter D1.
SUBTASK 72-50-25-325-051 Machine Worn Radial Dimension D1
NOTE
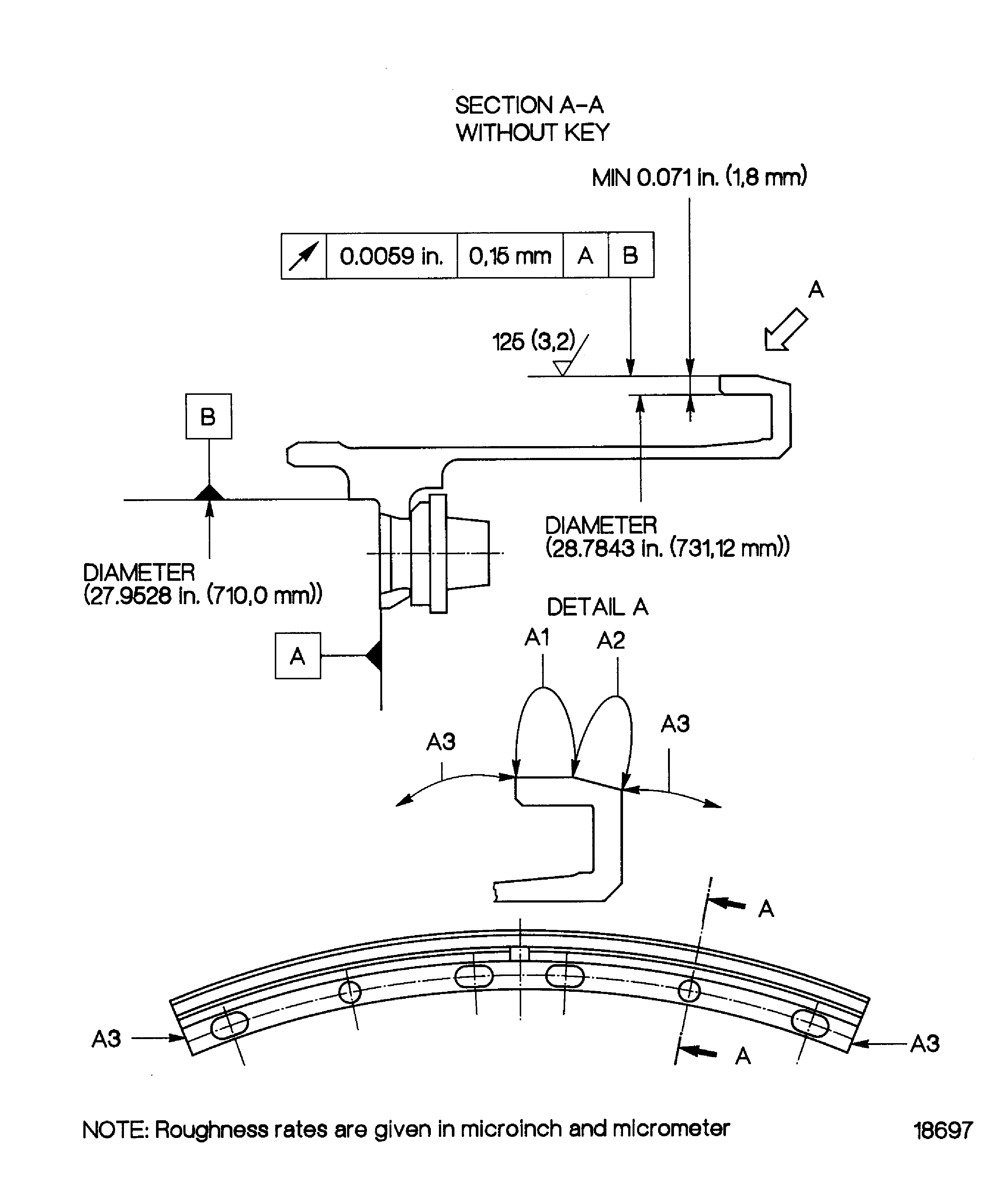
If the hook locating diameter was plasma spray repaired before, remove old coating fully.Refer to Figure for dimensions.
Dimensionally examine diameter D1.
SUBTASK 72-50-25-220-076 Examine Machined Dimensions
Refer to the SPM TASK 70-11-01-300-503.
Vapor degrease
SUBTASK 72-50-25-110-054 Clean the Support Ring Assembly
Mask the areas A3.
Surface texture must be 120 to 200 microinch RMS (3.0 to 5.0 micrometer Ra).
Blasting in area A2 is permitted.
Refer to Figure.
Refer to the SPM TASK 70-34-03-340-501.
Grit blast the area A1.
SUBTASK 72-50-25-340-051 Prepare Surfaces for the Plasma Spray Procedure
Overspray in area A2 is permitted, refer to Figure.
Make sure that there is sufficient material sprayed on to do last machining.
Refer to the SPM TASK 70-34-03-340-501.
Plasma spray the area A1.
SUBTASK 72-50-25-340-052 Plasma Spray the Prepared Surfaces
Refer to the SPM TASK 70-11-01-300-503.
Vapor degrease
SUBTASK 72-50-25-110-055 Clean the Support Ring Assembly
Refer to dimensions shown in Figure and the SPM TASK 70-34-03-340-501.
Use Vertical turning lathe and IAE 3M14283 Turning fixture 1 off.
Machine coated areas and chamfer.
SUBTASK 72-50-25-325-052 Machine the Coated Areas
Refer to the SPM TASK 70-11-01-300-503.
Vapor degrease
SUBTASK 72-50-25-110-056 Clean the Support Ring Assembly
Refer to Figure.
Dimensionally examine
Refer to the SPM TASK 70-34-03-340-501.
Examine coating
SUBTASK 72-50-25-220-077 Examine the Machined Areas
Refer to the SPM TASK 70-09-00-400-501.
Vibro-peen VRS4139 and applicable beehive symbol adjacent to the part number.
SUBTASK 72-50-25-350-056 Make a Mark to Identify the Repair
Figure: Plasma spray rear hook outer diameter, outer diffuser support (01-010)
Plasma spray rear hook outer diameter, outer diffuser support (01-010)

Figure: Plasma spray rear hook outer diameter, outer diffuser support (01-010)
Plasma spray rear hook outer diameter, outer diffuser support (01-010)

