Export Control
EAR Export Classification: Not subject to the EAR per 15 C.F.R. Chapter 1, Part 734.3(b)(3), except for the following Service Bulletins which are currently published as EAR Export Classification 9E991: SBE70-0992, SBE72-0483, SBE72-0580, SBE72-0588, SBE72-0640, SBE73-0209, SBE80-0024 and SBE80-0025.Copyright
© IAE International Aero Engines AG (2001, 2014 - 2021) The information contained in this document is the property of © IAE International Aero Engines AG and may not be copied or used for any purpose other than that for which it is supplied without the express written authority of © IAE International Aero Engines AG. (This does not preclude use by engine and aircraft operators for normal instructional, maintenance or overhaul purposes.).Applicability
All
Common Information
TASK 72-50-33-300-047 LPT Stage 5 Rotating Airseal - Plasma Spray The Knife Edge Seals, Repair-047 (VRS4388)
General
Price and availability - none
The practices and processes referred to in the procedure by TASK number are in the SPM.
Repair Facilities
The Source Demonstration requirements of this repair means that any facility not authorized to accomplish this repair either, utilize the Authorized Repair Vendors listed below or contact the IAE Repair Services Group to determine if a qualification program can be initiated at their facility.
IAE International Aero Engines AG
c/o Rolls-Royce Deutschland Ltd und Co KG
Eschenweg 11
Dahlewitz
15827 Blankenfelde-Mahlow
Germany
ATTN: Manager Technical Services
Authorized Repair Vendors for Repair, VRS4388 TASK 72-50-33-300-047 (REPAIR-047) are listed below:
MTU AERO ENGINES GMBH
Dachauer Strasse 665
80995 Munchen
Germany
The designation by IAE of an authorized repair vendor that the repair vendor has demonstrated the necessary capability to enable him to carry out the listed repair work. However, IAE make no warranties or representations concerning the qualifications or quality standards of the repair vendors to carry out the repair work, and accepts no responsibility whatsoever for any work that may be carried out by a vendor, other than when IAE is listed as the repair vendor. Authorized repair vendors do not act as agents or representatives of IAE.
NOTE
Preliminary Requirements
Pre-Conditions
NONESupport Equipment
NONEConsumables, Materials and Expendables
NONESpares
NONESafety Requirements
NONEProcedure
Use illuminated magnifier.
Refer to the SPM TASK 70-34-03-340-501.
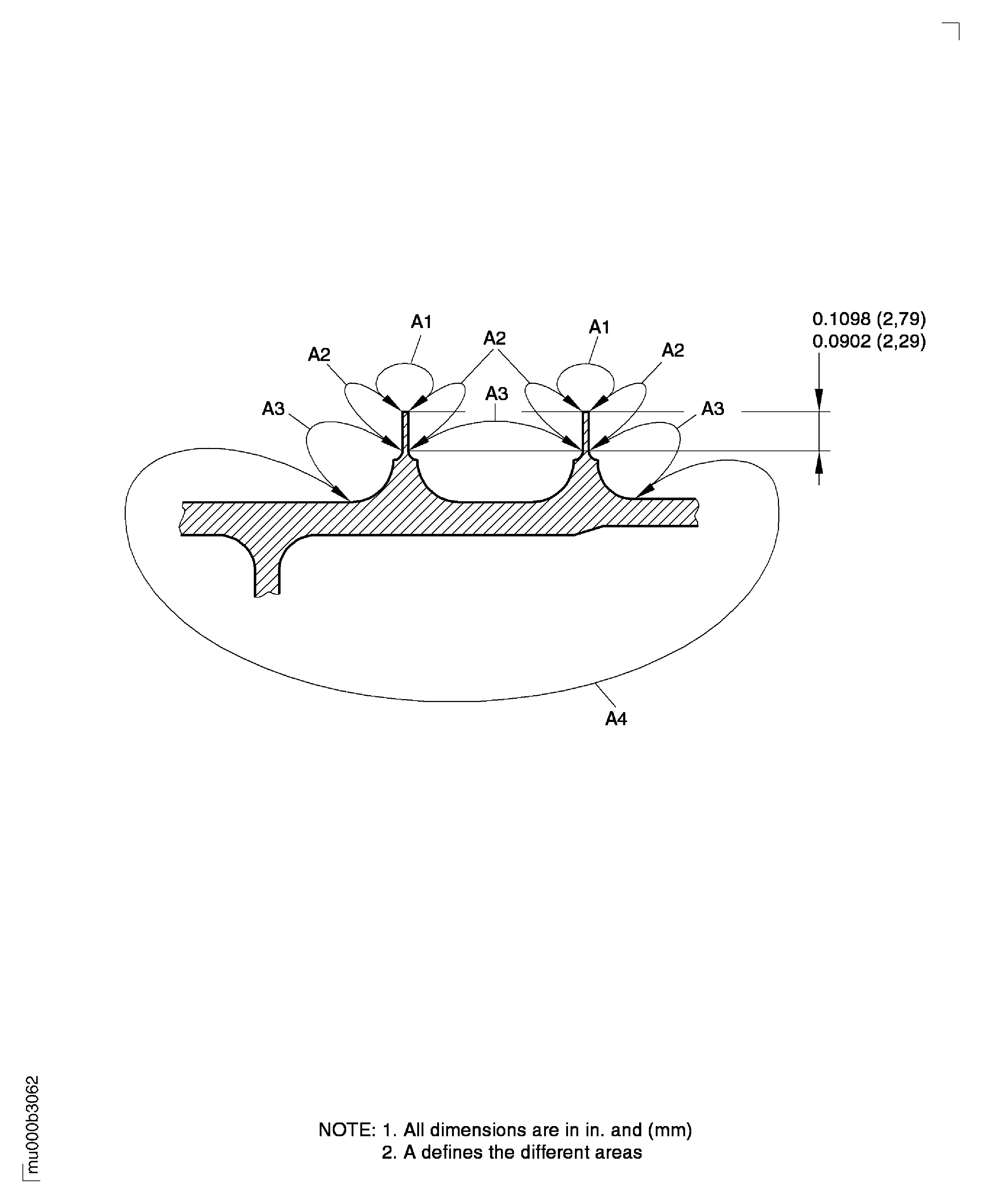
In Area A2 missing coating particles of 0.030 in. (0.76 mm) maximum size is permitted if distance between chipped coating areas is 1.000 in. (25.4 mm) minimum.
Examine the diameter D1 dimensionally.
SUBTASK 72-50-33-220-066 Do the Post Repair Inspection
Figure: Repair Details and Dimensions
Sheet 1

Figure: Repair Details and Dimensions
Sheet 2

Figure: Repair Details and Dimensions
Repair Details and Dimensions

