Export Control
EAR Export Classification: Not subject to the EAR per 15 C.F.R. Chapter 1, Part 734.3(b)(3), except for the following Service Bulletins which are currently published as EAR Export Classification 9E991: SBE70-0992, SBE72-0483, SBE72-0580, SBE72-0588, SBE72-0640, SBE73-0209, SBE80-0024 and SBE80-0025.Copyright
© IAE International Aero Engines AG (2001, 2014 - 2021) The information contained in this document is the property of © IAE International Aero Engines AG and may not be copied or used for any purpose other than that for which it is supplied without the express written authority of © IAE International Aero Engines AG. (This does not preclude use by engine and aircraft operators for normal instructional, maintenance or overhaul purposes.).Applicability
All
Common Information
TASK 72-50-53-300-058 Turbine Exhaust Case (TEC) - Chromium Plate The Bearing Bore, Repair-058 (VRS3113)
Effectivity
FIG/ITEM PART NO. | |
|---|---|
21-300 | 2A1209-01 |
21-300 | 2A2620-01 |
21-300 | 2A3111-01 |
21-300 | 2A3183-01 |
21-300 | 2A3455-01 |
21-300 | 2A3183-101 |
21-300 | 2A4258-01 |
21-300 | 2A4263-01 |
General
Price and availability - refer to IAE
The practices and processes referred to in the procedure by the TASK numbers are in the SPM.
Preliminary Requirements
Pre-Conditions
NONESupport Equipment
NONEConsumables, Materials and Expendables
NONESpares
NONESafety Requirements
NONEProcedure
Remove the chromium plate that is on the part by the SPM TASK 70-33-02-100-501. If chromium plate is not removed fully by the SPM TASK 70-33-02-100-501, then you do a grind operation to remove the chromium plate.
If there is chromium plate.
SUBTASK 72-50-53-320-103 Machine the Diameter of the Bearing Bore
Refer to the SPM TASK 70-11-03-300-503.
Clean the turbine exhaust case.
SUBTASK 72-50-53-110-194 Clean the Turbine Exhaust Case
Refer to the SPM TASK 70-23-05-230-501.
Use medium sensitivity, water washable. No cracks are permitted.
If you did grind operation to remove chromium plate then you do a local fluorescent penetrant inspection of the repair area.
SUBTASK 72-50-53-230-092 Examine the Turbine Exhaust Case
Refer to the SPM TASK 70-11-26-300-503.
Clean the repair area locally.
SUBTASK 72-50-53-110-195 Clean the Repair Area of Turbine Exhaust Case
Refer to the SPM TASK 70-33-02-100-501.
NOTE
The shot peen procedure is optional. Parts that are shot peened do not have to be baked.
Shot peen the surface to be plated.
SUBTASK 72-50-53-330-067 Shot Peen the Turbine Exhaust Case
Refer to the SPM TASK 70-38-24-300-503.
Apply a mask to the areas not to be plated.
Refer to the SPM TASK 70-33-02-100-501.
Apply the plating to a sufficient thickness to permit finish machining.
NOTE
Plating outside the designated area is permitted but must be removed.
Chromium plate the bearing bore.
SUBTASK 72-50-53-330-068 Chromium Plate the Bearing Bore of the Turbine Exhaust Case
Refer to the SPM TASK 70-33-02-100-501.
This procedure can be omitted if you have shot peened the case.
Bake after chromium plate.
SUBTASK 72-50-53-370-075 Bake the Turbine Exhaust Case after Chromium Plate
Refer to the SPM TASK 70-11-03-300-503.
Clean the turbine exhaust case.
SUBTASK 72-50-53-110-196 Clean the Turbine Exhaust Case
Make a permanent mark by the procedure given in the SPM TASK 70-09-00-400-501. Use vibration peen procedure. Remove high material caused by marking the number.
Mark VRS3113 on the repaired turbine exhaust case adjacent to the part number.
SUBTASK 72-50-53-350-222 Identify the Repair
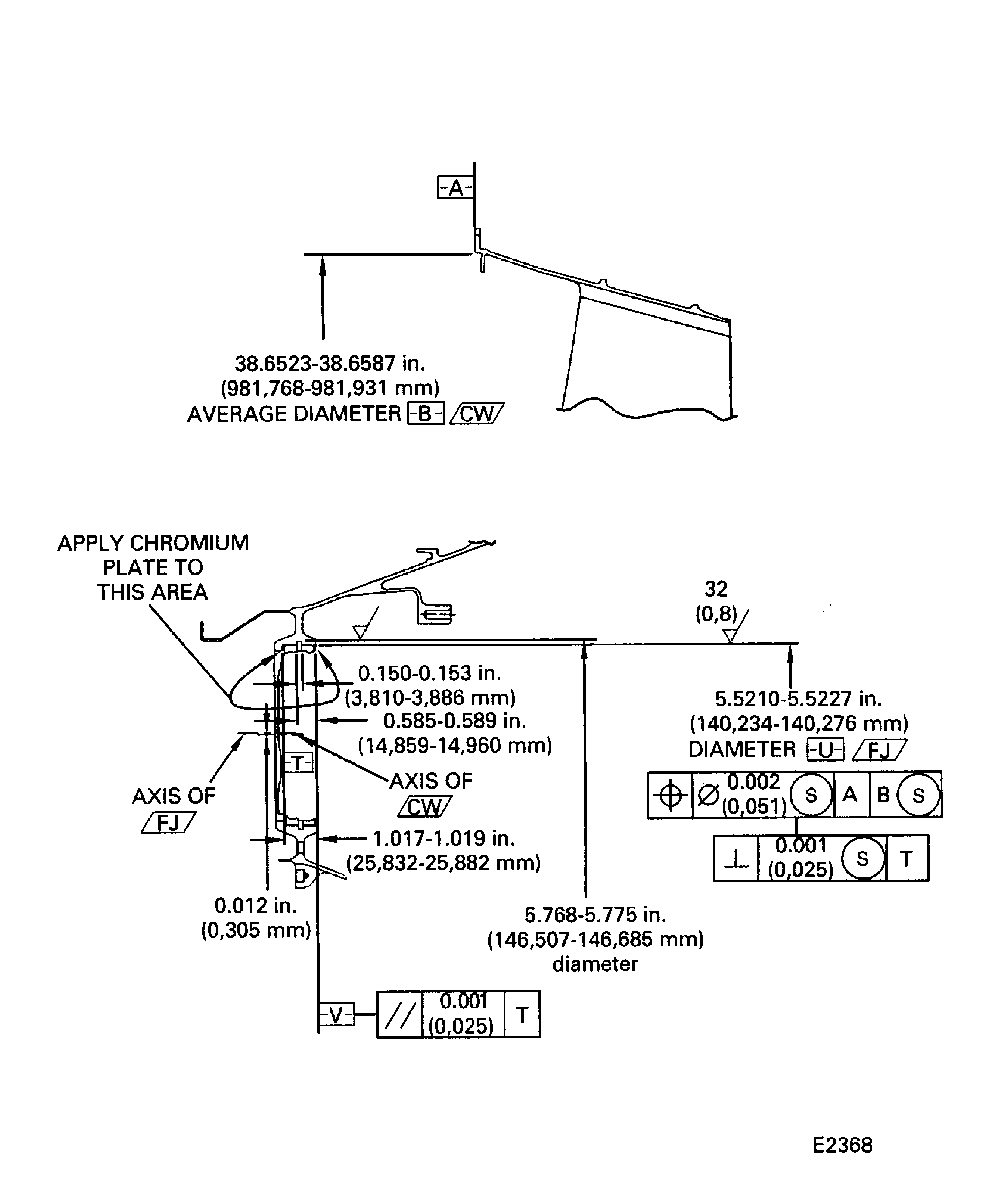
Figure: Repair Details and Dimensions
Repair Details and Dimensions

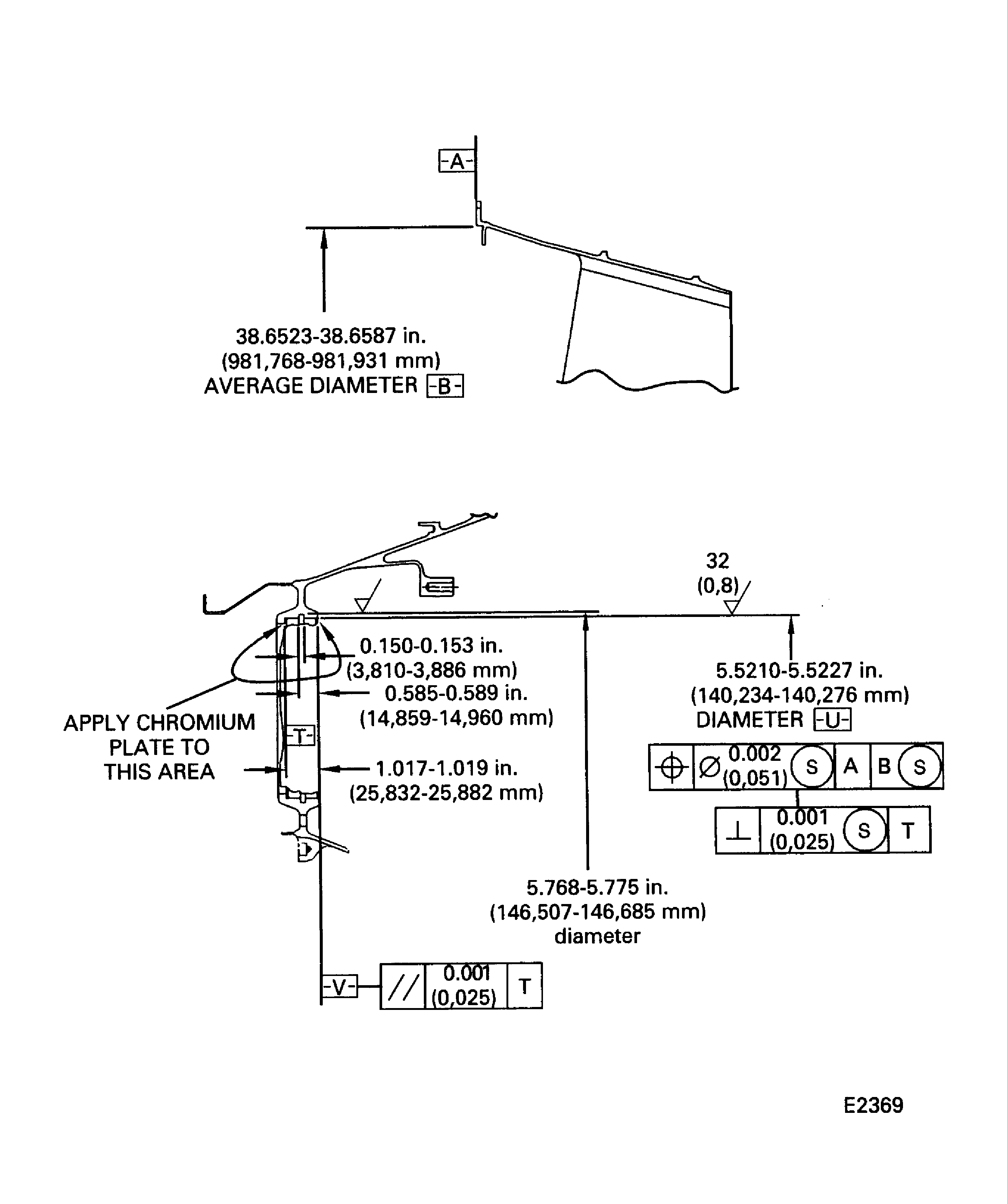
Figure: Repair Details and Dimensions
Repair Details and Dimensions

