Export Control
EAR Export Classification: Not subject to the EAR per 15 C.F.R. Chapter 1, Part 734.3(b)(3), except for the following Service Bulletins which are currently published as EAR Export Classification 9E991: SBE70-0992, SBE72-0483, SBE72-0580, SBE72-0588, SBE72-0640, SBE73-0209, SBE80-0024 and SBE80-0025.Copyright
© IAE International Aero Engines AG (2001, 2014 - 2021) The information contained in this document is the property of © IAE International Aero Engines AG and may not be copied or used for any purpose other than that for which it is supplied without the express written authority of © IAE International Aero Engines AG. (This does not preclude use by engine and aircraft operators for normal instructional, maintenance or overhaul purposes.).Applicability
All
Common Information
TASK 72-60-21-300-034 Main Gearbox Casing - Repair The Bearing Mating Surface Of The Hydraulic Pump By Flanged Bushing, Repair-034 (VRS5269)
Effectivity
FIG/ITEM | PART NO. |
|---|---|
02-050 | 4B0053 |
02-050 | 4B0054 |
02-050 | 4B0055 |
02-050 | 4B0057 |
02-050 | 4B0400 |
02-050 | 4B0402 |
Material of component
PART IDENT | SYMBOL | MATERIAL |
|---|---|---|
Casing | Aluminum alloy | |
Flanged Bushing | Wrought aluminum base alloy |
General
NOTE
NOTE
Preliminary Requirements
Pre-Conditions
NONESupport Equipment
| Name | Manufacturer | Part Number / Identification | Quantity | Remark |
|---|---|---|---|---|
| Arbor Press | LOCAL | Arbor press | ||
| Freezer | LOCAL | Freezer | ||
| IAE 3F10428 Guide pin | 0AM53 | IAE 3F10428 | 1 | |
| IAE 3F10336 Drift, bushing (dia 67) | 0AM53 | IAE 3F10336 | ||
| Magnifying Glass | LOCAL | Magnifying Glass | ||
| Oven | LOCAL | Oven | ||
| Workshop inspection equipment | LOCAL | Workshop inspection equipment |
Consumables, Materials and Expendables
NONESpares
| Name | Manufacturer | Part Number / Identification | Quantity | Remark |
|---|---|---|---|---|
| Bushing | 4L0008 | 1 |
Safety Requirements
NONEProcedure
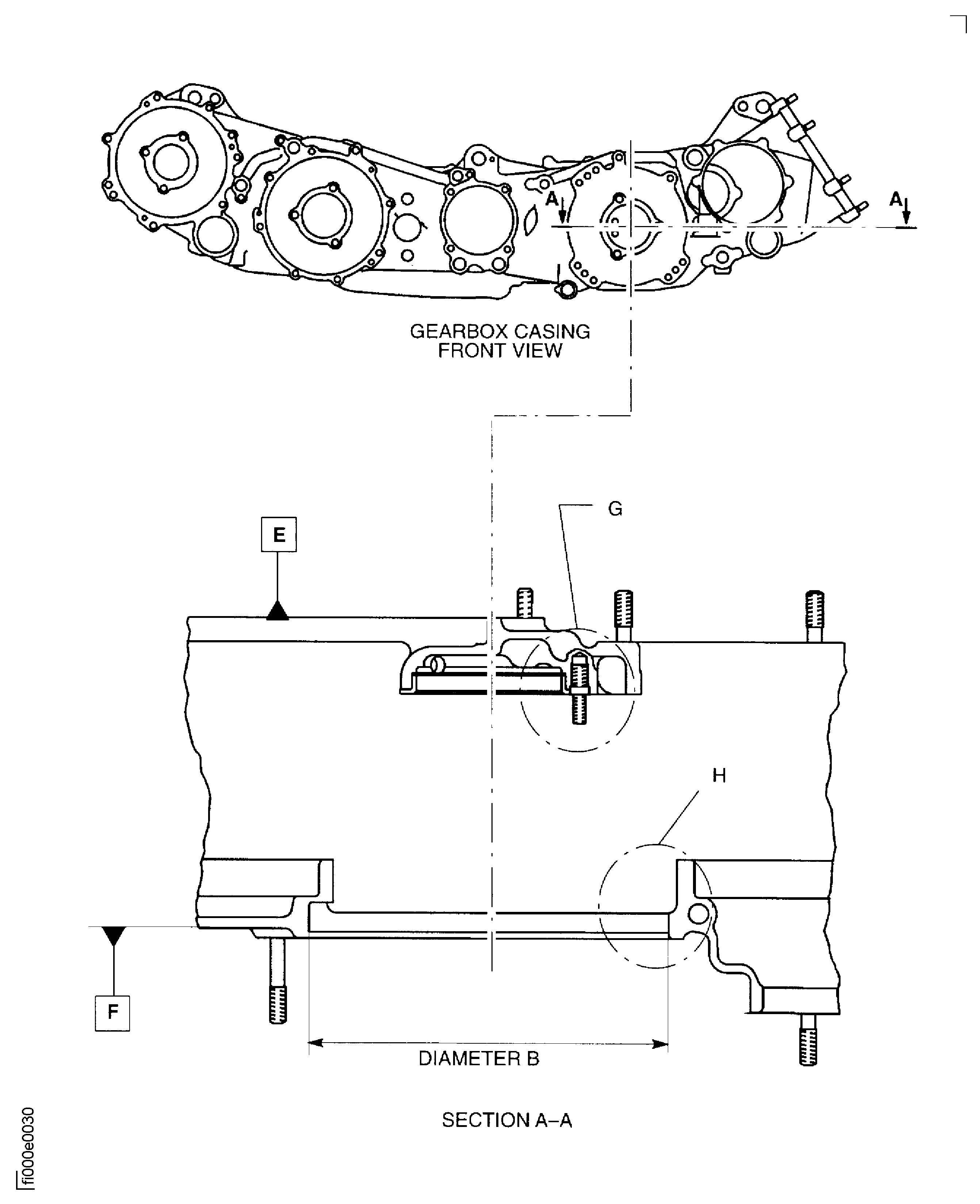
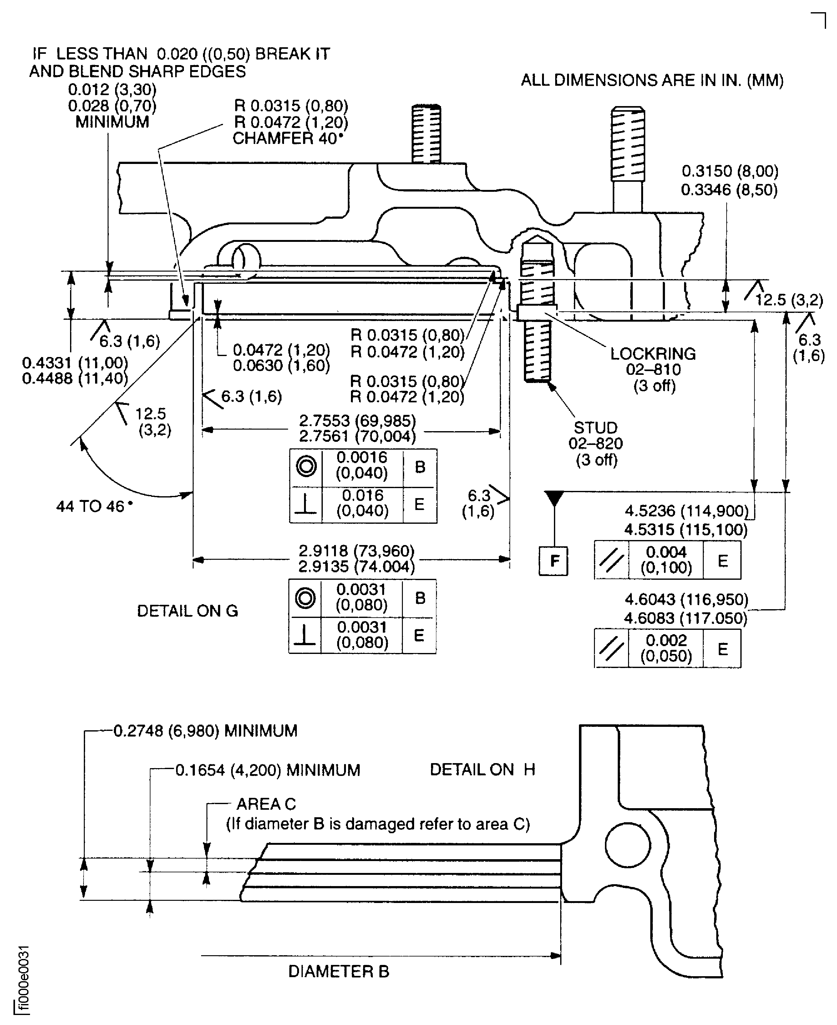
Refer to Figure.
Refer to repair VRS5255 TASK 72-60-21-300-004 (REPAIR-004).
Remove the studs and lock rings.
SUBTASK 72-60-21-350-121 Remove the Studs
Refer to Figure.
SUBTASK 72-60-21-320-108 Machine the Hydraulic Pump Bearing Bore in the Gearbox Casing
Refer to Figure.
SUBTASK 72-60-21-320-109 Machine the Hydraulic Pump Bearing Mating Face in the Gearbox Casing
Refer to TASK 70-38-02-300-503.
Apply the chromate conversion coating to the machined surfaces.
SUBTASK 72-60-21-330-097 Apply the Chromate Conversion Coating
Refer to Figure.
Put IAE 3F10428 Guide pin 1 off in threaded hole on bearing mating face, adjacent to machined bore.
Install the guide pin.
Install the bushing on the IAE 3F10336 Drift, bushing (dia 67) 1 off.
Do not increase the temperature of the casing above 284 deg F (140 deg C).
Do not decrease the temperature of the assembled drift and bushing below minus 58 deg F (minus 50 deg C).

WARNING
DO NOT TOUCH THE HOT PARTS WITHOUT PROTECTIVE GLOVES.
WARNING
HOT PARTS CAN CAUSE REDDENING AND BLISTERING OF THE SKIN IF THE HANDS ARE NOT PROTECTED.
WARNING
IMMERSE THE CONTACTED AREA IN COLD WATER FOR 10 MINUTES IF THE SKIN IS BURNED. IMMEDIATELY GET THE MEDICAL ATTENTION IF PAIN OR BLISTERING PERSISTS.Increase the temperature of the casing and/or decrease the temperature of the assembled drift and bushing.
Use IAE 3F10336 Drift, bushing (dia 67) and arbor press.
Give sufficient back-up support at bushing bore area to prevent casing distortion when you install the bushing.

CAUTION
INSTALL BUSHING IN MACHINED BORE IMMEDIATELY AFTER REMOVAL FROM FREEZER, OTHERWISE BUSHING CANNOT BE CORRECTLY INSTALLED.Install the bushing into machined bore.
SUBTASK 72-60-21-350-122 Install the Flanged Bushing
Refer to Figure.
SUBTASK 72-60-21-320-110 Machine the Inner Diameter of the Flanged Bushing
Refer to Figure.
SUBTASK 72-60-21-320-111 Machine the Flange Surface of the Bushing
Refer to TASK 70-38-02-300-503.
Apply the chromate conversion coating to the machined surface of the bushing.
SUBTASK 72-60-21-330-098 Apply the Chromate Conversion Coating
Refer to Figure.
Refer to repair VRS5255 TASK 72-60-21-300-004 (REPAIR-004).
Refer to TASK 70-38-02-300-503.
Install the new studs and the new lockrings.
SUBTASK 72-60-21-350-123 Install New Studs
Refer to Figure.
Refer to TASK 70-09-00-400-501, SUBTASK 70-09-00-400-001 .
Make a mark VRS5269 adjacent to the part number.
SUBTASK 72-60-21-350-124 Identify the Repair
Figure: Repair Details And Dimensions
Sheet 1

Figure: Repair Details And Dimensions
Sheet 2

