Export Control
EAR Export Classification: Not subject to the EAR per 15 C.F.R. Chapter 1, Part 734.3(b)(3), except for the following Service Bulletins which are currently published as EAR Export Classification 9E991: SBE70-0992, SBE72-0483, SBE72-0580, SBE72-0588, SBE72-0640, SBE73-0209, SBE80-0024 and SBE80-0025.Copyright
© IAE International Aero Engines AG (2001, 2014 - 2021) The information contained in this document is the property of © IAE International Aero Engines AG and may not be copied or used for any purpose other than that for which it is supplied without the express written authority of © IAE International Aero Engines AG. (This does not preclude use by engine and aircraft operators for normal instructional, maintenance or overhaul purposes.).Applicability
All
Common Information
TASK 72-60-22-300-017 Starter Drive Gear - Chromium Plate The Front Bearing Shoulder, Repair-017 (VRS5130)
General
NOTE
Preliminary Requirements
Pre-Conditions
NONESupport Equipment
| Name | Manufacturer | Part Number / Identification | Quantity | Remark |
|---|---|---|---|---|
| Workshop inspection equipment | LOCAL | Workshop inspection equipment | ||
| Grinding machine | LOCAL | Grinding machine | ||
| Magnetizing unit | LOCAL | Magnetizing unit | (Refer to SPM TASK 70-24-01-240-501) | |
| Demagnetizing unit | LOCAL | Demagnetizing unit | (Refer to SPM TASK 70-24-01-240-501) | |
| Hot oil tank | LOCAL | Hot oil tank | ||
| Pressure Shotpeen System | LOCAL | Pressure Shotpeen System | (Refer to SPM TASK 70-38-04-300-503 | |
| Basket | LOCAL | Basket | ||
| Vapor degreaser | LOCAL | Vapor degreaser | (Refer to SPM TASK 70-11-01-300-503) | |
| Process Plating Tanks | LOCAL | Process plating tanks | (Refer to SPM TASK 70-33-02-330-501) | |
| Furnace | LOCAL | Furnace | ||
| Magnifying glass | LOCAL | Magnifying glass | ||
| Vibrating marking pencil | LOCAL | Vibrating marking pencil |
Consumables, Materials and Expendables
| Name | Manufacturer | Part Number / Identification | Quantity | Remark |
|---|---|---|---|---|
| CoMat 01-001 SOLVENT, DELETED | 0AM53 | CoMat 01-001 | ||
| CoMat 01-007 ETHYL ALCOHOL C2H5OH (DENATURED) | LOCAL | CoMat 01-007 | ||
| CoMat 01-022 SODIUM HYDROXIDE NaOH (SOLID) | LOCAL | CoMat 01-022 | ||
| CoMat 01-023 CHROMIUM TRIOXIDE CrO3(CHROM.ACID) | LOCAL | CoMat 01-023 | ||
| CoMat 01-030 SODIUM CARBONATE Na2CO3 | LOCAL | CoMat 01-030 | ||
| CoMat 01-043 SULFURIC ACID H2SO4 | LOCAL | CoMat 01-043 | ||
| CoMat 01-044 SODIUM METASILICATE Na2SiO3.5H2O | LOCAL | CoMat 01-044 | ||
| CoMat 01-058 NITRIC ACID HNO3 | LOCAL | CoMat 01-058 | ||
| CoMat 01-079 TRI-SODIUM PHOSPHATE Na3PO4+12H2O | LOCAL | CoMat 01-079 | ||
| CoMat 01-099 HYDROCHLORIC ACID | K6835 | CoMat 01-099 | ||
| CoMat 01-341 ADDITIVE - DELETED | IE540 | CoMat 01-341 | ||
| CoMat 01-342 RUST REMOVER - DELETED | LOCAL | CoMat 01-342 | ||
| CoMat 02-017 WAX | LOCAL | CoMat 02-017 | ||
| CoMat 02-034 METALLIC MASKING TAPE(LEAD FOIL) | 76381 | CoMat 02-034 | ||
| CoMat 05-030 CAST STEEL SHOT DELETED | 0AM53 | CoMat 05-030 | ||
| CoMat 10-023 MINERAL OIL | 73277 | CoMat 10-023 |
Spares
NONESafety Requirements
NONEProcedure
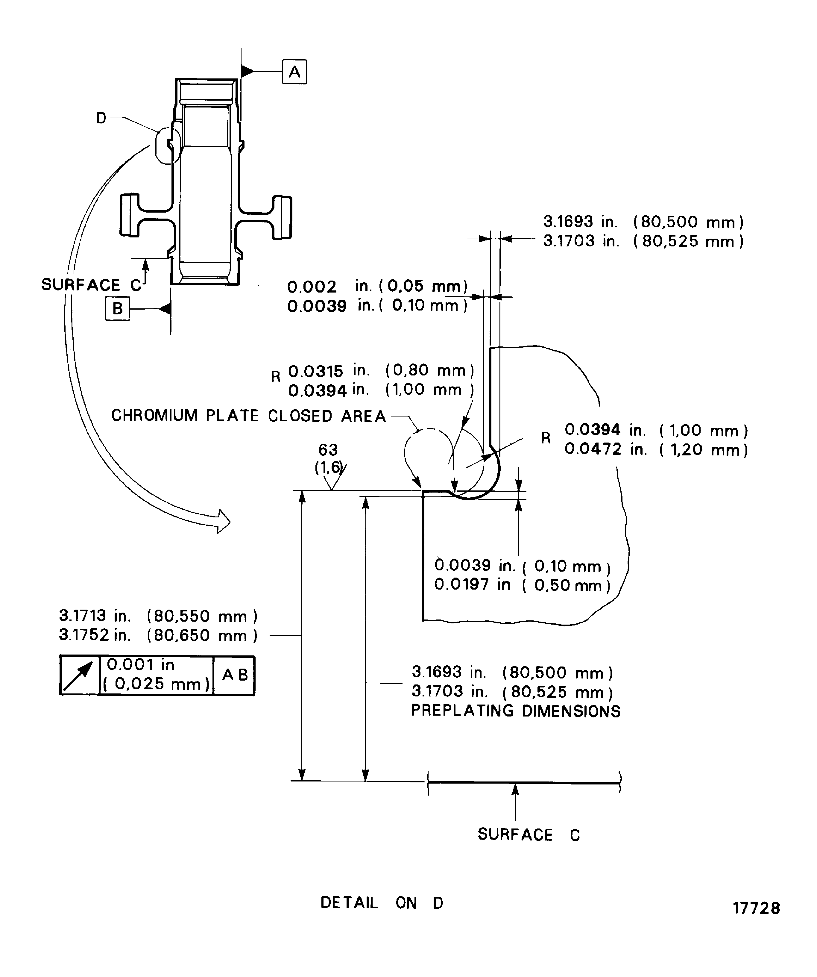
Refer to Figure.
SUBTASK 72-60-22-320-057 Machine the Front Bearing Shoulder of the Starter Drive Gear
Refer to the SPM TASK 70-24-01-240-501.
No cracks are permitted.
Do the magnetic particle inspection for cracks.
SUBTASK 72-60-22-240-054 Examine the Starter Drive Gear
Refer to the SPM TASK 70-21-02-210-501.
Machine the front bearing shoulder if there is sign of burned metal.
Keep the removal of material to the minimum necessary to remove the damage.
Do the nital etch on the front bearing shoulder to find sign of burned metal.
SUBTASK 72-60-22-210-051 Nital Etch the Front Bearing Shoulder
Refer to the SPM TASK 70-38-04-300-503.
Shot-peen the front bearing shoulder surface to an intensity of 0.006A to 0.008Ain.
SUBTASK 72-60-22-380-051 Shot-peen the Front Bearing Shoulder
Refer to the TASK 70-11-01-300-503.
Do the vapor degreasing.
SUBTASK 72-60-22-110-054 Remove the Grease from the Starter Drive Gear
Refer to Figure.
Use CoMat 02-017 WAX.
Mask the areas of the gear not to be plated.
Refer to the SPM TASK 70-33-02-330-501.
Plate to a sufficient thickness to permit the machining to the last dimensions.
Refer to the figure.
The plating out of the closed areas is permitted but must be removed.
Chromium plate the bearing shoulder.
SUBTASK 72-60-22-330-054 Chromium Plate the Front Bearing Shoulder
Refer to Figure.
SUBTASK 72-60-22-320-058 Machine the Front Bearing Shoulder of the Starter Drive Gear
Refer to Figure.
SUBTASK 72-60-22-220-076 Examine the Chromium Plated Areas
Figure: Repair details and dimensions
Repair details and dimensions

