Export Control
EAR Export Classification: Not subject to the EAR per 15 C.F.R. Chapter 1, Part 734.3(b)(3), except for the following Service Bulletins which are currently published as EAR Export Classification 9E991: SBE70-0992, SBE72-0483, SBE72-0580, SBE72-0588, SBE72-0640, SBE73-0209, SBE80-0024 and SBE80-0025.Copyright
© IAE International Aero Engines AG (2001, 2014 - 2021) The information contained in this document is the property of © IAE International Aero Engines AG and may not be copied or used for any purpose other than that for which it is supplied without the express written authority of © IAE International Aero Engines AG. (This does not preclude use by engine and aircraft operators for normal instructional, maintenance or overhaul purposes.).Applicability
All
Common Information
TASK 72-60-23-300-005 Hydraulic Pump Drive Gear Housing - Repair The Seal Housing Mating Surface By Flanged Bushing, Repair-005 (VRS5038)
Material of component
RR | ||
|---|---|---|
DESCRIPTION SYMBOL MATERIAL | ||
Housing | - | Aluminum alloy |
Flanged bushing | - | Wrougt aluminum base alloy |
General
Price and availability - none
The practices and processes referred to in the procedure by the TASK numbers are in the SPM.
NOTE
To identify the consumable materials refer to the PCI.
Other consumable materials are given in the SPM.
Preliminary Requirements
Pre-Conditions
NONESupport Equipment
| Name | Manufacturer | Part Number / Identification | Quantity | Remark |
|---|---|---|---|---|
| IAE 3F10336 Drift, bushing (dia 67) | 0AM53 | IAE 3F10336 | 1 | |
| IAE 3F10438 Guide pin | 0AM53 | IAE 3F10438 | 1 | |
| Magnifying Glass, 5x | LOCAL | Magnifying Glass, 5x | ||
| Oven | LOCAL | Oven | ||
| Penetrant Crack Test Equipment | LOCAL | Penetrant crack test equipment | ||
| Process Plating Tanks | LOCAL | Process plating tanks | ||
| Vibro-engraving equipment | LOCAL | Vibro-engraving equipment |
Consumables, Materials and Expendables
| Name | Manufacturer | Part Number / Identification | Quantity | Remark |
|---|---|---|---|---|
| CoMat 01-001 SOLVENT, DELETED | X111X | CoMat 01-001 |
Safety Requirements
NONEProcedure
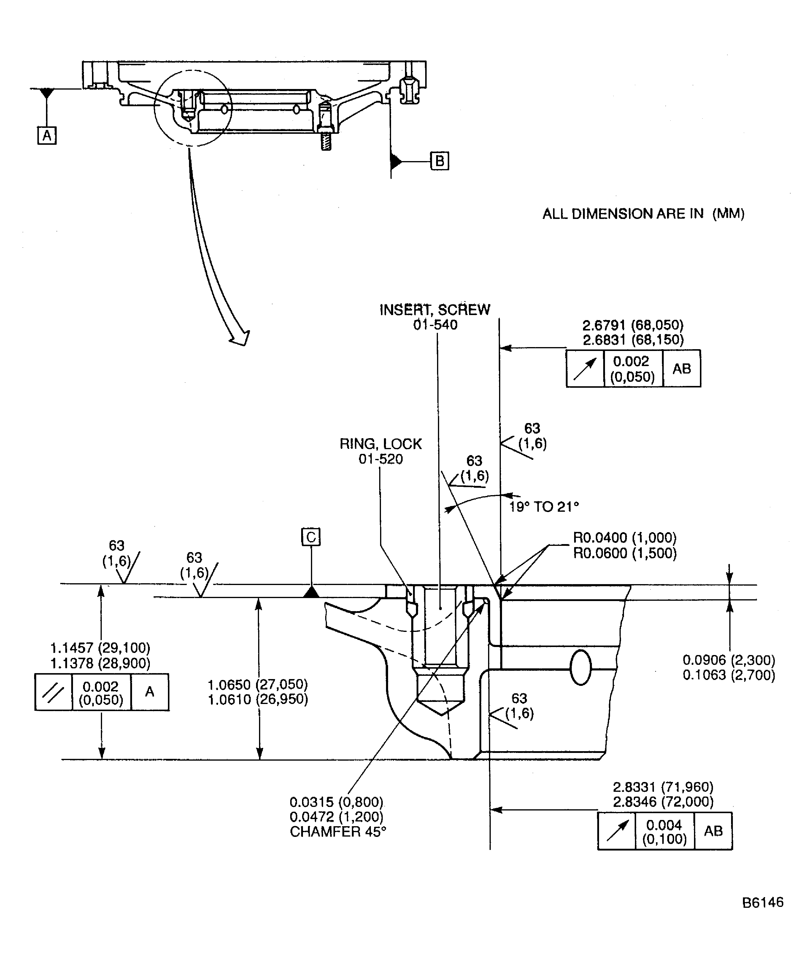
Refer to Figure.
Refer to Repair, VRS5036, TASK 72-60-23-300-003.
Remove the lock rings and the screw insert.
SUBTASK 72-60-23-350-066 Remove the Threaded Inserts
Refer to Figure.
SUBTASK 72-60-23-320-065 Machine the Seal Housing Bore in the Hydraulic Pump Housing
Refer to Figure.
SUBTASK 72-60-23-320-066 Machine the Seal Housing Mating Surface in the Hydraulic Pump Housing
Refer to the SPM TASK 70-38-02-300-503.
Apply the chromate conversion coating to the machined surfaces.
SUBTASK 72-60-23-330-059 Apply the Chromate Conversion Coating
Refer to Figure.
Put IAE 3F10438 Guide pin 1 off in threaded hole, on seal housing mating surface, adjacent to machined bore.
Install the guide pin.
Install the flanged bushing on the IAE 3F10336 Drift, bushing (dia 67) 1 off.
Do not increase the temperature of the housing above 284 deg F (140 deg C). Do not decrease the temperature of the assembled drift and flanged bushing below -58 deg F (-50 deg C).
NOTE
The difference in temperature, between the parts, must be 216 deg F (120 deg C).

WARNING
DO NOT TOUCH THE HOT PARTS WITHOUT PROTECTIVE GLOVES.HOT PARTS CAN CAUSE REDDENING AND BLISTERING OF THE SKIN, IF THE HANDS ARE NOT PROTECTED.IMMERSE THE CONTACTED AREA IN COLD WATER FOR 10 MINUTES, IF THE SKIN IS BURNED. IMMEDIATELY GET MEDICAL ATTENTION IF PAIN OR BLISTERING PERSISTS.Increase the temperature of the housing and/or decrease the temperature of the assembled drift and flanged bushing.
Use IAE 3F10336 Drift, bushing (dia 67) drift and an arbor press.
Give sufficient back-up support at bushing bore area, to prevent housing distortion, when you install the flanged bushing.

CAUTION
INSTALL THE FLANGED BUSHING IN MACHINED BORE IMMEDIATELY AFTER REMOVAL FROM FREEZER, OTHERWISE FLANGED BUSHING CANNOT BE CORRECTLY INSTALLED.Install the flanged bushing into the machined bore.
SUBTASK 72-60-23-350-067 Install the Flanged Bushing
Refer to Figure.
SUBTASK 72-60-23-320-067 Machine the Inner Diameter of the Flanged Bushing
Refer to Figure.
SUBTASK 72-60-23-320-068 Machine the Flange Surface of the Flanged Bushing
Refer to the SPM TASK 70-38-02-300-503.
Apply the chromate conversion coating to the machined surface of the bushing.
SUBTASK 72-60-23-330-060 Apply the Chromate Conversion Coating
Refer to Figure.
Refer to Repair, VRS5036, TASK 72-60-23-300-004.
Install the new screw inserts and the new lock rings.
SUBTASK 72-60-23-350-068 Install the New Threaded Inserts
Figure: Repair Details And Dimensions
Repair Details And Dimensions

