Export Control
EAR Export Classification: Not subject to the EAR per 15 C.F.R. Chapter 1, Part 734.3(b)(3), except for the following Service Bulletins which are currently published as EAR Export Classification 9E991: SBE70-0992, SBE72-0483, SBE72-0580, SBE72-0588, SBE72-0640, SBE73-0209, SBE80-0024 and SBE80-0025.Copyright
© IAE International Aero Engines AG (2001, 2014 - 2021) The information contained in this document is the property of © IAE International Aero Engines AG and may not be copied or used for any purpose other than that for which it is supplied without the express written authority of © IAE International Aero Engines AG. (This does not preclude use by engine and aircraft operators for normal instructional, maintenance or overhaul purposes.).Applicability
All
Common Information
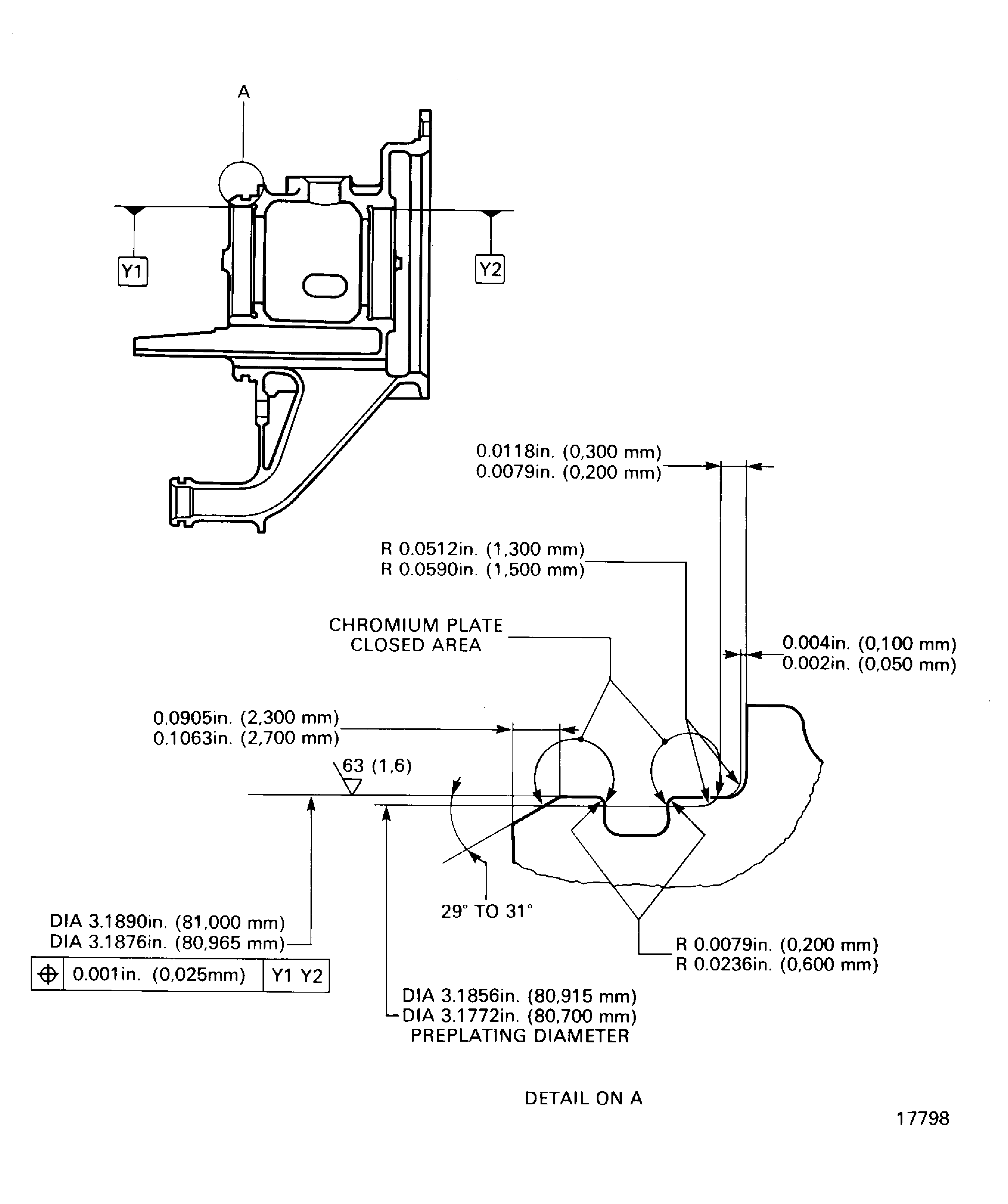
TASK 72-60-33-300-011 PMA Support - Chromium Plate The Rear Snap Diameter, Repair-011 (VRS5184)
General
Price and availability - none
The practices and processes referred to in the procedure by the TASK numbers are in the SPM.
NOTE
Preliminary Requirements
Pre-Conditions
NONESupport Equipment
| Name | Manufacturer | Part Number / Identification | Quantity | Remark |
|---|---|---|---|---|
| Workshop inspection equipment | LOCAL | Workshop inspection equipment | ||
| Grinding machine | LOCAL | Grinding machine | ||
| Magnetizing unit | LOCAL | Magnetizing unit | ||
| Demagnetizing unit | LOCAL | Demagnetizing unit | ||
| Pressure shotpeen system | LOCAL | Pressure shotpeen system | ||
| Basket | LOCAL | Basket | ||
| Vapor degreaser | LOCAL | Vapor degreaser | ||
| Process Plating Tanks | LOCAL | Process plating tanks | ||
| Furnace | LOCAL | Furnace | ||
| Magnifying Glass, 5x | LOCAL | Magnifying Glass, 5x | ||
| Vibrating marking pencil | LOCAL | Vibrating marking pencil |
Consumables, Materials and Expendables
| Name | Manufacturer | Part Number / Identification | Quantity | Remark |
|---|---|---|---|---|
| CoMat 01-001 SOLVENT, DELETED | 0AM53 | CoMat 01-001 | ||
| CoMat 01-022 SODIUM HYDROXIDE NaOH (SOLID) | LOCAL | CoMat 01-022 | ||
| CoMat 01-023 CHROMIUM TRIOXIDE CrO3(CHROM.ACID) | LOCAL | CoMat 01-023 | ||
| CoMat 02-034 METALLIC MASKING TAPE(LEAD FOIL) | 76381 | CoMat 02-034 | ||
| CoMat 02-017 WAX | LOCAL | CoMat 02-017 | ||
| CoMat 05-030 CAST STEEL SHOT DELETED | 0AM53 | CoMat 05-030 |
Spares
NONESafety Requirements
NONEProcedure
Refer to Figure.
SUBTASK 72-60-33-320-053 Machine the Rear Snap Diameter
Refer to the SPM TASK 70-24-01-240-501.
No cracks are permitted.
Do the magnetic particle inspection for cracks.
SUBTASK 72-60-33-240-054 Examine the PMA Support
Refer to the SPM TASK 70-38-04-300-503.
Shot-peen the rear snap diameter to an intensity of 0.006A to 0.008A in.
SUBTASK 72-60-33-380-051 Shot-peen the Rear Snap Diameter
Refer to the SPM TASK 70-11-01-300-503.
Do the vapor degreasing.
SUBTASK 72-60-33-110-054 Clean the PMA Support
Refer to Figure.
Use CoMat 02-017 WAX.
Apply a mask to the areas not to be plated.
Refer to the SPM TASK 70-33-02-330-501.
Plate to a sufficient thickness to permit the machining to the last dimension.
The plate out of the rear snap diameter area is permitted but must be removed.
Do the chromium plating.
SUBTASK 72-60-33-330-052 Chromium Plate the Rear Snap Diameter
Refer to Figure.
SUBTASK 72-60-33-320-054 Machine the Rear Snap Diameter
Use a Magnifying Glass, 5x.
The natural network crack, emphasized by grinding, is permitted.
Do the visual inspection of the chromium plated area for cracks and adhesion.
SUBTASK 72-60-33-220-077 Examine the Chromium Plated Area
Use the Vibrating marking pencil.
Remove the metal lifted by marking the number.
Vibro engrave VRS5184 adjacent to the part number.
SUBTASK 72-60-33-350-055 Record the Repair
Figure: Chromium plate the rear snap diameter
Chromium plate the rear snap diameter

