Export Control
EAR Export Classification: Not subject to the EAR per 15 C.F.R. Chapter 1, Part 734.3(b)(3), except for the following Service Bulletins which are currently published as EAR Export Classification 9E991: SBE70-0992, SBE72-0483, SBE72-0580, SBE72-0588, SBE72-0640, SBE73-0209, SBE80-0024 and SBE80-0025.Copyright
© IAE International Aero Engines AG (2001, 2014 - 2021) The information contained in this document is the property of © IAE International Aero Engines AG and may not be copied or used for any purpose other than that for which it is supplied without the express written authority of © IAE International Aero Engines AG. (This does not preclude use by engine and aircraft operators for normal instructional, maintenance or overhaul purposes.).Applicability
All
Common Information
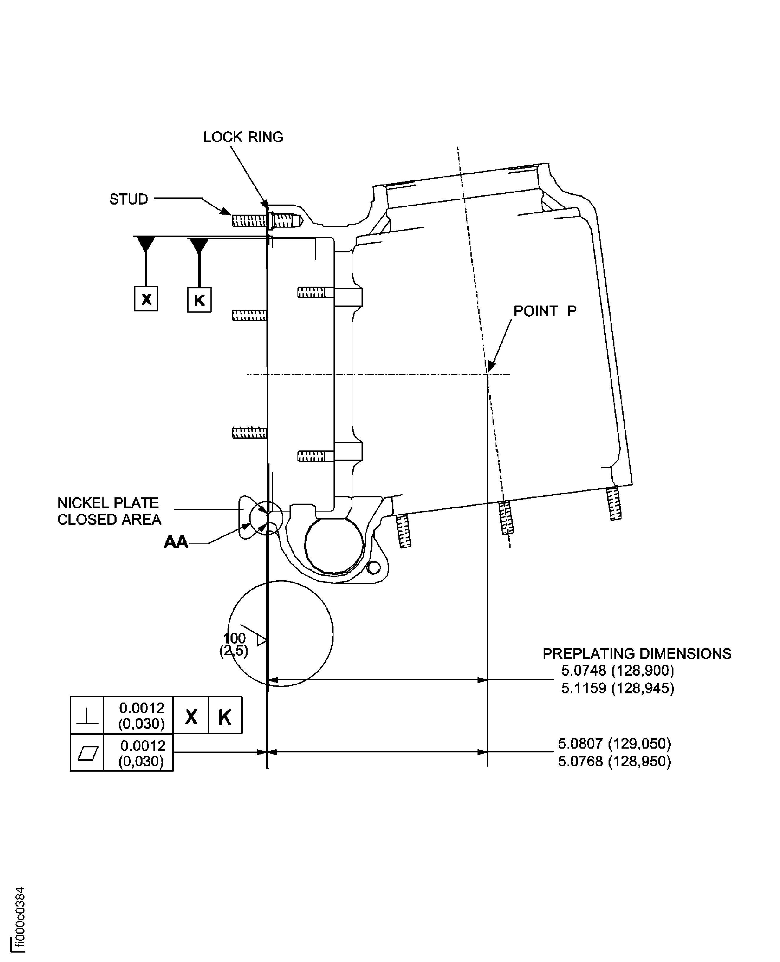
TASK 72-60-41-300-006 Angle Gearbox Casing - Nickel Plate The Angle Gearbox Support Mating Surface, Repair-006 (VRS5102)
General
Price and availability - none
The practices and processes referred to in the procedure by the TASK numbers are in the SPM.
NOTE
Preliminary Requirements
Pre-Conditions
NONESupport Equipment
| Name | Manufacturer | Part Number / Identification | Quantity | Remark |
|---|---|---|---|---|
| Workshop inspection equipment | LOCAL | Workshop inspection equipment | ||
| Grinding machine | LOCAL | Grinding machine | ||
| FPI inspection station | LOCAL | FPI inspection station | ||
| Basket | LOCAL | Basket | ||
| Vapor degreaser | LOCAL | Vapor degreaser | ||
| Process Plating Tanks | LOCAL | Process plating tanks | ||
| Oven | LOCAL | Oven | ||
| Magnifying glass, 4x | LOCAL | Magnifying glass, 4x | ||
| Vibrating marking pencil | LOCAL | Vibrating marking pencil |
Consumables, Materials and Expendables
| Name | Manufacturer | Part Number / Identification | Quantity | Remark |
|---|---|---|---|---|
| CoMat 02-067 STRIPPABLE COATING | 71410 | CoMat 02-067 |
Spares
NONESafety Requirements
NONEProcedure
Refer to Figure.
Refer to Repair, VRS5099 TASK 72-60-41-300-003 (REPAIR-003) for pre service bulletin 72-0492 parts.
Refer to Repair, VRS5694 TASK 72-60-41-300-017 (REPAIR-017) for post service bulletin 72-0492 parts.
Remove the studs and the lock rings or helicoil inserts.
SUBTASK 72-60-41-330-064 Remove the Studs or Helicoil Inserts
Refer to SPM TASK 70-23-05-230-501.
No cracks are permitted.
Do the local fluorescent penetrant inspection for cracks.
SUBTASK 72-60-41-220-094 Examine the Angle Gearbox Casing
Refer to SPM TASK 70-33-08-300-503.
Plate to a sufficient thickness to permit machining to the last dimensions.
The plating out of the casing mating surface is permitted but must be removed.
Do the nickel plating.
SUBTASK 72-60-41-330-065 Nickel Plate the Angle Gearbox Support Mating Surface of the Angle Gearbox Casing
Use a Magnifying glass, 4x. The natural network of crack, emphasized by grinding, is permitted.
Do the visual inspection of the plated area for cracks and adhesion.
SUBTASK 72-60-41-220-093 Examine the Nickel Plated Area
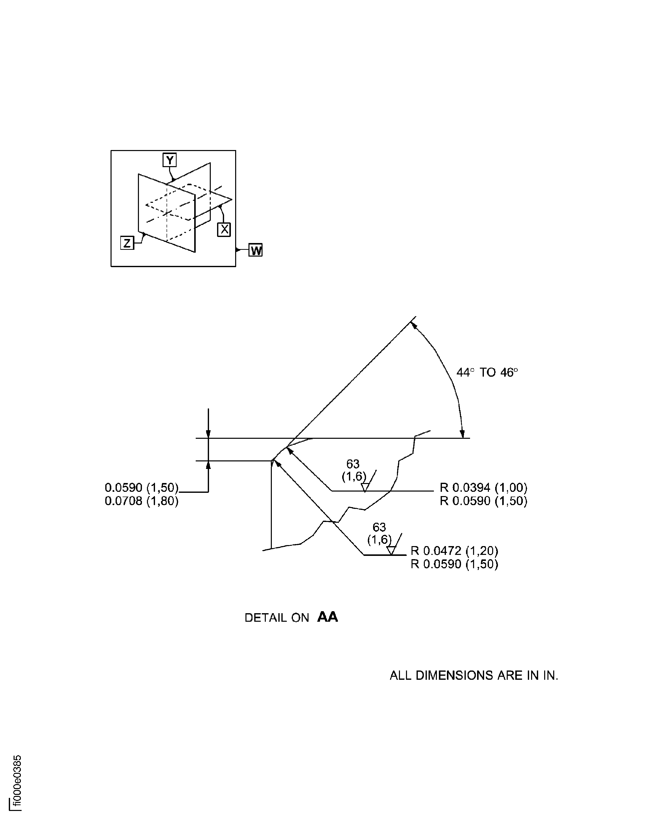
Refer to Figure.
Refer to Repair, VRS5099 TASK 72-60-41-300-003 (REPAIR-003) for pre service bulletin 72-0492 parts.
Refer to Repair, VRS5694 TASK 72-60-41-300-017 (REPAIR-017) for post service bulletin 72-0492 parts.
Install the new studs and the new lock rings or helicoils.
SUBTASK 72-60-41-350-073 Install the New Studs or Helicoils
Refer to SPM TASK 70-09-00-400-501, SUBTASK 70-09-00-400-001.
Make a mark VRS5102 adjacent to the part number.
SUBTASK 72-60-41-350-074 Record the Repair
Figure: Nickel plate the mating surface of the angle gearbox casing
Nickel plate the mating surface of the angle gearbox casing

Figure: Nickel plate the mating surface of the angle gearbox casing
Nickel plate the mating surface of the angle gearbox casing

