Export Control
EAR Export Classification: Not subject to the EAR per 15 C.F.R. Chapter 1, Part 734.3(b)(3), except for the following Service Bulletins which are currently published as EAR Export Classification 9E991: SBE70-0992, SBE72-0483, SBE72-0580, SBE72-0588, SBE72-0640, SBE73-0209, SBE80-0024 and SBE80-0025.Copyright
© IAE International Aero Engines AG (2001, 2014 - 2021) The information contained in this document is the property of © IAE International Aero Engines AG and may not be copied or used for any purpose other than that for which it is supplied without the express written authority of © IAE International Aero Engines AG. (This does not preclude use by engine and aircraft operators for normal instructional, maintenance or overhaul purposes.).Applicability
All
Common Information
TASK 75-23-52-200-401 Stage 10 Air Solenoid Valve - Related Parts - Examine The Bracket Assembly, Inspection-001
General
This TASK gives the procedure for the inspection of the stage 10 air solenoid valve bracket. For the other stage 10 air solenoid valve parts, refer to Inspection-000 TASK 75-23-52-200-400.
Fig/item numbers in parentheses in the procedure agree with those used in the IPC. Only the primary Fig/item numbers are used. For the service bulletin alpha variants refer to the IPC.
All the parts must be cleaned before they are examined. Refer to Cleaning-000 TASK 75-23-52-100-400.
All the parts must be visually examined for damage, corrosion and wear. Defects that are not identified in the procedure must be referred to IAE.
A ** following repair referenced in this inspection indicates that the repair is not yet published in the current revision of the manual and the part must be rejected. Contact IAE for additional information concerning FAA approved repair date.
Do not discard a part until you are sure there are not repairs available. Refer to the instructions in Repair before a discarded part is used again or oversize parts are installed.
Parts which must be discarded can be held although no repair is available. The repair of a discarded part could be shown to be necessary at a subsequent date.
All the parts must be examined to make sure that all the repairs have been completed satisfactorily.
Practices and processes referred to by the TASK/SUBTASK number in the procedure, are in the SPM.
References
Refer to the SPM for data on these items.
Definitions of Damage, SPM TASK 70-02-02-350-501.
Inspection of Parts, SPM TASK 70-20-01-200-501.
Some data on these items is contained in this TASK. For more data on these items refer to the SPM.
Method of Testing for Crack Indications
Chemical processes
Surface Protection
Preliminary Requirements
Pre-Conditions
NONESupport Equipment
| Name | Manufacturer | Part Number / Identification | Quantity | Remark |
|---|---|---|---|---|
| Fluorescent Penetrant Inspection Equipment | LOCAL | Fluorescent Penetrant Inspection Equipment |
Consumables, Materials and Expendables
NONESpares
NONESafety Requirements
NONEProcedure
Clean the parts. Refer to Cleaning-000 TASK 75-23-52-100-400.
Reject
Cracked
Bracket. Refer to SPM TASK 70-23-02-230-501.
Do the test for cracks on the parts that are given below. Use the applicable Fluorescent Penetrant Inspection Equipment procedure.
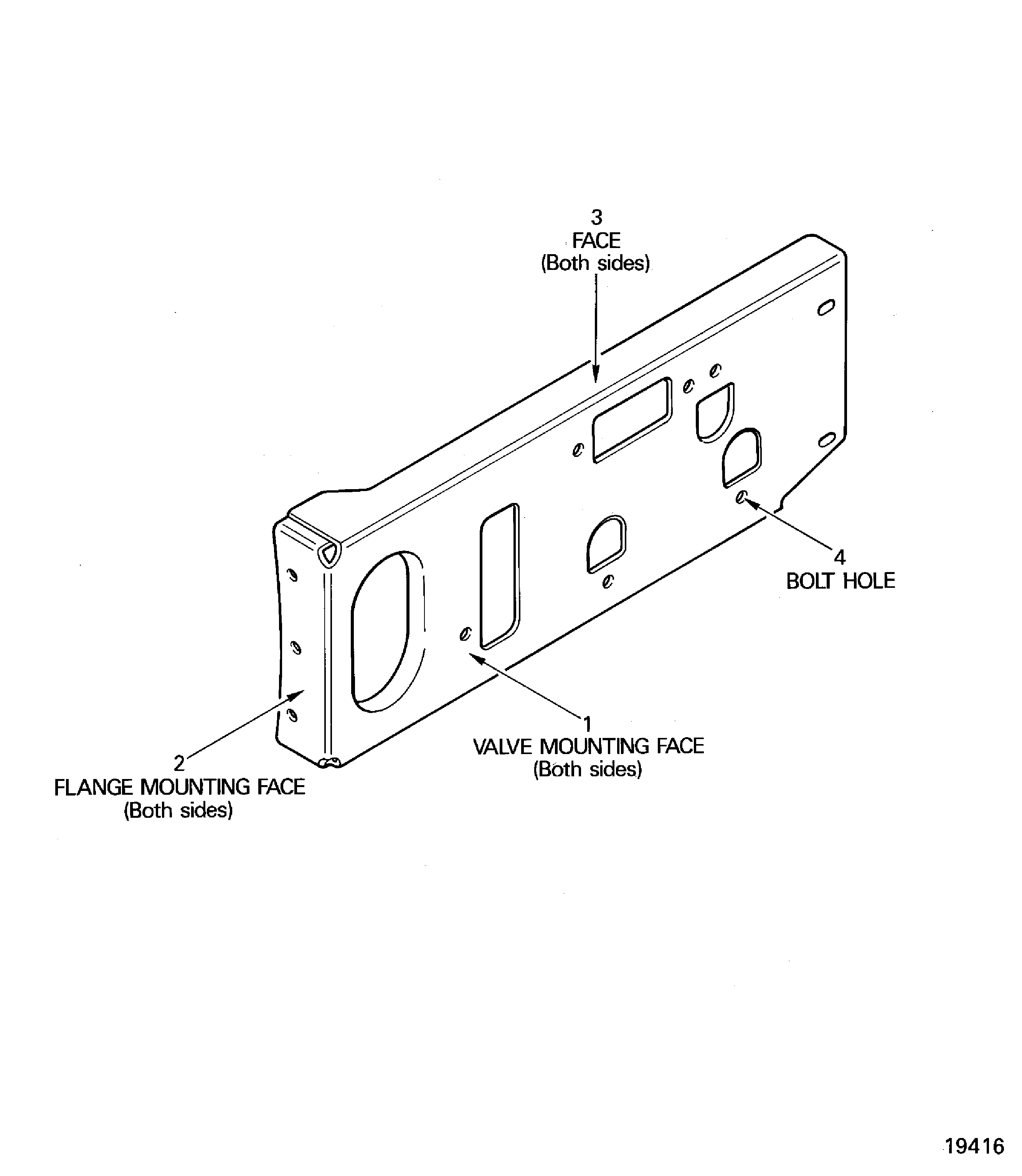
SUBTASK 75-23-52-230-051 Examine the Bracket for Cracks
Refer to Figure.
SUBTASK 75-23-52-220-052 Examine the Bracket Flange Mounting Face
Figure: Inspection Locations on the Bracket
Inspection Locations on the Bracket

