Export Control
EAR Export Classification: Not subject to the EAR per 15 C.F.R. Chapter 1, Part 734.3(b)(3), except for the following Service Bulletins which are currently published as EAR Export Classification 9E991: SBE70-0992, SBE72-0483, SBE72-0580, SBE72-0588, SBE72-0640, SBE73-0209, SBE80-0024 and SBE80-0025.Copyright
© IAE International Aero Engines AG (2001, 2014 - 2021) The information contained in this document is the property of © IAE International Aero Engines AG and may not be copied or used for any purpose other than that for which it is supplied without the express written authority of © IAE International Aero Engines AG. (This does not preclude use by engine and aircraft operators for normal instructional, maintenance or overhaul purposes.).Applicability
All
Common Information
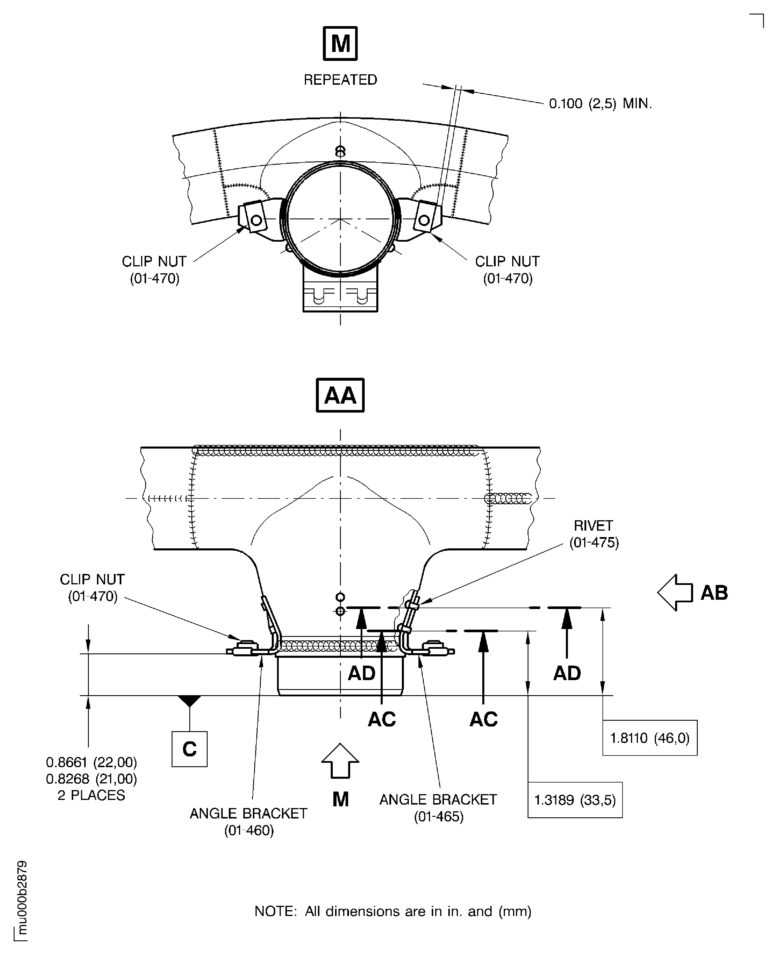
TASK 75-24-49-300-032 LPT ACC Connector Air Tube - Replace Rivets, Clip Nuts, Or Angle Brackets, Repair-032 (VRS4357)
General
Price and availability - none.
This TASK describes the repair of the connector tube with subsequent separated items as follows:
Replacement of the rivets, refer to Step
Replacement of the clip nuts, refer to Step
Replacement of the angle brackets, refer to Step
The practices and processes referred to in the procedure by the TASK number are in the SPM.
NOTE
Preliminary Requirements
Pre-Conditions
NONESupport Equipment
| Name | Manufacturer | Part Number / Identification | Quantity | Remark |
|---|---|---|---|---|
| Electric hand drill | LOCAL | Electric hand drill | ||
| Hand held grinder | LOCAL | Hand held grinder |
Consumables, Materials and Expendables
NONESpares
| Name | Manufacturer | Part Number / Identification | Quantity | Remark |
|---|---|---|---|---|
| BRACKET - ANGLE | 0AM53 | 3A2317 | 1 | |
| BRACKET - ANGLE | 0AM53 | 3A2318 | 1 | |
| NUT, SELF LOCKING, ASSEMBLY OF - .190 DIA | 0AM53 | 4W0043 | 2 | |
| Blind rivet | 0AM53 | ST1086-02 | 6 |
Safety Requirements
NONEProcedure
Do not damage the connector tube. Use Electric hand drill or Hand held grinder.
Use Electric hand drill or Hand held grinder.
Drill or grind off the rivet heads.
Use minimum force in order to prevent damage to the connector tube.
Hit the remaining part of the rivet shaft lightly.
Remove the angle brackets.
Maximum diameter should not be more than 0.1004 in. (2.550 mm).
Examine the inner diameter of the holes dimensionally.
Refer to SPM TASK 70-23-05-230-501.
Use medium sensitivity level.
No cracks are permitted.
Do the test for cracks around the rivet holes.
Install the angle brackets.
Refer to SPM TASK 70-39-03-390-501.
Install the new rivets.
SUBTASK 75-24-49-350-143 Replace the Rivets
Refer to Step
Remove the clip nuts.
Refer to Step
Remove the rivets.
Remove the angle brackets.
Refer to SPM TASK 70-39-03-390-501.
Drill rivet holes in the angle brackets.
Refer to Step
Install the angle brackets with rivets.
Refer to Step
Install the clip nuts.
SUBTASK 75-24-49-350-145 Replace the Angle Brackets
NOTE
Step is only necessary if new angle brackets are used.For acceptance standards refer to SPM TASK 70-39-03-390-501.
Examine visually the quality of the machine riveting and safety of the joints.
SUBTASK 75-24-49-220-001 Do the Post Repair Inspection
Figure: Connector Tube - Replace Rivets or Angle Brackets
Connector Tube - Replace Rivets or Angle Brackets

Connector Tube - Replace Rivets or Angle Brackets

Connector Tube - Replace Rivets or Angle Brackets

Connector Tube - Replace Rivets or Angle Brackets

