Export Control
EAR Export Classification: Not subject to the EAR per 15 C.F.R. Chapter 1, Part 734.3(b)(3), except for the following Service Bulletins which are currently published as EAR Export Classification 9E991: SBE70-0992, SBE72-0483, SBE72-0580, SBE72-0588, SBE72-0640, SBE73-0209, SBE80-0024 and SBE80-0025.Copyright
© IAE International Aero Engines AG (2001, 2014 - 2021) The information contained in this document is the property of © IAE International Aero Engines AG and may not be copied or used for any purpose other than that for which it is supplied without the express written authority of © IAE International Aero Engines AG. (This does not preclude use by engine and aircraft operators for normal instructional, maintenance or overhaul purposes.).Applicability
All
Common Information
TASK 79-22-43-300-022 Scavenge Oil Filter Housing - Related Parts - Repair The Thread Insert In The Oil Scavenge Filter Housing - Repair-022 (VRS5656)
General
Price and availability - none.
The practices and processes referred to in the procedure by the TASK numbers are in the SPM.
NOTE
Preliminary Requirements
Pre-Conditions
NONESupport Equipment
| Name | Manufacturer | Part Number / Identification | Quantity | Remark |
|---|---|---|---|---|
| Twist Drill | LOCAL | Twist Drill |
Consumables, Materials and Expendables
| Name | Manufacturer | Part Number / Identification | Quantity | Remark |
|---|---|---|---|---|
| CoMat 06-063 FLUORESCENT PENETRANT (POST-EMULSIFIED MEDIUM SENSITIVITY) | LOCAL | CoMat 06-063 |
Spares
| Name | Manufacturer | Part Number / Identification | Quantity | Remark |
|---|---|---|---|---|
| INSERT | 0AM53 | KU37022 | ||
| Insert, Screw Lock | 0AM53 | AGS3732 |
Safety Requirements
NONEProcedure
Refer to SPM TASK 70-35-08-300-501, SUBTASK SPM TASK 70-35-09-350-501.
Remove the damaged insert.
SUBTASK 79-22-43-350-071 Remove the Insert
Refer to SPM TASK 70-35-08-300-501, SUBTASK SPM TASK 70-35-09-350-501.
Machine the damaged hole.
SUBTASK 79-22-43-325-051 Machine the Hole
Refer to SPM TASK 70-23-05-230-501.
Do a crack test on the repaired area.
SUBTASK 79-22-43-350-082 Crack Test the Repaired Area
Do the touch-up process if the anodic treatment has been damaged.
Refer to SPM TASK 70-38-02-300-503.
Check the surface.
SUBTASK 79-22-43-350-072 Repair the Damaged Anodic Treatment
Refer to SPM TASK 70-35-08-300-501 SUBTASK 70-35-08-350-003.
Install the new KU37022 repair insert.
SUBTASK 79-22-43-350-073 Install the Repair Insert
Refer to SPM TASK 70-35-08-300-501 SUBTASK 70-35-08-350-004.
Install the new AGS3732 screw lock insert.
SUBTASK 79-22-43-350-074 Insert the Screw Lock Insert
Refer to SPM TASK 70-35-08-300-501 SUBTASK 70-35-08-220-003.
Do an inspection of the new insert.
SUBTASK 79-22-43-350-075 Do an Inspection of the New Insert
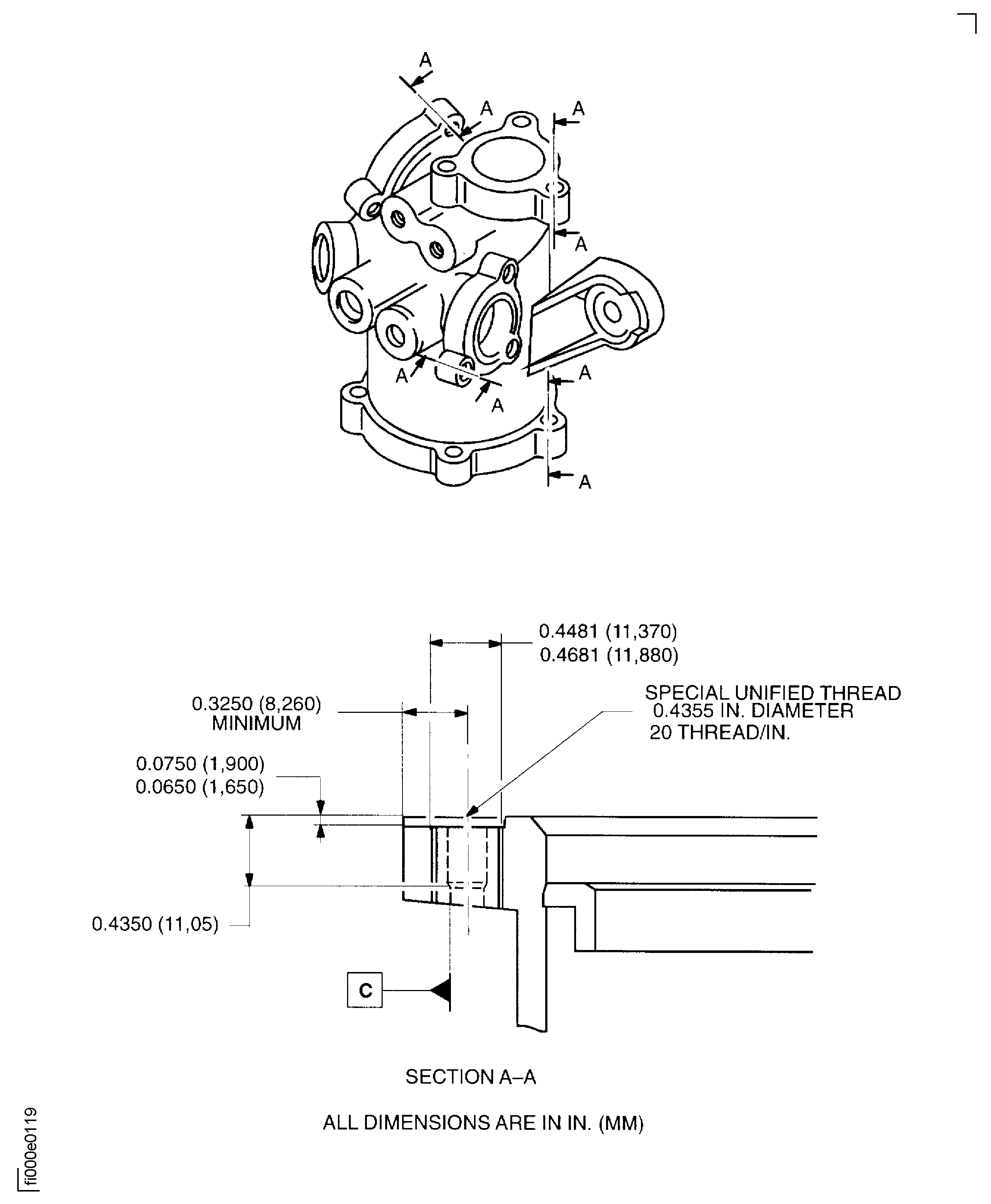
Figure: Repair Details And Dimensions (Pre SBE 79-0101)
Repair Details And Dimensions (Pre SBE 79-0101)

Figure: Repair Details And Dimensions (Post SBE 79-0101)
Repair Details And Dimensions (Post SBE 79-0101)

Figure: Repair Details And Dimensions
Repair Details And Dimensions

