DMC:V2500-A1-71-13-16-01A-941A-DIssue No:002.00Issue Date:2014-08-01
Export Control
EAR Export Classification: Not subject to the EAR per 15 C.F.R. Chapter 1, Part 734.3(b)(3), except for the following Service Bulletins which are currently published as EAR Export Classification 9E991: SBE70-0992, SBE72-0483, SBE72-0580, SBE72-0588, SBE72-0640, SBE73-0209, SBE80-0024 and SBE80-0025.Copyright
© IAE International Aero Engines AG (2001, 2014 - 2021) The information contained in this document is the property of © IAE International Aero Engines AG and may not be copied or used for any purpose other than that for which it is supplied without the express written authority of © IAE International Aero Engines AG. (This does not preclude use by engine and aircraft operators for normal instructional, maintenance or overhaul purposes.).Applicability
All
| Fig. Item | Part No. | Description | Effect/Model Applic. | UPA |
|---|---|---|---|---|
| 01 | ||||
| B71131601 | POWER PLANT-RIGHT FAN COWL, PRE SBN71-0016 | aa | ||
| SBN0016-01 | POWER PLANT-RIGHT FAN COWL, PRE SBN71-0015 | ab | ||
| SBN0015-01 | POWER PLANT-RIGHT FAN COWL, PRE SBN70-0147 | ac | ||
| SBN0147-01 | POWER PLANT-RIGHT FAN COWL, PRE SBN71-0046 | ad | ||
| SBN0046-01 | POWER PLANT-RIGHT FAN COWL, PRE SBN70-0134 | ae | ||
| SBN0134-01 | POWER PLANT-RIGHT FAN COWL, PRE SBN71-0128 | af | ||
| SBN0128-01 | POWER PLANT-RIGHT FAN COWL, PRE SBN71-0133 | ag | ||
| SBN0133-01 | POWER PLANT-RIGHT FAN COWL, PRE SBN70-0313 | ah | ||
| SBN0313-01 | POWER PLANT-RIGHT FAN COWL, PRE SBN71-0170 | ai | ||
| SBN0170-01 | POWER PLANT-RIGHT FAN COWL, PRE SBN70-0369 | aj | ||
| SBN0369-01 | POWER PLANT-RIGHT FAN COWL, PRE SBN70-0539 | ak | ||
| SBN0539-01 | POWER PLANT-RIGHT FAN COWL, PRE SBN70-0621 | al | ||
| SBN0621-01 | POWER PLANT-RIGHT FAN COWL, PRE SBN71-0285 | am | ||
| SBN0285-01 | POWER PLANT-RIGHT FAN COWL, PRE SBN70-0671 | an | ||
| SBN0671-01 | POWER PLANT-RIGHT FAN COWL, PRE SBN71-0293 | ao | ||
| SBN0293-01 | POWER PLANT-RIGHT FAN COWL, PRE SBN71-0171 | ap | ||
| SBN0171-01 | POWER PLANT-RIGHT FAN COWL | aq | ||
| -002 | 740-4000-501 | • COWL - INSTL ENGINE FAN 51563 | aa-aq | REF |
| 010 | 740-4002-563 | • COWL - RIGHT FAN 51563 PRE SBN71-0015 | aa-ac | 1 |
| 010A | 740-4002-567 | • COWL - RIGHT FAN 51563 POST SBN71-0015 PRE SBN70-0147 | aa-af | 1 |
| 010B | 740-4002-571 | • COWL - RIGHT FAN 51563 POST SBN70-0147 PRE SBN71-0046 | aa-af | 1 |
| 010C | 740-4002-575 | • COWL - RIGHT FAN 51563 POST SBN71-0046 PRE SBN71-0128 | aa-ah | 1 |
| 010D | 740-4002-585 | • COWL - RIGHT FAN 51563 POST SBN71-0128 PRE SBN70-0313 | aa-al | 1 |
| 010E | 740-4002-597 | • COWL - RIGHT FAN 51563 POST SBN70-0313 PRE SBN70-0621 | aa-am | 1 |
| 010F | 745-4002-507 | • COWL 51563 POST SBN70-0621 PRE SBN71-0285 | aa-am | 1 |
| 010G | 745-4002-511 | • COWL 51563 POST SBN71-0285 PRE SBN71-0293 | an-aq | 1 |
| 010H | 740-4002-601 | • COWL 51563 POST SBN71-0285 PRE SBN71-0285 | ***** | 1 |
| 010J | 745-4002-515 | • COWL - RIGHT HAND (PAINTED) 51563 POST SBN71-0293 | an-aq | 1 |
| 015 | AS8623E | • NUT U1653 | aa-aq | 4 |
| 020 | ST1608E3 | • WASHER 51563 | aa-aq | 4 |
| 020A | ST1608E3-18X | • WASHER 51563 | aa-aq | 4 |
| 030 | 740-4031-505 | • BOLT 51563 | aa-aq | 3 |
| 040 | 740-4031-507 | • BOLT 51563 | aa-aq | 1 |
| 050 | 1012641 | • ROD - HOLD OPEN | aa-aq | 2 |
| -050A | 1012641 | • ROD - HOLD OPEN PRE SBN71-0285 | aa-am | REF |
| -050B | 1030277 | • • ROD - HOLD OPEN POST SBN71-0285 | an-aq | REF |
| 060 | 740-4025-501 | • BRACKET - ANCHORAGE 51563 PRE SBN70-0539 | aa-aq | 2 |
| 060A | 740-4025-503 | • • BRACKET - ANCHORAGE 51563 POST SBN70-0539 | aa-aq | 1 |
| 070 | NAS8703U17 | • BOLT 80205 | aa-aq | 4 |
| 090 | AN960C10L | • WASHER 81352 | aa-aq | 4 |
| 095 | MS20500-1032 | • NUT 96906 | aa-aq | 4 |
| 100 | RI3614A | • BRACKET - STOWAGE 08844 | aa-aq | 1 |
| 110 | RI3614B | • BRACKET - STOWING 08844 | aa-aq | 1 |
| 120 | NAS8703U17 | • BOLT 80205 | aa-aq | 6 |
| 140 | AN960C10L | • WASHER 81352 | aa-aq | 6 |
| 145 | MS20500-1032 | • NUT 96906 | aa-aq | 6 |
| 150 | 740-4023-501 | • STRIP - RETAINING 51563 | aa-aq | 1 |
| 160 | 740-4024-501 | • PACKER 51563 | aa-aq | 1 |
| 170 | 740-4002-003 | • SEAL - RUBBER 51563 | aa-aq | 1 |
| 180 | NAS7203U6 | • BOLT 80205 | aa-aq | 3 |
| 190 | AS8623D | • NUT - .190 DIA U1653 | aa-aq | 3 |
| 200 | AN960C10L | • WASHER 81352 | aa-aq | 3 |
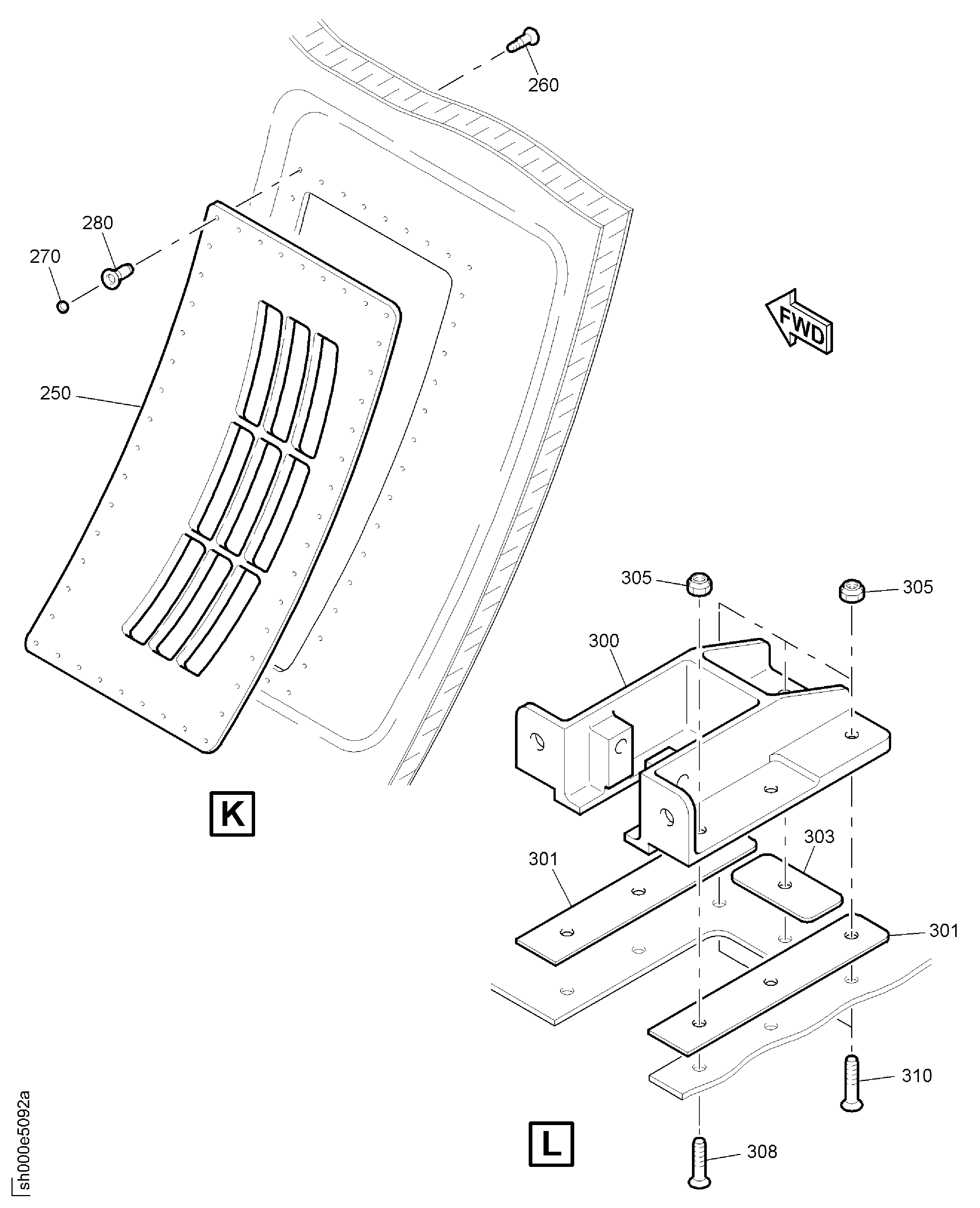
| 250 | 740-4045-503 | • DUCT - GRILL, ACOC OUTLET 51563 POST SBN70-0369 | ak-aq | 1 |
| 260 | 2ASPFFV06-05 | • PIN 17446 POST SBN70-0369 | ak-aq | 46 |
| 270 | ASPLC2AC06 | • LOCK - COLLAR U1653 POST SBN70-0369 | ak-aq | 46 |
| 280 | ASPFSV06 | • SLEEVE U1653 POST SBN70-0369 | ak-aq | 46 |
| 300 | 740-4013-501 | • HOUSING - LATCH 51563 POST SBN71-0170 PRE SBN70-0313 | ***** | 4 |
| 300A | 740-4124-501 | • HOUSING - LATCH CURVED 51563 POST SBN70-0313 | ai-aq | 4 |
| 301 | 740-4129-501 | • PACKING 51563 POST SBN70-0313 | ai-aq | 8 |
| 303 | 740-4131-501 | • PACKING 51563 POST SBN70-0313 | ai-aq | 4 |
| 305 | H01-4 | • NUT 15653 POST SBN71-0170 | aj-aq | 28 |
| 308 | HL11VF8-4 | • BOLT 73197 POST SBN71-0170 | aj-aq | 16 |
| 310 | HL11VF8-5 | • BOLT 73197 POST SBN71-0170 | aj-aq | 12 |
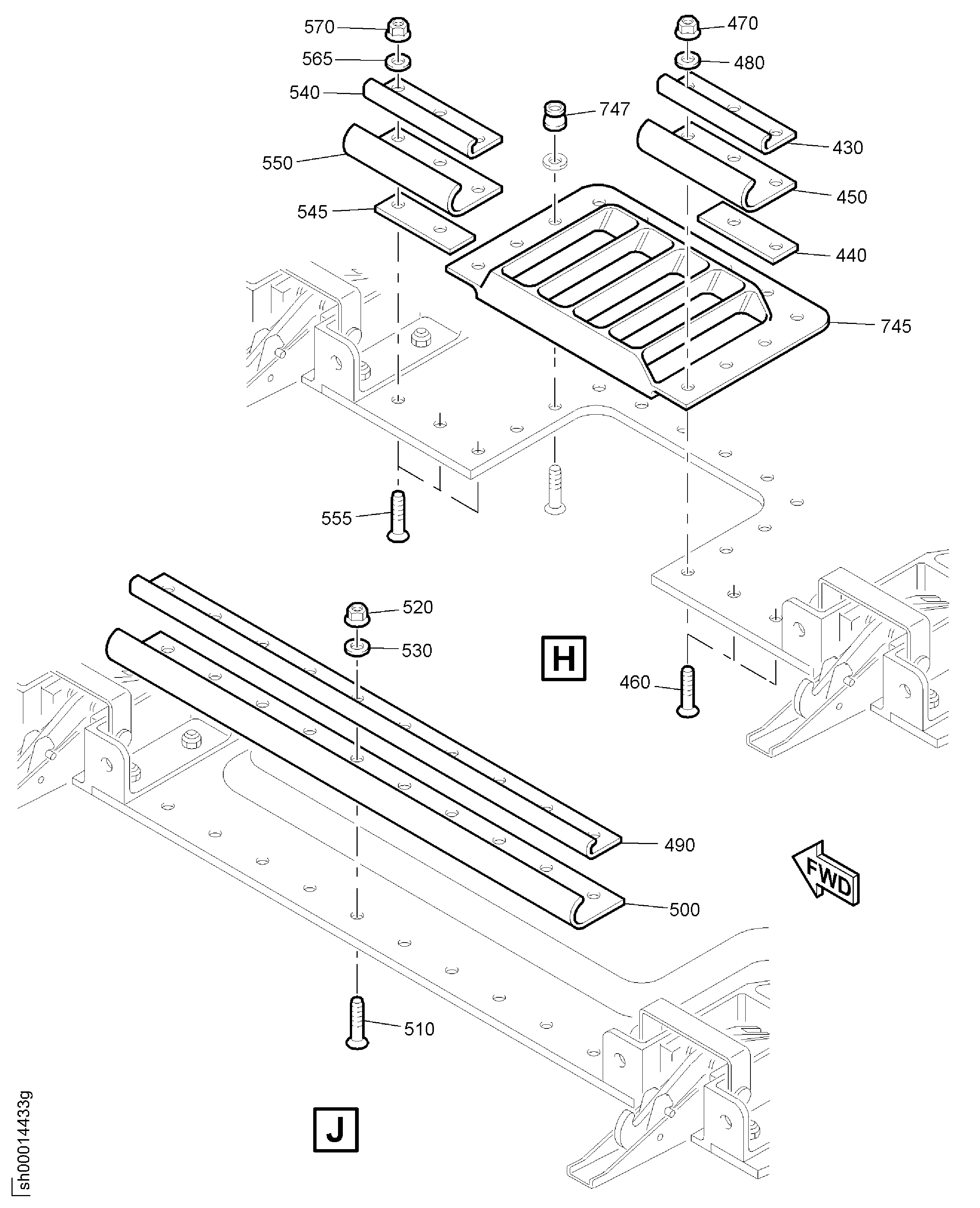
| 430 | 740-4023-502 | • STRIP - RETAINING 51563 | aa-aq | 1 |
| 440 | 740-4024-501 | • PACKER 51563 | aa-aq | 1 |
| 450 | 740-4022-503 | • SEAL - RUBBER 51563 | aa-aq | 1 |
| 460 | NAS7203U6 | • BOLT 80205 | aa-aq | 1 |
| 465 | NAS7203U4 | • BOLT 80205 | aa-aq | 2 |
| 470 | AS8623D | • NUT - .190 DIA U1653 | aa-aq | 3 |
| 480 | AN960C10L | • WASHER 81352 | aa-aq | 3 |
| 490 | 740-4023-505 | • STRIP - RETAINING 51563 | aa-aq | 1 |
| 500 | 740-4022-503 | • SEAL - RUBBER 51563 | aa-aq | 1 |
| 510 | NAS7203U4 | • BOLT 80205 | aa-aq | 7 |
| 520 | AS8623D | • NUT - .190 DIA U1653 | aa-aq | 7 |
| 530 | AN960C10L | • WASHER 81352 | aa-aq | 7 |
| 540 | 740-4023-501 | • STRIP - RETAINING 51563 | aa-aq | 1 |
| 545 | 740-4024-501 | • PACKER 51563 | aa-aq | 1 |
| 550 | 740-4022-503 | • SEAL - RUBBER 51563 | aa-aq | 1 |
| 555 | NAS7203U6 | • BOLT 80205 | aa-aq | 1 |
| 560 | NAS7203U4 | • BOLT 80205 | aa-aq | 2 |
| 565 | AN960C10L | • WASHER 81352 | aa-aq | 3 |
| 570 | AS8623D | • NUT - .190 DIA U1653 | aa-aq | 3 |
| 580 | 740-4002-015 | • • STRIP, RUBBING 51563 (VRS2875) POST SBN70-0181 | ***** | 1 |
| 582 | 740-4002-017 | • • STRIP, RUBBING 51563 (VRS2875) POST SBN70-0181 | ***** | 1 |
| 585 | CSR904B4-5 | • • RIVET 11815 (VRS2875) | ***** | 1 |
| 600 | 740-4115-501 | • VENT - GEARBOX OVERBOARD 51563 POST SBN70-0147 PRE SBN71-0046 | ad-an | 1 |
| 600A | 740-4117-501 | • VENT - GEARBOX OVERBOARD 51563 POST SBN71-0046 PRE SBN70-0671 | ad-aq | 1 |
| 600600B | 745-4074-501 | • • VENT - GEARBOX OVERBOARD 51563 POST SBN70-0671 | ad-aq | 1 |
| 605 | H01-8 | • NUT 15653 POST SBN70-0147 PRE SBN71-0046 | ad | 4 |
| 605A | H01-3 | • NUT KF030 POST SBN71-0046 | ae-aq | 4 |
| 608 | AN960C10L | • WASHER - FLAT 81352 POST SBN71-0046 | ae-aq | 4 |
| 610 | HL11VF5-3 | • PIN 73197 POST SBN70-0147 PRE SBN71-0046 | ad | 4 |
| 610A | NAS7203U3 | • BOLT - 100 DEGREE CSK HD 80205 POST SBN71-0046 | ae-aq | 4 |
| 630 | 740-4089-503 | • • DUCT - GEARBOX BREATHER 51563 POST SBN71-0128 | ag-aq | 1 |
| 634 | HL97V6 | • • COLLAR - HILOK 73197 POST SBN71-0128 PRE SBN71-0133 | ag | 1 |
| 634A | H01-3 | • • NUT KF030 POST SBN71-0133 | ag-aq | 1 |
| 636 | AN960C10L | • WASHER - FLAT 81352 POST SBN71-0133 | ah-aq | 1 |
| 638 | HL11VF6-4 | • PIN 73197 POST SBN71-0128 | ag-aq | 1 |
| 650 | 740-4033-504 | • DOOR - LOCATOR (RH) 51563 POST SBN71-0171 | aq | 1 |
| 655 | HL11VF6-5 | • PIN 73197 POST SBN71-0171 | aq | 3 |
| 660 | H01-3 | • NUT KF030 POST SBN71-0171 | aq | 3 |
| 710 | 740-4004-505 | • • PANEL - DOOR 51563 PRE SBN70-0134 | aa-aq | 1 |
| 710A | 740-4004-507 | • • PANEL - DOOR 51563 POST SBN70-0134 | aa-aq | 1 |
| 745 | 740-4035-502 | • • COVER - GRILLE, VENT OUTLET 51563 (VRS2963) POST SBN70-0357 | ***** | 1 |
| 747 | HL97V6 | • • COLLAR, HILOK 73197 (VRS2963) POST SBN70-0357 | ***** | 1 |
| 750 | 740-4116-501 | • PLUG - BLANKING 51563 POST SBN71-0016 | ab-aq | 2 |
| - ITEM NOT ILLUSTRATED, ***** EFFECTIVITY NOT AVAILABLE | ||||
Figure: POWER PLANT-RIGHT FAN COWL
COWL RIGHT FAN

COWL RIGHT FAN

COWL RIGHT FAN

COWL RIGHT FAN

COWL RIGHT FAN

COWL RIGHT FAN

COWL RIGHT FAN

