DMC:V2500-A1-71-13-17-01A-941A-DIssue No:001.00Issue Date:2014-05-01
Export Control
EAR Export Classification: Not subject to the EAR per 15 C.F.R. Chapter 1, Part 734.3(b)(3), except for the following Service Bulletins which are currently published as EAR Export Classification 9E991: SBE70-0992, SBE72-0483, SBE72-0580, SBE72-0588, SBE72-0640, SBE73-0209, SBE80-0024 and SBE80-0025.Copyright
© IAE International Aero Engines AG (2001, 2014 - 2021) The information contained in this document is the property of © IAE International Aero Engines AG and may not be copied or used for any purpose other than that for which it is supplied without the express written authority of © IAE International Aero Engines AG. (This does not preclude use by engine and aircraft operators for normal instructional, maintenance or overhaul purposes.).Applicability
All
| Fig. Item | Part No. | Description | Effect/Model Applic. | UPA |
|---|---|---|---|---|
| 01 | ||||
| B71131701 | POWER PLANT-RIGHT FAN COWL ACCESS PANELS, PRE SBN71-0027 | aa | ||
| SBN0027-01 | POWER PLANT-RIGHT FAN COWL ACCESS PANELS, PRE SBN71-0015 | ab | ||
| SBN0015-01 | POWER PLANT-RIGHT FAN COWL ACCESS PANELS, PRE SBN70-0147 | ac | ||
| SBN0147-01 | POWER PLANT-RIGHT FAN COWL ACCESS PANELS, PRE SBN71-0046 | ad | ||
| SBN0046-01 | POWER PLANT-RIGHT FAN COWL ACCESS PANELS, PRE SBN71-0128 | ae | ||
| SBN0128-01 | POWER PLANT-RIGHT FAN COWL ACCESS PANELS, PRE SBN70-0313 | af | ||
| SBN0313-01 | POWER PLANT-RIGHT FAN COWL ACCESS PANELS, PRE SBN70-0621 | ag | ||
| SBN0621-01 | POWER PLANT-RIGHT FAN COWL ACCESS PANELS, PRE SBN71-0285 | ah | ||
| SBN0285-01 | POWER PLANT-RIGHT FAN COWL ACCESS PANELS, PRE SBN71-0293 | ai | ||
| SBN0293-01 | POWER PLANT-RIGHT FAN COWL ACCESS PANELS, PRE SBN70-0272 | aj | ||
| SBN0272-01 | POWER PLANT-RIGHT FAN COWL ACCESS PANELS | ak | ||
| -002 | 740-4002-563 | COWL - RIGHT FAN 51563 PRE SBN71-0015 | aa-ab | REF |
| -002A | 740-4002-567 | COWL - RIGHT FAN 51563 POST SBN71-0015 PRE SBN70-0147 | ac-ae | REF |
| -002B | 740-4002-571 | COWL - RIGHT FAN 51563 POST SBN70-0147 PRE SBN71-0046 | ac-ae | REF |
| -002C | 740-4002-575 | COWL - RIGHT FAN 51563 POST SBN71-0046 PRE SBN71-0128 | ac-af | REF |
| -002D | 740-4002-585 | COWL - RIGHT FAN 51563 POST SBN71-0128 PRE SBN70-0313 | ac-ag | REF |
| -002E | 740-4002-597 | COWL - RIGHT FAN 51563 POST SBN70-0313 PRE SBN70-0621 | ac-ag | REF |
| -002F | 745-4002-507 | COWL 51563 POST SBN70-0621 PRE SBN71-0285 | ah | REF |
| -002G | 745-4002-511 | COWL 51563 POST SBN71-0285 PRE SBN71-0293 | ai-ak | REF |
| -002H | 740-4002-601 | COWL 51563 POST SBN71-0285 PRE SBN71-0285 | ***** | REF |
| -002J | 745-4002-515 | COWL - RIGHT HAND (PAINTED) 51563 POST SBN71-0293 | ai-ak | REF |
| 005 | 740-4046-503 | • DOOR - ASSY AIR START/BLOW OF 51563 PRE SBN70-0621 | aa-ak | 1 |
| 0055A | 740-4046-503 | • • DOOR - ASSY AIR START/BLOW OF 51563 PRE SBN70-0621 | aa-ak | 1 |
| 010 | SP90C5 | • PIN K7766 | aa-ak | 2 |
| 020 | 740-4039-501 | • COLLAR 51563 | aa-ak | 2 |
| 030 | 740-4051-501 | • PIN 51563 | aa-ak | 2 |
| -040 | HL111VF8-5 | • • PIN - HI LOK 73197 POST SBN70-0272 | ak | 4 |
| -050 | HL97V8 | • • COLLAR 73197 POST SBN70-0272 | ak | 4 |
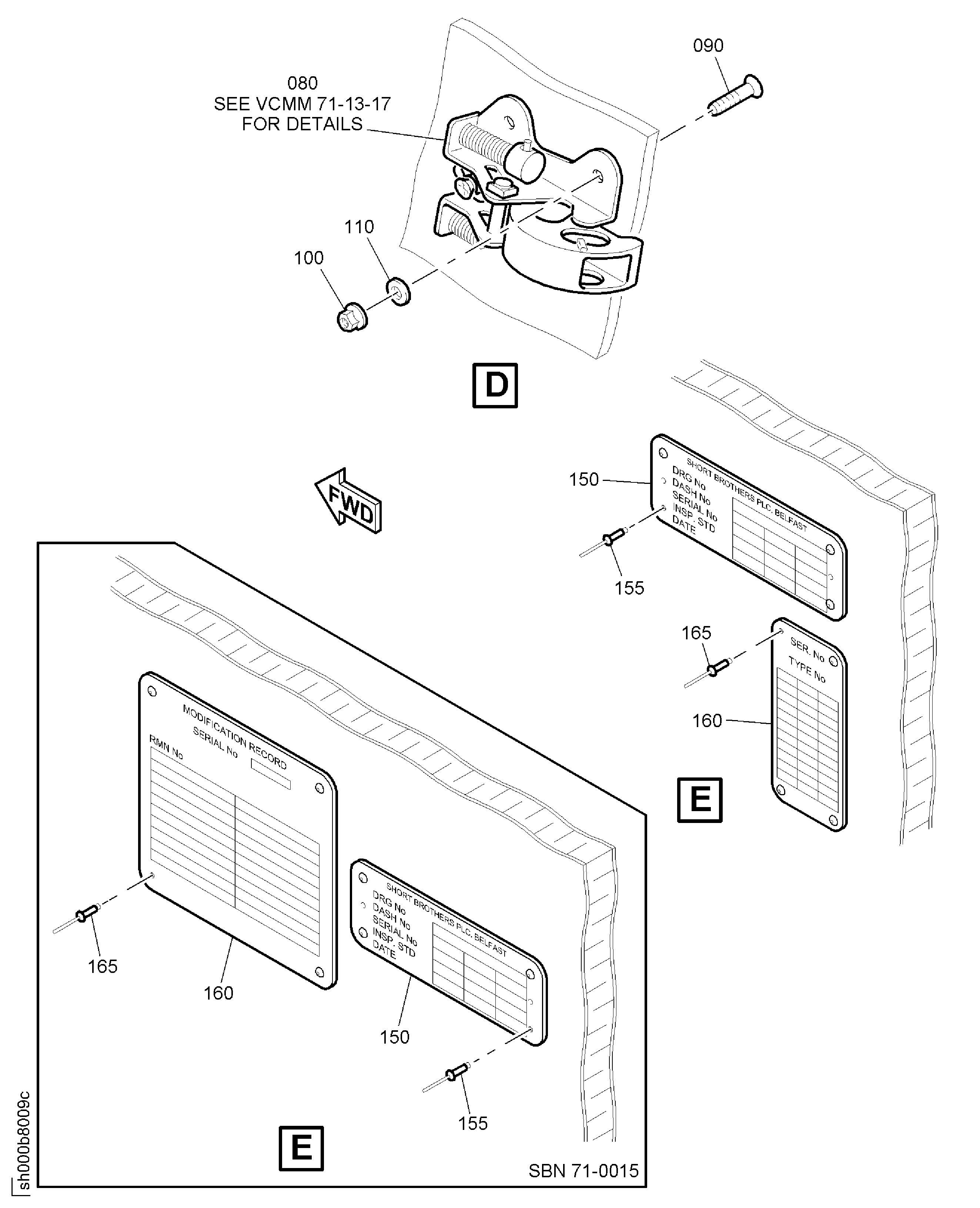
| 080 | H2915-5 | • LATCH 83014 | aa-ak | 2 |
| 090 | MS2493C271 | • SCREW 96906 | aa-ak | 8 |
| 100 | MS21043-06 | • NUT 96906 | aa-ak | 8 |
| 110 | AN960C6 | • WASHER 81352 | aa-ak | 8 |
| 150 | 740-4108-501 | • PLATE - IDENTIFICATION 51563 POST SBN71-0027 | ab-ak | 1 |
| 155 | CCR274CS3-2 | • RIVET 81349 POST SBN71-0027 | ab-ak | 4 |
| 160 | 740-4113-501 | • PLATE - MODIF RECORD 51563 POST SBN71-0015 | ac-ak | 1 |
| 165 | CCR274CS3-2 | • RIVET 81349 POST SBN71-0015 | ac-ak | 4 |
| - ITEM NOT ILLUSTRATED, ***** EFFECTIVITY NOT AVAILABLE | ||||
Figure: POWER PLANT-RIGHT FAN COWL ACCESS PANELS
PANELS FAN COWL ACCESS RIGHT

PANELS FAN COWL ACCESS RIGHT

