Export Control
EAR Export Classification: Not subject to the EAR per 15 C.F.R. Chapter 1, Part 734.3(b)(3), except for the following Service Bulletins which are currently published as EAR Export Classification 9E991: SBE70-0992, SBE72-0483, SBE72-0580, SBE72-0588, SBE72-0640, SBE73-0209, SBE80-0024 and SBE80-0025.Copyright
© IAE International Aero Engines AG (2001, 2014 - 2021) The information contained in this document is the property of © IAE International Aero Engines AG and may not be copied or used for any purpose other than that for which it is supplied without the express written authority of © IAE International Aero Engines AG. (This does not preclude use by engine and aircraft operators for normal instructional, maintenance or overhaul purposes.).Applicability
V2500-A1
Common Information
TASK 72-32-25-300-002 No. 3 Bearing Seal Ring Holder - Repair An Oversize Seal Ring Groove, Repair-002 (VRS3389)
Material of component
RR | ||
|---|---|---|
DESCRIPTION | SYMBOL | MATERIAL |
No. 3 bearing seal ring holder | - | Corrosion and heat resistant |
assembly (2A1790) | steel alloy | |
No. 3 bearing seal ring holder | - | Titanium alloy |
assembly (2A1288) | ||
General
The practices and procedures referred to in the procedure by the TASK number are in the SPM.
A ** following SPM TASK referenced in this repair indicates that the Process is not yet published in the current revision of the manual and the part must be rejected. Contact IAE for additional information concerning the Process.
Price and availability - not applicable
Preliminary Requirements
Pre-Conditions
NONESupport Equipment
| Name | Manufacturer | Part Number / Identification | Quantity | Remark |
|---|---|---|---|---|
| Machining equipment | LOCAL | Machining equipment | ||
| Nickel plate equipment | LOCAL | Nickel plate equipment |
Consumables, Materials and Expendables
NONESpares
| Name | Manufacturer | Part Number / Identification | Quantity | Remark |
|---|---|---|---|---|
| Seal ring | 2A1793P5 | AR | ||
| Seal ring | 2A1793P10 | AR | ||
| Seal ring | 2A1793P15 | AR | ||
| Seal ring | 2A1793P20 | AR |
Safety Requirements
NONEProcedure
Do the procedure given in the SPM TASK 70-33-25-300-503**.
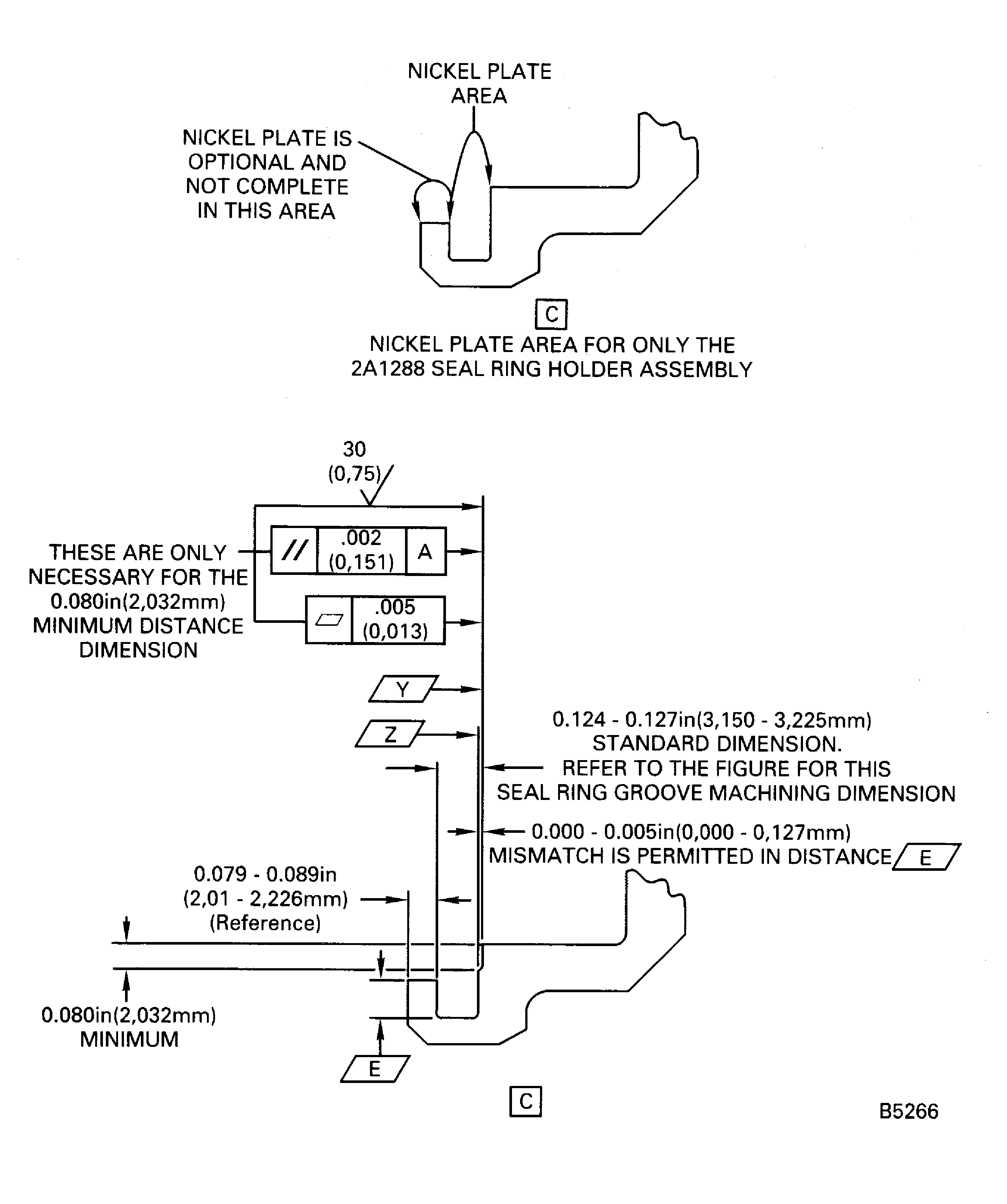
Refer to Figure requirements.
NOTE
The nickel plate is only required for the 2A1288 seal ring holder assembly.Strip the nickel plate from the seal ring groove.
SUBTASK 72-32-25-330-054 Strip the Nickel Plate from the Seal Ring Groove
Refer to the table given in the figure for the seal ring groove machining dimensions. Remove the minimum quantity of base material.
If seal ring groove is nickel plated, machine the groove sufficiently to permit a plating thickness of 0.0005 to 0.001 in. (0.0127 to 0.0254 mm).
Make sure you use the dimensions given for the correct part number seal ring you use.
Refer to Figure requirements.
Set-up and machine Surface Y and Surface Z by the requirements given in the figure.
SUBTASK 72-32-25-320-051 Machine the Seal Ring Groove
Do the procedure given in the SPM TASK 70-33-25-300-503**.
Refer to Figure requirements.
NOTE
The nickel plate is only required for the 2A1288 seal ring holder assembly.Nickel plate the seal ring groove to a thickness of between 0.0005 and 0.001 in. (0.0127 and 0.0254 mm).
SUBTASK 72-32-25-330-055 Nickel Plate the Seal Ring Groove
Refer to Figure requirements.
Examine the repair.
SUBTASK 72-32-25-220-092 Examine the Repair
Make a permanent mark by the procedure given in the SPM TASK 70-09-00-400-501.
Use the vibration peen method.
Refer to Figure requirements.
Mark the seal ring oversize number adjacent to the part number. Example of the oversize number is P5, P10, P15 or P20.
SUBTASK 72-32-25-350-055 Identify the Repair
Figure: No. 3 bearing seal ring holder assembly oversize seal ring groove repair areas
No. 3 bearing seal ring holder assembly oversize seal ring groove repair areas

Figure: No. 3 bearing seal ring holder assembly oversize seal ring groove repair areas (machining dimensions)
No. 3 bearing seal ring holder assembly oversize seal ring groove repair areas (machining dimensions)

Figure: No. 3 bearing seal ring holder assembly oversize seal ring groove repair areas (seal ring part number and machining dimensions)
No. 3 bearing seal ring holder assembly oversize seal ring groove repair areas (seal ring part number and machining dimensions)

