DMC:V2500-A1-72-42-11-01A-941A-DIssue No:005.00Issue Date:2020-08-01
Export Control
EAR Export Classification: Not subject to the EAR per 15 C.F.R. Chapter 1, Part 734.3(b)(3), except for the following Service Bulletins which are currently published as EAR Export Classification 9E991: SBE70-0992, SBE72-0483, SBE72-0580, SBE72-0588, SBE72-0640, SBE73-0209, SBE80-0024 and SBE80-0025.Copyright
© IAE International Aero Engines AG (2001, 2014 - 2021) The information contained in this document is the property of © IAE International Aero Engines AG and may not be copied or used for any purpose other than that for which it is supplied without the express written authority of © IAE International Aero Engines AG. (This does not preclude use by engine and aircraft operators for normal instructional, maintenance or overhaul purposes.).Applicability
All
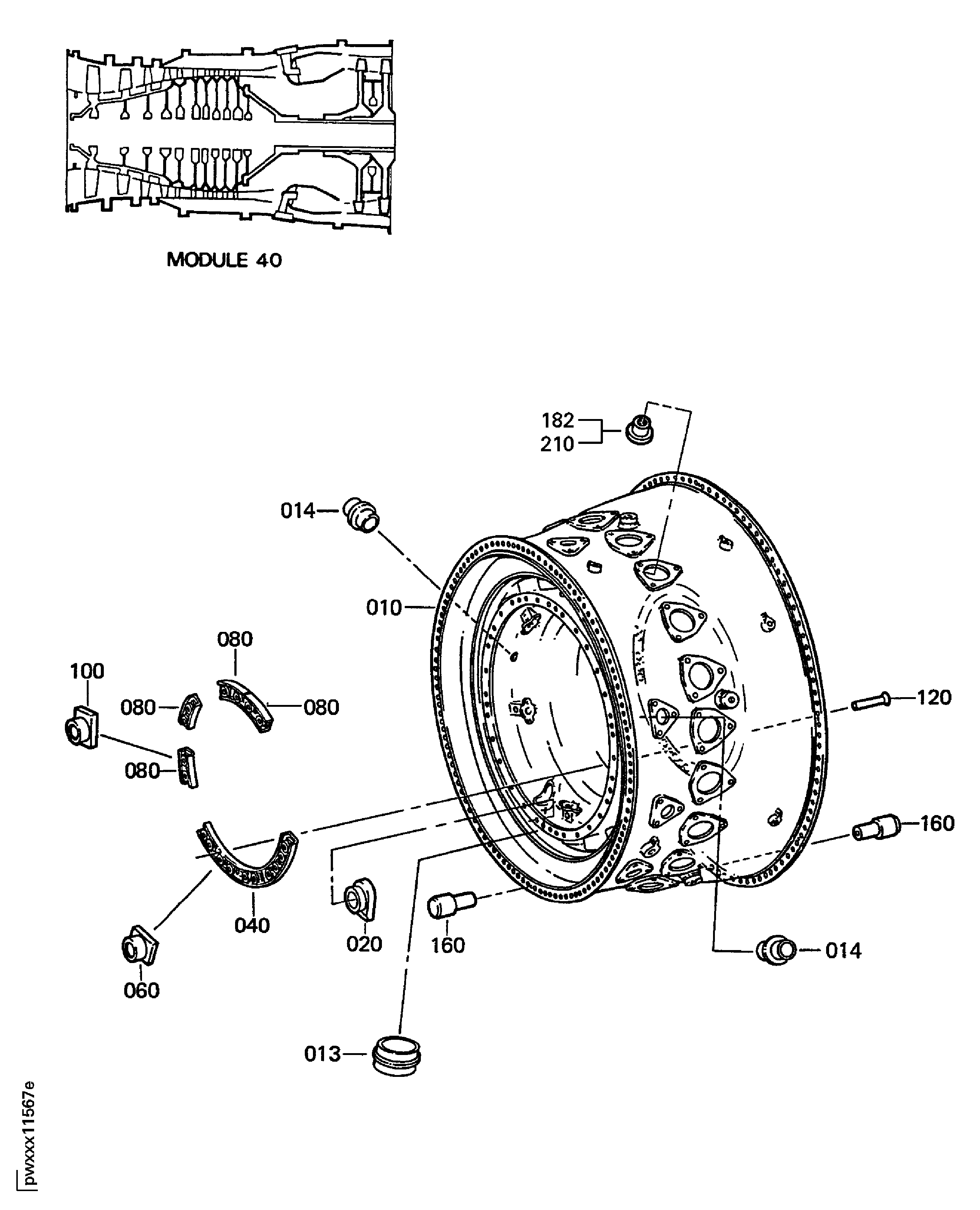
| Fig. Item | Part No. | Description | Effect/Model Applic. | UPA |
|---|---|---|---|---|
| 01 | ||||
| B72421101 | ENGINE - DIFFUSER CASE, ASSEMBLY, PRE SBE72-0166 | aa | ||
| SBE0166-01 | ENGINE - DIFFUSER CASE, ASSEMBLY, PRE SBE70-0385 | ab | ||
| SBE0385-01 | ENGINE - DIFFUSER CASE, ASSEMBLY, PRE SBE70-0437 | ac | ||
| SBE0437-01 | ENGINE - DIFFUSER CASE, ASSEMBLY, PRE SBE72-0221 | ad | ||
| SBE0221-01 | ENGINE - DIFFUSER CASE, ASSEMBLY, PRE SBE70-0831 | ae | ||
| SBE0831-01 | ENGINE - DIFFUSER CASE ASSEMBLY, PRE SBE72-0709 | af | ||
| SBE0709-01 | ENGINE - DIFFUSER CASE, ASSEMBLY | ag | ||
| 010 | 2A0051 | • CASE - DIFFUSER, ASSEMBLY OF PRE SBE72-0166 REF SBE72-0706 PRE SBE72-0709 | aa | 1 |
| 010A | 2A2889-01 | • CASE - DIFFUSER, ASSEMBLY OF PRE SBE72-0221 REF SBE72-0706 PRE SBE72-0709 | aa-ad | 1 |
| 010B | 2A2883-01 | • CASE - DIFFUSER, ASSEMBLY OF POST SBE72-0166 REF SBE72-0706 PRE SBE72-0709 | ab-af | 1 |
| 010C | 2A3132 | • CASE - DIFFUSER, ASSEMBLY OF POST SBE72-0221 REF SBE72-0706 PRE SBE72-0709 | ae-af | 1 |
| 010D | 2A2891-01 | • CASE - ASSEMBLY OF REF SBE72-A0706 PRE SBE72-0709 | aa-af | 1 |
| 010E | 2A2896-01 | • CASE - DIFFUSER, ASSEMBLY OF POST SBE72-0166 PRE SBE72-0709 | ab-af | 1 |
| 010F | 2A0051-001 | • CASE - DIFFUSER, ASSEMBLY OF 77445 POST SBE72-0709 | ag | 1 |
| 010G | 2A2896-101 | • CASE-DIFFUSER,ASSY OF 77445 POST SBE72-0709 | ag | 1 |
| 010H | 2A2889-101 | • CASE - DIFFUSER, ASSEMBLY OF 77445 POST SBE72-0709 | ag | 1 |
| 010I | 2A3132-001 | • CASE - DIFFUSER, ASSEMBLY OF 77445 POST SBE72-0709 | ag | 1 |
| 010J | 2A2883-101 | • CASE - DIFFUSER, ASSEMBLY OF 77445 POST SBE72-0709 | ag | 1 |
| 010K | 2A2891-101 | • CASE - DIFFUSER, ASSEMBLY OF 77445 POST SBE72-0709 | ag | 1 |
| 013 | 2A0459 | • • SLEEVE PRE SBE70-0437 | aa-af | 1 |
| 013A | 2A3117 | • • SLEEVE - SEALING, NO. 4 BEARING SCAVENGE POST SBE70-0437 | aa-af | 1 |
| 014 | 2A1014 | • • SLEEVE PRE SBE70-0437 | aa-af | 2 |
| 014A | 2A3118 | • • SLEEVE - SEALING, DIFFUSER POST SBE70-0437 | aa-af | 2 |
| 020 | 494674 | • • NUT - OPTION 77445 | aa-af | 30 |
| 040 | 2A0997-01 | • • NUT - GANG CHANNEL | aa-af | 1 |
| 060 | 2A0998 | • • • NUT - GANG CHANNEL | aa-af | 10 |
| 080 | 2A0999-01 | • • NUT - GANG CHANNEL | aa-af | 4 |
| 100 | 2A0998 | • • • NUT - GANG CHANNEL | aa-af | 2 |
| 120 | AN123471 | • • RIVET, SOLID | aa-af | 10 |
| 160 | 50J018 | • • PIN - SHOULDER 77445 | aa-af | 2 |
| 182 | 2A0308CL1 | • • INSERT - SCREW THREAD PRE SBE70-0385 | aa-ab | 60 |
| 182A | 2A0308CL1 | • • INSERT - SCREW THREAD POST SBE70-0385 | ac-af | 64 |
| 184 | 2A0308CL2 | • • INSERT - SCREW THREAD PRE SBE70-0385 | aa-ab | 60 |
| 184A | 2A0308CL2 | • • INSERT - SCREW THREAD POST SBE70-0385 | ac-af | 64 |
| 186 | 2A0308CL3 | • • INSERT - SCREW THREAD PRE SBE70-0385 | aa-ab | 60 |
| 186A | 2A0308CL3 | • • INSERT - SCREW THREAD POST SBE70-0385 | ac-af | 64 |
| 187 | 2A0308CL7 | • • INSERT - SCREW THREAD POST SBE70-0385 PRE SBE70-0831 | ac-ae | 64 |
| 188 | 2A0308CL8 | • • INSERT - SCREW THREAD POST SBE70-0385 PRE SBE70-0831 | ac-ae | 64 |
| 189 | 2A0308CL9 | • • INSERT - SCREW THREAD POST SBE70-0385 PRE SBE70-0831 | ac-ae | 64 |
| 194 | 2A0308CL1 | • • INSERT - SCREW THREAD POST SBE70-0831 | af | 64 |
| 196 | 2A0308CL2 | • • INSERT - SCREW THREAD POST SBE70-0831 | af | 64 |
| 198 | 2A0308CL3 | • • INSERT - SCREW THREAD POST SBE70-0831 | af | 64 |
| 200 | 2A0308CL4 | • • INSERT - SCREW THREAD POST SBE70-0831 | af | 64 |
| 202 | 2A0308CL5 | • • INSERT - SCREW THREAD POST SBE70-0831 | af | 64 |
| 204 | 2A0308CL6 | • • INSERT - SCREW THREAD POST SBE70-0831 | af | 64 |
| 206 | 2A0308CL7 | • • INSERT - SCREW THREAD POST SBE70-0831 | af | 64 |
| 208 | 2A0308CL8 | • • INSERT - SCREW THREAD POST SBE70-0831 | af | 64 |
| 210 | 2A0308CL9 | • • INSERT - SCREW THREAD POST SBE70-0831 | af | 64 |
| - ITEM NOT ILLUSTRATED, ***** EFFECTIVITY NOT AVAILABLE | ||||
Figure: ENGINE-DIFFUSER CASE ASSEMBLY
DIFFUSER CASE ASSEMBLY

