DMC:V2500-A1-72-50-25-01A-941A-DIssue No:001.00Issue Date:2014-05-01
Export Control
EAR Export Classification: Not subject to the EAR per 15 C.F.R. Chapter 1, Part 734.3(b)(3), except for the following Service Bulletins which are currently published as EAR Export Classification 9E991: SBE70-0992, SBE72-0483, SBE72-0580, SBE72-0588, SBE72-0640, SBE73-0209, SBE80-0024 and SBE80-0025.Copyright
© IAE International Aero Engines AG (2001, 2014 - 2021) The information contained in this document is the property of © IAE International Aero Engines AG and may not be copied or used for any purpose other than that for which it is supplied without the express written authority of © IAE International Aero Engines AG. (This does not preclude use by engine and aircraft operators for normal instructional, maintenance or overhaul purposes.).Applicability
All
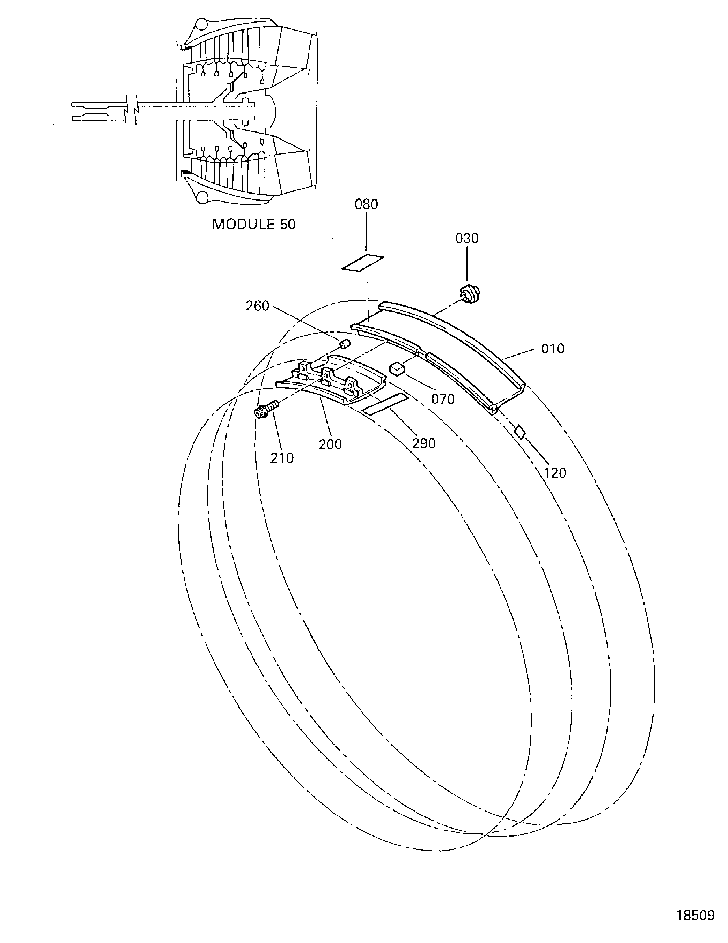
| Fig. Item | Part No. | Description | Effect/Model Applic. | UPA |
|---|---|---|---|---|
| 01 | ||||
| B72502501 | ENGINE-LP TURBINE DIFFUSER DUCT, PRE SBE70-0078 | aa | ||
| SBE0078-01 | ENGINE-LP TURBINE DIFFUSER DUCT, PRE SBE72-0110 | ab | ||
| SBE0110-01 | ENGINE-LP TURBINE DIFFUSER DUCT, PRE SBE70-0504 | ac | ||
| SBE0504-01 | ENGINE-LP TURBINE DIFFUSER DUCT, PRE SBE70-0821 | ad | ||
| SBE0821-01 | ENGINE-LP TURBINE DIFFUSER DUCT, PRE SBE70-0889 | ae | ||
| SBE0889-01 | ENGINE-LP TURBINE DIFFUSER DUCT | af | ||
| 010 | 3A0084 | • SUPPORT - ASSY,DIFFUSER OUTER PRE SBE72-0110 | aa-af | 8 |
| 010A | 3A1907 | • SUPPORT - ASSY DIFFUSER,OUTER POST SBE72-0110 | aa-af | 8 |
| 030 | 494677 | • • NUT - OPTION 77445 PRE SBE72-0110 | aa-ad | 2 |
| 030A | ST1578 | • • NUT - CLINCH,SELF-LOCKING 27238 POST SBE72-0110 PRE SBE70-0821 | aa-ad | 2 |
| 030B | ST1578-10 | • • NUT - CLINCH,SELF-LOCKING 27238 POST SBE70-0821 | ae-af | 2 |
| -050 | 3A0085 | • • SUPPORT - A/O DIFFUSER OUTER | aa-af | REF |
| 070 | 3A0087 | • • • KEY - LOCATING | aa-af | 1 |
| 080 | 3A0088 | • • • SEAL - STRIP | aa-af | 1 |
| 120 | 3A0089 | • SEAL - STRIP | aa-af | 8 |
| 200 | 3A0090 | • DIFFUSER - ASSY,SEGMENT OUTER PRE SBE70-0078 | aa-af | 16 |
| 200A | 3A0958 | • DIFFUSER - ASSY SEGMENT OUTER POST SBE70-0078 | aa-af | 16 |
| 205 | 3A3023 | • SHIELD POST SBE70-0889 | af | 16 |
| 210 | ST1449-03 | • BOLT 77445 PRE SBE70-0889 | aa-ae | 16 |
| 210A | ST1449-04 | • BOLT 77445 POST SBE70-0889 | af | 16 |
| 260 | 3A0092 | • • PIN | aa-af | 2 |
| 290 | 3A0093 | • SEAL - STRIP PRE SBE70-0504 | aa-af | 16 |
| 290A | 3A2426 | • SEAL - STRIP POST SBE70-0504 | aa-af | 16 |
| - ITEM NOT ILLUSTRATED, ***** EFFECTIVITY NOT AVAILABLE | ||||
Figure: ENGINE-LP TURBINE DIFFUSER DUCT
LPT DUCT DIFFUSOR

