DMC:V2500-A1-72-60-42-01A-941A-DIssue No:002.00Issue Date:2018-08-01
Export Control
EAR Export Classification: Not subject to the EAR per 15 C.F.R. Chapter 1, Part 734.3(b)(3), except for the following Service Bulletins which are currently published as EAR Export Classification 9E991: SBE70-0992, SBE72-0483, SBE72-0580, SBE72-0588, SBE72-0640, SBE73-0209, SBE80-0024 and SBE80-0025.Copyright
© IAE International Aero Engines AG (2001, 2014 - 2021) The information contained in this document is the property of © IAE International Aero Engines AG and may not be copied or used for any purpose other than that for which it is supplied without the express written authority of © IAE International Aero Engines AG. (This does not preclude use by engine and aircraft operators for normal instructional, maintenance or overhaul purposes.).Applicability
All
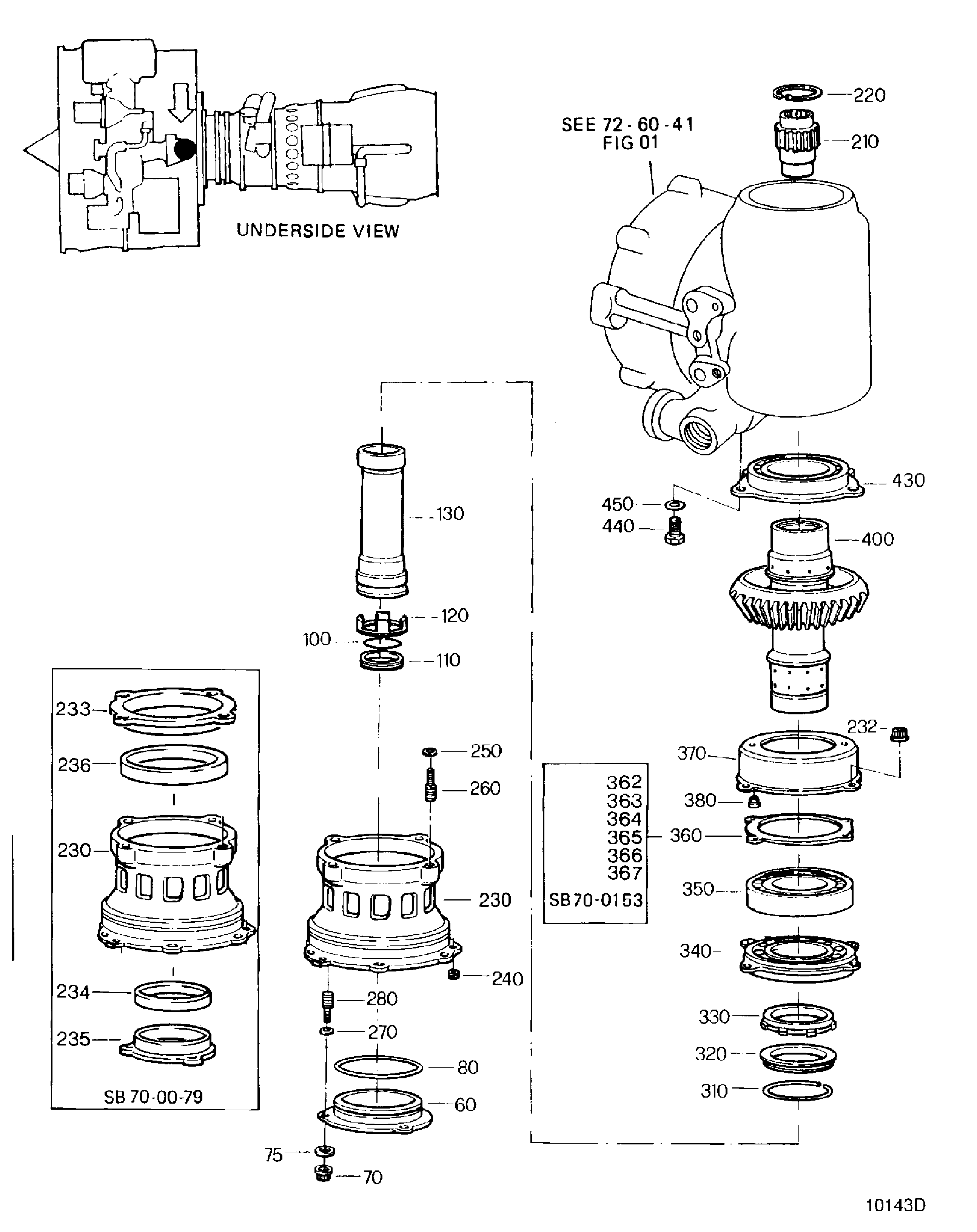
| Fig. Item | Part No. | Description | Effect/Model Applic. | UPA |
|---|---|---|---|---|
| 01 | ||||
| B72604201 | ENGINE - ANGLE GEARBOX DRIVING BEVEL GEAR ASSEMBLY, PRE SBE72-0012 | aa | ||
| SBE0012-01 | ENGINE - ANGLE GEARBOX DRIVING BEVEL GEAR ASSEMBLY, PRE SBE70-0095 | ab | ||
| SBE0095-01 | ENGINE - ANGLE GEARBOX DRIVING BEVEL GEAR ASSEMBLY, PRE SBE70-0153 | ac | ||
| SBE0153-01 | ENGINE - ANGLE GEARBOX DRIVING BEVEL GEAR ASSEMBLY, PRE SBE70-0169 | ad | ||
| SBE0169-01 | ENGINE - ANGLE GEARBOX DRIVING BEVEL GEAR ASSEMBLY, PRE SBE72-0414 | ae | ||
| SBE0414-01 | ENGINE - ANGLE GEARBOX DRIVING BEVEL GEAR ASSEMBLY, PRE SBE72-0482 | af | ||
| SBE0482-01 | ENGINE - ANGLE GEARBOX DRIVING BEVEL GEAR ASSEMBLY, PRE SBE72-0492 | ag | ||
| SBE0492-01 | ENGINE - ANGLE GEARBOX DRIVING BEVEL GEAR ASSEMBLY, PRE SBE70-0950 | ah | ||
| SBE0950-01 | ENGINE - ANGLE GEARBOX DRIVING BEVEL GEAR ASSEMBLY, PRE SBE70-0948 | ai | ||
| SBE0948-01 | ENGINE - ANGLE GEARBOX DRIVING BEVEL GEAR ASSEMBLY | aj | ||
| SBE0645-01 | ENGINE - ANGLE GEARBOX DRIVING BEVEL GEAR ASSEMBLY | ak | ||
| 060 | 4P0027 | • PLUG | aa-aj | 1 |
| 070 | 4W0002 | • NUT - 0.250 DIA PRE SBE72-0492 | aa-ag | 3 |
| 070A | 4W1246 | • BOLT - 0.250 DIA X 0.750 POST SBE72-0492 | ah-aj | 3 |
| 075 | MS9321-10 | • WASHER - FLAT, 0.500 X 0.276 X 0.062 96906 | aa-aj | 3 |
| 080 | AS3209-137 | • PACKING - PREFORMED U1653 | aa-aj | 1 |
| 100 | 4T0209 | • SEGMENT | aa-aj | 1 |
| 110 | 4T0208 | • WASHER - LOCK | aa-aj | 1 |
| 120 | 4T0207 | • NUT - 2.000 DIA | aa-aj | 1 |
| 130 | 4B0259 | • DUCT - OIL PRE SBE70-0169 | aa-aj | 1 |
| 130A | 4B0297 | • DUCT - OIL POST SBE70-0169 | aa-aj | 1 |
| 210 | 4P0198 | • SHAFT - RADIAL COUPLING | aa-aj | 1 |
| 220 | AS3215-130 | • RING - RETAINING U1653 | aa-aj | 1 |
| 230 | 4B0211 | • SUPPORT - RADIAL GEAR, ASSEMBLY OF PRE SBE72-0012 | aa-ah | 1 |
| 230A | 4B0272 | • SUPPORT - RADIAL GEAR, ASSEMBLY OF POST SBE72-0012 PRE SBE72-0492 | aa-ah | 1 |
| 230B | 4B0355 | • SUPPORT - RADIAL GEAR, ASSEMBLY OF A3460 POST SBE72-0492 PRE SBE70-0950 | aa-ah | 1 |
| 230C | 4B0375 | • SUPPORT - RADIAL GEAR, ASSEMBLY OF A3460 POST SBE70-0950 | aa-aj | 1 |
| 232 | 4W0002 | • NUT - 0.250 DIA PRE SBE72-0492 | aa-ag | 4 |
| 232A | 4W0170 | • BOLT - 0.250 DIA X 1.000 POST SBE72-0492 | ah-aj | 4 |
| 233 | 4L0033 | • • BUSHING - ,(VRS5091) A3460 | ***** | 1 |
| 234 | 4L0034 | • • BUSHING - ,(VRS5093) A3460 | ***** | 1 |
| 235 | 4L0035 | • • BUSHING - ,(VRS5094) A3460 | ***** | 1 |
| 236 | 4L0032 | • • BUSHING - ,(VRS5096) A3460 | ***** | 1 |
| 240 | 4P0040 | • • INSERT PRE SBE72-0492 | aa-ag | 3 |
| 240A | 1518M33P01 | • • INSERT - SCREW THREAD 07482 POST SBE72-0492 PRE SBE70-0950 | ah | 3 |
| 240B | 4T0318 | • • INSERT - SCREW THREAD A3460 POST SBE70-0950 | ah-aj | 3 |
| 250 | MS51990E105P | • • RING - LOCKING 96906 PRE SBE72-0492 | aa-ag | 4 |
| 260 | MS51551C205-12 | • • STUD 96906 PRE SBE72-0492 | aa-ag | 4 |
| 260A | MS21209F4-20L | • • INSERT 96906 POST SBE72-0492 | ah-aj | 4 |
| 270 | MS51990E105P | • • RING - LOCKING 96906 PRE SBE72-0492 | aa-ag | 3 |
| 280 | MS51551C205-10 | • • STUD 96906 PRE SBE72-0492 | aa-ag | 3 |
| 280A | MS21209F4-20L | • • INSERT 96906 POST SBE72-0492 | ah-aj | 3 |
| 310 | 4T0206 | • SEGMENT | aa-aj | 1 |
| 320 | 4T0205 | • WASHER - LOCK | aa-aj | 1 |
| 330 | 4T0204 | • NUT - 2.375 DIA | aa-aj | 1 |
| 340 | 4T0013 | • BEARING - ROLLER PRE SBE70-0095 PRE SBE72-0645 | ac-aj | 1 |
| 340A | 4T0010 | • BEARING - ROLLER POST SBE70-0095 PRE SBE72-0414 PRE SBE72-0645 | ac-ae | 1 |
| -340B | 4T0013 | • BEARING - ROLLER POST SBE70-0095 PRE SBE72-0414 PRE SBE72-0645 | ac-ae | REF |
| -340C | 4T0011 | • BEARING - ROLLER POST SBE70-0095 PRE SBE72-0414 PRE SBE72-0645 | ac-ae | REF |
| 340D | 4T0010 | • BEARING - ROLLER POST SBE72-0414 PRE SBE70-0948 PRE SBE72-0645 | af-ai | 1 |
| -340E | 4T0013 | • BEARING - ROLLER POST SBE72-0414 PRE SBE72-0414 PRE SBE72-0645 | af-ai | REF |
| -340F | 4T0011 | • BEARING - ROLLER POST SBE72-0414 PRE SBE72-0414 PRE SBE72-0645 | af-ai | REF |
| -340G | 4T0014 | • BEARING - ROLLER A3460 POST SBE72-0414 PRE SBE72-0414 PRE SBE72-0645 | af-ai | REF |
| 340H | 4T0010 | • BEARING - ROLLER POST SBE70-0948 PRE SBE72-0645 | aj | 1 |
| -340J | 4T0013 | • BEARING - ROLLER POST SBE70-0948 PRE SBE72-0645 | aj | REF |
| -340K | 4T0011 | • BEARING - ROLLER POST SBE70-0948 PRE SBE72-0645 | aj | REF |
| -340L | 4T0014 | • BEARING - ROLLER A3460 POST SBE70-0948 PRE SBE72-0645 | aj | REF |
| -340M | 4T0015 | • BEARING - ROLLER A3460 POST SBE70-0948 PRE SBE72-0645 | aj | REF |
| -340M | 4T0016 | • BEARING - ROLLER POST SBE72-0645 | ak | REF |
| 350 | 4T0021 | • BEARING - BALL PRE SBE70-0095 PRE SBE72-0645 | aa-ab | 1 |
| 350A | 4T0020 | • BEARING - ROLLER POST SBE70-0095 PRE SBE72-0414 PRE SBE72-0645 | ac-ae | 1 |
| -350B | 4T0021 | • BEARING - BALL POST SBE70-0095 PRE SBE72-0414 PRE SBE72-0645 | ac-ae | REF |
| -350C | 4T0023 | • BEARING POST SBE70-0095 PRE SBE72-0414 PRE SBE72-0645 | ac-ae | REF |
| 350D | 4T0020 | • BEARING - ROLLER POST SBE72-0414 PRE SBE70-0948 PRE SBE72-0645 | af-ai | 1 |
| -350E | 4T0021 | • BEARING - BALL POST SBE72-0414 PRE SBE72-0414 PRE SBE72-0645 | af-aj | REF |
| -350F | 4T0023 | • BEARING POST SBE72-0414 PRE SBE72-0414 PRE SBE72-0645 | af-aj | REF |
| -350G | 4T0024 | • BEARING - BALL A3460 POST SBE72-0414 PRE SBE72-0414 PRE SBE72-0645 | af-aj | REF |
| 350H | 4T0020 | • BEARING - ROLLER POST SBE70-0948 PRE SBE72-0645 | aj | 1 |
| -350J | 4T0021 | • BEARING - BALL POST SBE70-0948 PRE SBE72-0645 | aj | REF |
| -350K | 4T0023 | • BEARING POST SBE70-0948 PRE SBE72-0645 | aj | REF |
| -350L | 4T0024 | • BEARING - BALL A3460 POST SBE70-0948 PRE SBE72-0645 | aj | REF |
| -350M | 4T0025 | • BEARING - ROLLER A3460 POST SBE70-0948 PRE SBE72-0645 | aj | REF |
| -350N | 4T0026 | • BEARING - BALL A3460 POST SBE72-0645 | ak | REF |
| 360 | 4P0028 | • SHIM PRE SBE70-0153 | aa-af | 1 |
| 360A | 4P0303 | • SHIM POST SBE70-0153 PRE SBE72-0482 | aa-af | 1 |
| 360B | 4P0328 | • SHIM - LAMINATED POST SBE72-0482 | ag-aj | 1 |
| 362 | 4P0303CL01 | • SHIM - 0.024INS (0.60 MM) POST SBE70-0153 | ad-aj | 1 |
| 363 | 4P0303CL02 | • SHIM - 0.026INS (0.65 MM) POST SBE70-0153 | ad-aj | 1 |
| 364 | 4P0303CL03 | • SHIM - 0.028INS (0.70 MM) POST SBE70-0153 | ad-aj | 1 |
| 365 | 4P0303CL04 | • SHIM - 0.030INS (0.75 MM) POST SBE70-0153 | ad-aj | 1 |
| 366 | 4P0303CL05 | • SHIM - 0.031INS (0.80 MM) POST SBE70-0153 | ad-aj | 1 |
| 367 | 4P0303CL06 | • SHIM - 0.033INS (0.85 MM) POST SBE70-0153 | ad-aj | 1 |
| 370 | 4B0024 | • HOUSING - BEARING, ASSEMBLY OF | aa-aj | 1 |
| 400 | 4B0196 | • GEARSHAFT - BEVEL RAD, ASSEMBLY OF | aa-aj | 1 |
| 430 | 4T0013 | • BEARING - ROLLER PRE SBE70-0095 PRE SBE72-0645 | aa-ac | 1 |
| 430A | 4T0010 | • BEARING - ROLLER POST SBE70-0095 PRE SBE72-0414 PRE SBE72-0645 | ac-ae | 1 |
| -430B | 4T0013 | • BEARING - ROLLER POST SBE70-0095 PRE SBE72-0414 PRE SBE72-0645 | ac-ae | REF |
| -430C | 4T0011 | • BEARING - ROLLER POST SBE70-0095 PRE SBE72-0414 PRE SBE72-0645 | ac-ae | REF |
| 430D | 4T0010 | • BEARING - ROLLER POST SBE72-0414 PRE SBE70-0948 PRE SBE72-0645 | af-ai | 1 |
| -430E | 4T0013 | • BEARING - ROLLER POST SBE72-0414 PRE SBE72-0414 PRE SBE72-0645 | af-aj | REF |
| -430F | 4T0011 | • BEARING - ROLLER POST SBE72-0414 PRE SBE72-0414 PRE SBE72-0645 | af-aj | REF |
| -430G | 4T0014 | • BEARING - ROLLER A3460 POST SBE72-0414 PRE SBE72-0414 PRE SBE72-0645 | af-aj | REF |
| -430H | 4T0010 | • BEARING - ROLLER POST SBE70-0948 PRE SBE72-0645 | aj | 1 |
| -430J | 4T0013 | • BEARING - ROLLER POST SBE70-0948 PRE SBE72-0645 | aj | REF |
| -430K | 4T0011 | • BEARING - ROLLER POST SBE70-0948 PRE SBE72-0645 | aj | REF |
| -430L | 4T0014 | • BEARING - ROLLER A3460 POST SBE70-0948 PRE SBE72-0645 | aj | REF |
| -430M | 4T0015 | • BEARING - ROLLER A3460 POST SBE70-0948 PRE SBE72-0645 | aj | REF |
| -430N | 4T0016 | • BEARING - ROLLER POST SBE72-0645 | ak | REF |
| 440 | 4W1246 | • BOLT - 0.250 DIA X 0.750 | aa-aj | 4 |
| 450 | 4T0210 | • WASHER | aa-aj | 4 |
| - ITEM NOT ILLUSTRATED, ***** EFFECTIVITY NOT AVAILABLE | ||||
Figure: ENGINE-ANGLE GEARBOX DRIVING BEVEL GEAR ASSEMBLY
Angle Gearbox Driving Bevel Gear Assembly

