DMC:V2500-A1-79-21-41-01A-941A-DIssue No:005.00Issue Date:2020-08-01
Export Control
EAR Export Classification: Not subject to the EAR per 15 C.F.R. Chapter 1, Part 734.3(b)(3), except for the following Service Bulletins which are currently published as EAR Export Classification 9E991: SBE70-0992, SBE72-0483, SBE72-0580, SBE72-0588, SBE72-0640, SBE73-0209, SBE80-0024 and SBE80-0025.Copyright
© IAE International Aero Engines AG (2001, 2014 - 2021) The information contained in this document is the property of © IAE International Aero Engines AG and may not be copied or used for any purpose other than that for which it is supplied without the express written authority of © IAE International Aero Engines AG. (This does not preclude use by engine and aircraft operators for normal instructional, maintenance or overhaul purposes.).Applicability
All
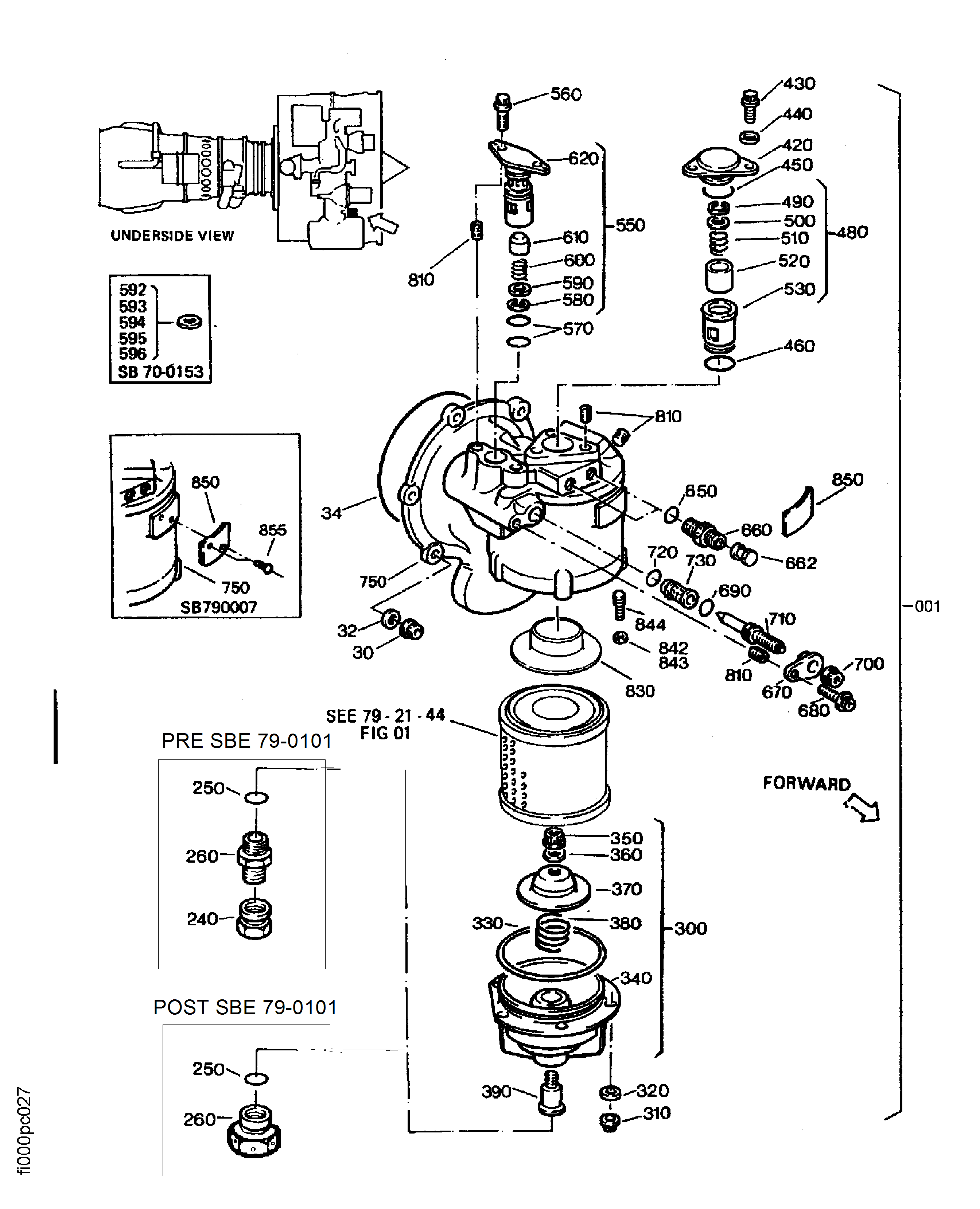
| Fig. Item | Part No. | Description | Effect/Model Applic. | UPA | |
|---|---|---|---|---|---|
| 01 | |||||
| B79214101 | OIL - PRESSURE PUMP/FILTER HOUSING, PRE SBE79-0007 | aa | |||
| SBE0007-01 | OIL - PRESSURE PUMP/FILTER HOUSING, PRE SBE79-0015 | ab | |||
| SBE0015-01 | OIL - PRESSURE PUMP/FILTER HOUSING, PRE SBE70-0153 | ac | |||
| SBE0153-01 | OIL - PRESSURE PUMP/FILTER HOUSING, PRE SBE79-0006 | ad | |||
| SBE0006-01 | OIL - PRESSURE PUMP/FILTER HOUSING, PRE SBE79-0071 | ae | |||
| SBE0071-01 | OIL - PRESSURE PUMP/FILTER HOUSING, PRE SBE70-0992 | af | |||
| SBE0992-01 | OIL - PRESSURE PUMP/FILTER HOUSING, PRE SBE79-0101 | ag | |||
| SBE0101-01 | OIL - PRESSURE PUMP/FILTER HOUSING | ah | |||
| 001 | 4A7076 | PUMP - FILTER PRE SBE79-0006 | aa-af | 1 | |
| 001A | 4A7077 | PUMP - FILTER, ASSEMBLY OF ALT 4A0852 POST SBE79-0006 PRE SBE79-0071 | aa-af | 1 | |
| 001B | 4A0852 | PUMP - FILTER A3460 ALT 4A7077 POST SBE79-0006 PRE SBE79-0006 | aa-ae | 1 | |
| 001C | 4A7115 | PUMP - OIL, PRESSURE, FILTER, ASSEMBLY OF POST SBE79-0071 PRE SBE79-0101 | af-ag | 1 | |
| 001D | 4A7110 | PUMP - FILTER, ASSEMBLY OF | aa-ah | 1 | |
| 001E | 4A7115A | PUMP - OIL, PRESSURE, ASSEMBLY OF A3460 POST SBE79-0101 | ah | 1 | |
| 030 | 4W0002 | • NUT - SELF LOCKING, DOUBLE HEXAGON, .250 DIA | aa-ah | 6 | |
| 032 | MS9321-10 | • WASHER - FLAT, 0.500 X 0.276 X 0.062 96906 | aa-ah | 6 | |
| 034 | AS3209-157 | • PACKING - PREFORMED U1653 | aa-ah | 1 | |
| 080 | 4P7016 | • GEAR - DRIVE, OIL PUMP | aa-ah | 1 | |
| 090 | 4W0002 | • NUT - SELF LOCKING, DOUBLE HEXAGON, .250 DIA | aa-ah | 1 | |
| 100 | MS9321-10 | • WASHER - FLAT, 0.500 X 0.276 X 0.062 96906 | aa-ah | 1 | |
| 200 | 4B7164 | • GEAR - DRIVE, ASSEMBLY OF PRE SBE79-0006 | aa-ad | 1 | |
| 200A | 4B7234 | • GEAR - DRIVE, ASSEMBLY OF POST SBE79-0006 PRE SBE79-0071 | ae | 1 | |
| 200B | 4B7307 | • GEAR - DRIVE, ASSEMBLY OF POST SBE79-0071 | ae-ah | 1 | |
| 210 | 4P7027 | • • BOLT | aa-ah | 1 | |
| 230 | 4P7165 | • GEAR - DRIVEN PRE SBE79-0006 | aa-ad | 1 | |
| 230A | 4P7235 | • GEAR - DRIVEN POST SBE79-0006 PRE SBE79-0071 | ae | 1 | |
| 230B | 4P7308 | • GEAR - DRIVEN POST SBE79-0071 | af-ah | 1 | |
| 240 | X | AS15826 | • NUT U1653 PRE SBE79-0101 | aa-ag | 1 |
| 250 | AS3208-08 | • PACKING - PREFORMED U1653 | aa-ah | 1 | |
| 260 | 4B7097 | • VALVE - PRESS PRIM, ASSEMBLY OF PRE SBE79-0101 | aa-ag | 1 | |
| 260A | MS9902-08 | • PLUG - MACHINE THREAD 96906 POST SBE79-0101 | ah | 1 | |
| 300 | 4A7042 | • COVER - OIL FILTER, ASSEMBLY OF | aa-ah | 1 | |
| 310 | 4W0002 | • NUT - SELF LOCKING, DOUBLE HEXAGON, .250 DIA | aa-ah | 6 | |
| 320 | MS9321-10 | • WASHER - FLAT, 0.500 X 0.276 X 0.062 96906 | aa-ah | 6 | |
| 330 | AS3209-153 | • PACKING - PREFORMED U1653 | aa-ah | 1 | |
| 340 | 4P7189 | • • COVER PRE SBE70-0992 | aa-af | 1 | |
| 340A | 4T0560 | • • COVER A3460 ALT 4P7189 POST SBE70-0992 | ag-ah | 1 | |
| -340B | 4P7189 | • • COVER ALT 4P7386 POST SBE70-0992 | ag-ah | REF | |
| -340C | 4P7386 | • • COVER - OIL FILTER ALT 4T0560 POST SBE70-0992 | ag-ah | REF | |
| 350 | 4W0002 | • • NUT - SELF LOCKING, DOUBLE HEXAGON, .250 DIA Optional Part 4W0002 | aa-ah | 1 | |
| 360 | MS9321-10 | • • WASHER - FLAT, 0.500 X 0.276 X 0.062 96906 | aa-ah | 1 | |
| 370 | 4P7038 | • • RING | aa-ah | 1 | |
| 380 | 4P7037 | • • SPRING | aa-ah | 1 | |
| 390 | 4P7036 | • • BOLT - SPECIAL | aa-ah | 1 | |
| 420 | 4P7043 | • COVER | aa-ah | 1 | |
| 430 | 4W0164 | • BOLT OPTION - .250 DIA X .625 | aa-ah | 3 | |
| 440 | MS9321-10 | • WASHER - FLAT, 0.500 X 0.276 X 0.062 96906 | aa-ah | 3 | |
| 450 | AS3209-122 | • PACKING - PREFORMED U1653 | aa-ah | 1 | |
| 460 | AS3209-119 | • PACKING - PREFORMED U1653 | aa-ah | 1 | |
| 480 | 4A7051 | • VALVE - ANTIDRAIN, ASSEMBLY OF | aa-ah | 1 | |
| 490 | AS3215-113 | • • RING - RETAINING U1653 | aa-ah | 1 | |
| 500 | 4P7124 | • • RING | aa-ah | 1 | |
| 510 | 4P7121 | • • SPRING | aa-ah | 1 | |
| 520 | 4P7122 | • • VALVE | aa-ah | 1 | |
| 530 | 4P7123 | • • CASING | aa-ah | 1 | |
| 550 | 4A7062 | • VALVE - RELIEF, ASSEMBLY OF PRE SBE70-0153 | aa-ah | 1 | |
| 550A | 4A7062 | • VALVE - RELIEF, ASSEMBLY OF POST SBE70-0153 | aa-ah | 1 | |
| 560 | 4W0164 | • BOLT OPTION - .250 DIA X .625 | aa-ah | 2 | |
| 570 | AS3209-116 | • PACKING - PREFORMED U1653 | aa-ah | 2 | |
| 580 | AS3215-107 | • • RING - RETAINING U1653 | aa-ah | 1 | |
| 590 | 4P7187 | • • RING PRE SBE70-0153 | aa-ah | 1 | |
| 590A | 4P7296 | • • RING POST SBE70-0153 | aa-ah | 1 | |
| 592 | 4P7296CL01 | • • RING POST SBE70-0153 | ad-ah | 1 | |
| 593 | 4P7296CL02 | • • RING POST SBE70-0153 | ad-ah | 1 | |
| 594 | 4P7296CL03 | • • RING POST SBE70-0153 | ad-ah | 1 | |
| 595 | 4P7296CL04 | • • RING POST SBE70-0153 | ad-ah | 1 | |
| 596 | 4P7296CL05 | • • RING POST SBE70-0153 | ad-ah | 1 | |
| 600 | 4P7183 | • • SPRING | aa-ah | 1 | |
| 610 | 4P7186 | • • VALVE PRE SBE79-0101 | aa-ag | 1 | |
| 610A | 4P7383 | • • VALVE ALT 4P7383-01 POST SBE79-0101 | ah | 1 | |
| -610B | 4P7383-01 | • • VALVE A3460 ALT 4P7383-02 POST SBE79-0101 | ah | REF | |
| -610C | 4P7383-02 | • • VALVE A3460 ALT 4P7383 POST SBE79-0101 | ah | REF | |
| 620 | 4P7184 | • • CASING | aa-ah | 1 | |
| 650 | X | AS3208-04 | • PACKING - PREFORMED U1653 PRE SBE79-0101 | aa-ag | 2 |
| 660 | X | 4P7099 | • ADAPTER - UNION PRE SBE79-0101 | aa-ag | 2 |
| 662 | AS15825 | • NUT - TUBE CLOSURE - ASSEMBLY OF U1653 PRE SBE70-0225 | ***** | 2 | |
| 670 | 4P7046 | • FLANGE | aa-ah | 1 | |
| 680 | 4W0164 | • BOLT OPTION - .250 DIA X .625 Optional Part 4W0164 | aa-ah | 1 | |
| 690 | AS3209-204 | • PACKING - PREFORMED U1653 | aa-ah | 1 | |
| 700 | 4W0004 | • NUT - 0.375 DIA Optional Part 4W0004 | aa-ah | 1 | |
| 710 | 4P7125 | • SCREW - TRIM VALVE | aa-ah | 1 | |
| 720 | AS3209-110 | • PACKING - PREFORMED U1653 | aa-ah | 1 | |
| 730 | 4P7129 | • STRAINER | aa-ah | 1 | |
| 750 | 4A7099 | • CASING - OIL, PUMP FILTER, ASSEMBLY OF PRE SBE79-0015 | aa-ad | 1 | |
| 750A | 4A7099 | • CASING - OIL, PUMP FILTER, ASSEMBLY OF POST SBE79-0015 PRE SBE79-0006 | aa-ad | 1 | |
| 750B | 4A7089 | • CASING - OIL, PUMP FILTER, ASSEMBLY OF POST SBE79-0006 PRE SBE79-0071 | ae | 1 | |
| 750C | 4A7083 | • CASING POST SBE79-0006 PRE SBE79-0006 | ***** | 1 | |
| 750D | 4A7304 | • CASING - OIL PUMP, ASSEMBLY OF POST SBE79-0071 PRE SBE79-0101 | af-ag | 1 | |
| 750E | 4A7304A | • CASE - OIL PUMP, ASSEMBLY OF A3460 POST SBE79-0101 | ah | 1 | |
| 760 | 4P7026 | • • BOLT PRE SBE79-0101 | aa-ag | 4 | |
| 760A | 4W1249 | • • BOLT - 0.250 DIA X 0.938 Optional Part 4W1249 POST SBE79-0101 | ah | 4 | |
| 770 | 4T7907 | • • PACKING - PREFORMED | aa-ah | 4 | |
| -780 | 4B7254 | • • COVER - ASSEMBLY OF POST SBE79-0006 PRE SBE79-0071 | ae | REF | |
| -790 | 4B7233 | • • CASING - OIL, PUMP FILTER, ASSEMBLY OF PRE SBE79-0015 | aa-ad | REF | |
| -790A | 4B7256 | • • CASING - OIL, PUMP FILTER, ASSEMBLY OF POST SBE79-0015 PRE SBE79-0006 | aa-ad | REF | |
| -790B | 4B7243 | • • CASING - OIL, PUMP FILTER, ASSEMBLY OF POST SBE79-0006 PRE SBE79-0071 | ae | REF | |
| -790C | 4B7305 | • • CASING - OIL, PUMP FILTER, ASSEMBLY OF POST SBE79-0071 PRE SBE79-0101 | ae-ag | REF | |
| -790D | 4B7376 | • • CASING - OIL, PUMP FILTER, ASSEMBLY OF POST SBE79-0101 | ah | REF | |
| 810 | MS21209F4-15L | • • • INSERT - WIRE, THREAD, 0.250 DIA 96906 | aa-ah | 13 | |
| 830 | 4P7106 | • • • SUPPORT - FILTER | aa-ah | 1 | |
| 831 | 4L7005 | • • • • BUSHING - ,(VRS5313) A3460 POST SBE70-0321 | ***** | 1 | |
| 832 | 4L7006 | • • • • BUSHING - ,(VRS5314) A3460 POST SBE70-0321 | ***** | 1 | |
| 833 | 4L7007 | • • • • BUSHING - ,(VRS5319) A3460 POST SBE70-0321 | ***** | 1 | |
| 834 | 4L7008 | • • • • BUSHING - ,(VRS5316) A3460 POST SBE70-0321 | ***** | 1 | |
| 835 | 4L7009 | • • • • BUSHING - ,(VRS5246) A3460 POST SBE70-0321 | ***** | 1 | |
| 836 | 4L7010 | • • • • BUSHING - ,(VRS5323) A3460 POST SBE70-0321 | ***** | 1 | |
| 837 | 4L7011 | • • • • BUSHING - ,(VRS5325) A3460 POST SBE70-0321 | ***** | 1 | |
| 842 | MS51997E103P | • • • RING - LOCKING 96906 | aa-ah | 6 | |
| 843 | MS51997E104103P | • RING 96906 POST SBE70-0454 | ***** | 1 | |
| 844 | MS51992C803-13 | • • • STUD 96906 | aa-ah | 6 | |
| 850 | 4P7048 | • PLATE - IDENTIFICATION PRE SBE79-0007 | aa | 1 | |
| 850A | 4P7239 | • PLATE - IDENTIFICATION POST SBE79-0007 PRE SBE79-0101 | ab-ag | 1 | |
| 850B | 4P7374 | • PLATE - IDENTIFICATION POST SBE79-0101 | ah | 1 | |
| 855 | MS21318-1 | • SCREW 96906 POST SBE79-0007 | ab-ah | 2 | |
| -860 | 4W2627 | • WIRE - THRUST Optional Part 4W2627 | aa-ah | 1 | |
| 952 | AS3209-128 | • PACKING - PREFORMED U1653 | aa-ah | 2 | |
| 954 | 4B0131 | STRAINER - PRESSURE PUMP, ASSEMBLY OF | aa-ah | 1 | |
| 962 | AS3209-116 | • PACKING - PREFORMED U1653 | aa-ah | 4 | |
| 964 | 4P7045 | • SLEEVE - PRESSURE PUMP | aa-ah | 1 | |
| - ITEM NOT ILLUSTRATED, ***** EFFECTIVITY NOT AVAILABLE | |||||
Figure: OIL-PRESSURE PUMP/FILTER HOUSING
PRESSURE OIL PUMP/FILTER HOUSING

PRESSURE OIL PUMP/FILTER HOUSING

