Export Control
EAR Export Classification: Not subject to the EAR per 15 C.F.R. Chapter 1, Part 734.3(b)(3), except for the following Service Bulletins which are currently published as EAR Export Classification 9E991: SBE70-0992, SBE72-0483, SBE72-0580, SBE72-0588, SBE72-0640, SBE73-0209, SBE80-0024 and SBE80-0025.Copyright
© IAE International Aero Engines AG (2001, 2014 - 2021) The information contained in this document is the property of © IAE International Aero Engines AG and may not be copied or used for any purpose other than that for which it is supplied without the express written authority of © IAE International Aero Engines AG. (This does not preclude use by engine and aircraft operators for normal instructional, maintenance or overhaul purposes.).Applicability
V2500-A5
Common Information
TASK 72-00-00-200-003-B00 Engine General - Examine (Borescope) The Combustion Chamber And The HPT Stage 1 Vanes, Inspection-003
General
All Fig/item numbers in the procedure agree with those used in the IPC. Only the primary Fig/item numbers are used. For the service bulletin alpha variants refer to the IPC.
For all parts identified in a different Chapter/Section/Subject, the applicable Chapter/Section/Subject comes before the Fig/item number.
For standard torque data and procedures refer to SPM TASK 70-41-00-400-501 and SPM TASK 70-41-02-400-501.
Special torque data is identified with the symbol * after the torque value.
Assembly tolerances are included in this procedure.
Lubricate all threads and abutment faces of nuts and bolts with CoMat 10-077 APPROVED ENGINE OILS approved engine oils, unless other lubricants are referred to in the procedure.
The number for each radial location must be identified in a clockwise direction. These start at the engine top position when you look from the rear of the engine, unless stated differently in the procedure.
Definitions and General Information
Use these terms when you identify a combustion chamber condition seen during borescope inspection:
BURN: A local area of liner segment surface that has changed colour, has a rough surface texture or shows thinner material because of high temperatures. Burns can be located all around but more are found downstream of combustion holes in the burner liner segment.
BURN-THROUGH HOLE: A local burn area that has continued through the base material and does not extend to the leading or trailing edge of the segment, Figure.
EDGE BURNBACK: Full thickness liner segment burns that start at an edge, occur more at the segment trailing edge location but have also occurred at the leading edge. Burnback is segment material that is missing. Complete edge burnback is when segment material is missing from the trailing edge to the leading edge, Figure.
RADIAL BURNBACK: Full thickness burning on deflector edge continuing radially inward toward the fuel nozzle.
THROUGH CRACK: A crack on the surface of the segment material that has penetrated beyond the surface into and past the parent material. Typically the crack will be black in color and liner segment separation will be visible at the crack location.
NON-THROUGH CRACK: An indication/crack on the segment material which does not extend beyond segment material. Non-through cracks are acceptable as-is and should not be added to the measurement of the through crack.
General inspection guidelines:
Give the results of decreased time inspections to your IAE representative.
If a piece of combustion chamber material breaks off between inspection times, a borescope inspection of the high pressure turbine is necessary. If the high pressure turbine is not damaged after the material breaks off you can continue the combustion chamber borescope inspections at the times given by other limits.
All spalled ceramic coating on the combustor segments, the bulkhead segments or the bulkhead deflectors is acceptable without a degreased borescope inspection time.
Use these terms when you identify an HPT 1st stage vane condition seen during borescope inspection:
BURNS: A local area of 1st stage vane surface that has changed colour, has a rough surface texture or shows thinner material because of high temperatures. Burns can be located all round.
BURN-THROUGH: A local burn area that has continued through the airfoil surface. Cracks that have burned to more than 0.050 in. (1.269 mm) separation are also considered burn-through.
TRAILING EDGE BURNS: Burns or burn-through that starts at the airfoil trailing edge and continue forward to the airfoil leading edge.
LIFT UP: An area where the surface on one side of a crack is higher than the surface on the other side of the crack.
COATING DAMAGE: Chips, spalling, flakes, blisters, peeling or oxidation that is confined to the coating.
CONNECTED LOOP CRACK: A crack or a group of cracks that show an isolated area of vane metal.
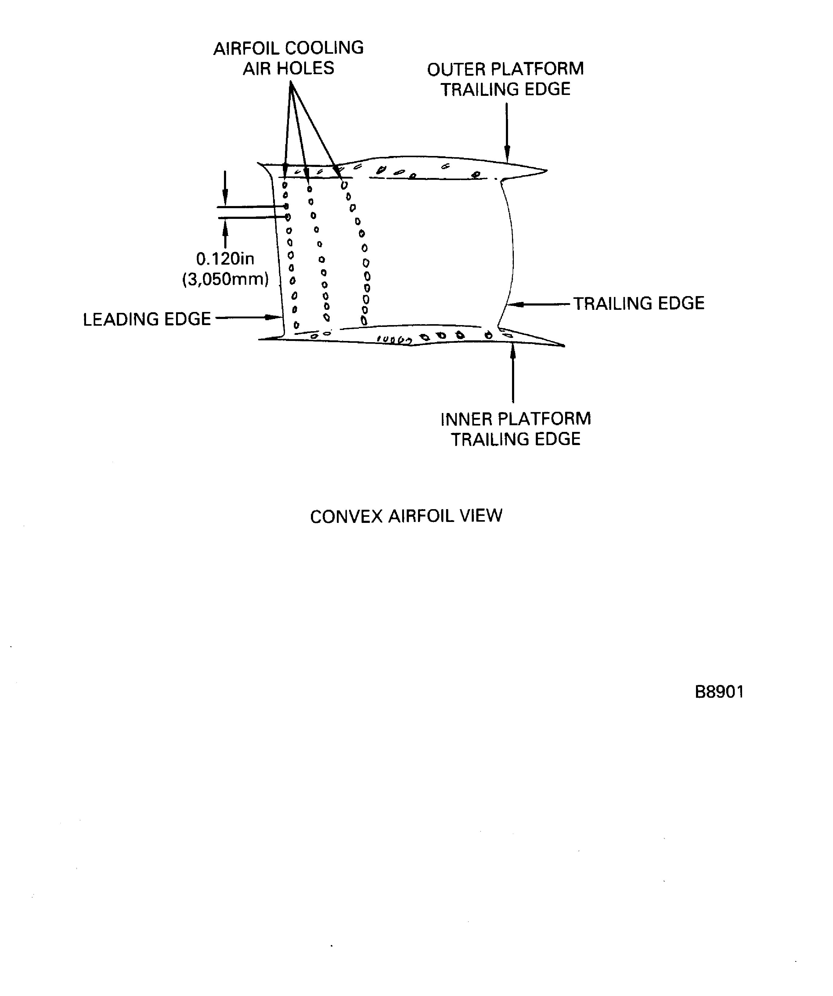
LEADING EDGE: The area from the first row of cooling holes on the concave side of the vane to the first row of cooling holes on the convex side of the vane.
ONE QUARTER CORD LENGTH: The length from the trailing edge to the second row of cooling holes or 0.50 in. (12.7 mm).
ONE HALF CORD LENGTH: The length from the trailing edge to the fifth row of cooling holes or 1.00 in. (25.4 mm).
THREE QUARTER CORD LENGTH: The length equal to 1.50 in. (38.1 mm).
General inspection guidelines:
Give the results of decreased time inspections to your IAE representative.
All ceramic coating damage is acceptable without a decreased borescope inspection time. Extended operation with a large quantity of ceramic coating not there can possibly cause the vane to be out of time limits and cannot be repaired at overhaul.
NOTE
NOTE
Preliminary Requirements
Pre-Conditions
NONESupport Equipment
| Name | Manufacturer | Part Number / Identification | Quantity | Remark |
|---|---|---|---|---|
| Cover (eye) | LOCAL | Cover (eye) | ||
| Flexible borescope (probe dia. 0.24 to 0.31 in. (6.0 to 8.0 mm) with view capability of 180 degrees up and down) | LOCAL | Flexible Borescope | ||
| Rigid borescope | LOCAL | Rigid borescope | ||
| Torque Wrench - 0 to 1000 lbf.in range | LOCAL | Torque Wrench |
Consumables, Materials and Expendables
| Name | Manufacturer | Part Number / Identification | Quantity | Remark |
|---|---|---|---|---|
| CoMat 10-077 APPROVED ENGINE OILS | X333X | CoMat 10-077 | ||
| CoMat 10-094 ANTI-SEIZE COMPOUND, PURE Ni-SPECIAL | K2147 | CoMat 10-094 | ||
| CoMat 10-129 ANTI-SEIZE PASTE | 34568 | CoMat 10-129 | ||
| CoMat 02-141 LOCKWIRE | LOCAL | CoMat 02-141 |
Safety Requirements
CAUTION
Procedure

CAUTION
THE LIMITS THAT FOLLOW ARE APPLICABLE ON A CONTINUE-IN-SERVICE BASIS ONLY. EACH LIMIT IS BASED ON WHAT THE STRUCTURE OF THE VANE MUST BE AND DOES NOT INDICATE THAT THERE WILL NOT BE DETERIORATION OF THE ENGINE PERFORMANCE, STABILITY, OPERATING LIMITS OR PART REPAIRABILITY.Refer to Figure.
NOTE
A cover for the eye which is not used will decrease eye tension.
SUBTASK 72-00-00-220-105 Examine the Combustion Chamber and the Stage 1 HPT Vanes for Damage
All cracks or sections of cracks burned to a width of more than 0.050 in. (1.270 mm) are burn-through holes. Use the applicable burn limits.
If a convex or concave burn extends to the leading edge, you must use leading edge criteria.
SUBTASK 72-00-00-220-106 Convex and Concave Surface Cracks/Burns
NOTE
Refer to Figure.
SUBTASK 72-00-00-220-109 Cracks on Inner and Outer Platforms
Refer to Figure.
SUBTASK 72-00-00-220-110 Cracks on the Inner and Outer Platform Airfoil Fillet Radii
Refer to Figure.
SUBTASK 72-00-00-220-111 Burns on the Inner and Outer Platforms
There are two or more axial cracks, one crack is completely through the segment and is more than 0.700 in. (17.78 mm) from a circumferential edge. No other crack is more than half the axial length of the segment or nearer than 0.700 in. (17.78 mm) to a circumferential edge.
NOTE
You must also do a borescope inspection of the Stage 1 HPT blades (TASK 72-00-00-200-004-B00) each 300 hours if liner segments are on a 300 hour repeat borescope inspection for segment cracking.
Accept burner liner segments that do not have combustion holes with an inspection each 600 hours if:
There are cracks that can cause a piece of segment material not more than 0.25 sqin. (161.29 sqmm) in area to break off.
NOTE
You must also do a borescope inspection of the Stage 1 HPT blades (TASK 72-00-00-200-004-B00) each 300 hours if liner segments are on a 300 hour repeat borescope inspection for segment cracking.
Accept burner liner segments that have combustion holes with an inspection each 300 hours if:
SUBTASK 72-00-00-220-112 Burner Liner Segment Cracks
If the trailing edge burnback is more than 1.00 in. (25.40 mm) you must do a borescope inspection of the Stage 1 HPT blades (TASK 72-00-00-200-004-B00) each 300 hours.
Accept burner liner segments with an inspection each 300 hours if:
NOTE
A maximum of three liner shell damage locations for each burner assembly is allowed.
SUBTASK 72-00-00-220-113 Segment Edge Burnback
Accept segments (with or without combustion holes), Figure without a decreased borescope inspection time if:
Accept segments (with or without combustion holes), Figure with an inspection each 600 hours if:
Accept segments (with or without combustion holes), Figure with an inspection each 300 hours if:
SUBTASK 72-00-00-220-114 Surface Burns and Burn-Through Holes in Liner Segments
Refer to Figure.
There are two or more cracks more than 0.375 in. (9.53 mm) on the same side of one bulkhead segment.
NOTE
You must also do a borecope inspection of the Stage 1 HPT blades (Ref. TASK 72-00-00-200-004-B00) each 300 hours if the combustor is on a 300 hour repeat borescope inspection for bulkhead segment cracking.
Accept all bulkhead segments with a 600 hour repeat borescope inspection if:
There are two or more cracks on the same side of one bulkhead segment. At least one crack extends from the edge of the bulkhead segment under the fuel nozzle guide or to the inner rim of the bulkhead segment and another at least 0.375 in. (9.53 mm). These cracks must be separated by less than 0.50 in. (12.70 mm).
Accept all bulkhead segments with 300 hour repeat borescope inspection if:
There are two or more cracks on the same side of one bulkhead segment. At least one crack extends from the edge of the bulkhead segment under the fuel nozzle guide or to the inner rim of the bulkhead segment, and another at least 0.375 in. (9.53 mm). These cracks are separated by more than 0.50 in. (12.70 mm).
Reject if:
SUBTASK 72-00-00-220-115 Bulkhead Segment Cracks
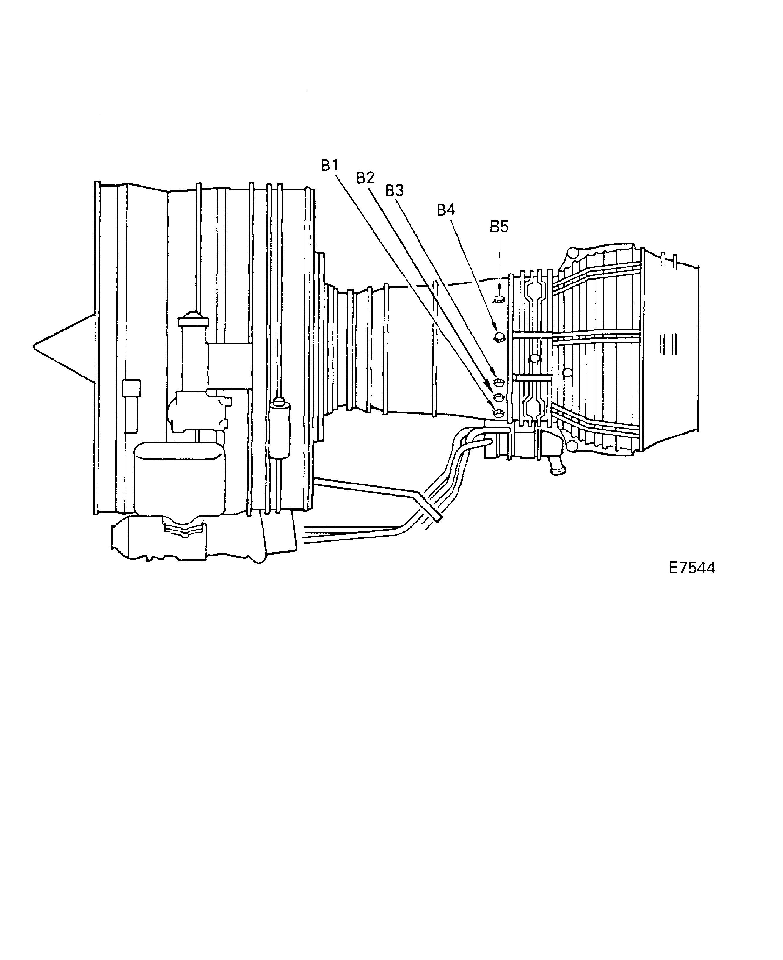
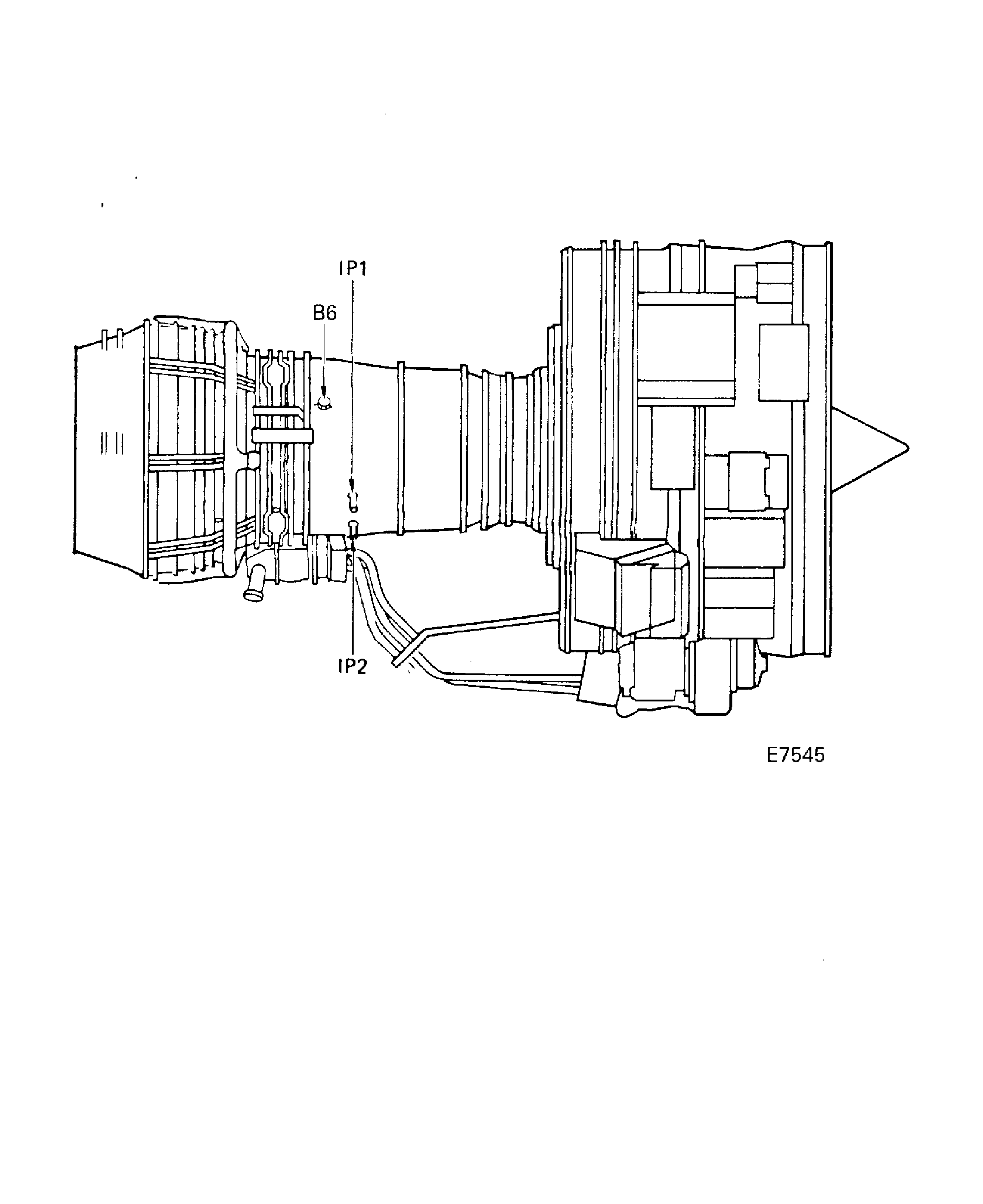
Lubricate the plug Diffuser Case Assembly And Fittings (72-42-10, 01-020) threads with CoMat 10-129 ANTI-SEIZE PASTE or CoMat 10-094 ANTI-SEIZE COMPOUND, PURE Ni-SPECIAL.
Install the plugs Diffuser Case Assembly And Fittings and (72-42-10, 01-010) gaskets six locations, Figure and Figure. Remove the unwanted paste.
Safety the plugs with CoMat 02-141 LOCKWIRE.
For the B1 through B6 ports:
NOTE
It is permissible to correct minor thread damage to the threaded hole with a 0.5625-18UNJF-3B tap.
SUBTASK 72-00-00-420-078 Close the Borescope Inspection Ports, after the Borescope Inspection is completed, as follows
Figure: Borescope Ports for Inspection of the Combustion Chamber Liners and First Stage Vanes (Left Side)
Borescope Ports for Inspection of the Combustion Chamber Liners and First Stage Vanes (Left Side)

Figure: Borescope Ports for Inspection of the Combustion Chamber Liners and First Stage Vanes (Right Side)
Borescope Ports for Inspection of the Combustion Chamber Liners and First Stage Vanes (Right Side)

Figure: Borescope Ports
Borescope Ports

Figure: Borescope Inspection Ports for the First Stage Vanes and the Combustion Chamber Liner
Borescope Inspection Ports for the First Stage Vanes and the Combustion Chamber Liner

Figure: HPT 1st Stage Vane Area Names and Dimensional References
HPT 1st Stage Vane Area Names and Dimensional References

Figure: HPT 1st Stage Vane Area Names and Dimensional References
HPT 1st Stage Vane Area Names and Dimensional References

Figure: HPT 1st Stage Vane Area Names and Dimensional References
HPT 1st Stage Vane Area Names and Dimensional References

Figure: HPT 1st Stage Vane Area Names and Types of Damage
HPT 1st Stage Vane Area Names and Types of Damage

Figure: HPT 1st Stage Vane Area Names and Types of Damage
HPT 1st Stage Vane Area Names and Types of Damage

Figure: HPT 1st Stage Vane Area Names and Burn Conditions
HPT 1st Stage Vane Area Names and Burn Conditions

Figure: HPT 1st Stage Vane Area Names and Types of Damage
HPT 1st Stage Vane Area Names and Types of Damage

Figure: Combustion Chamber Area Names
Combustion Chamber Area Names

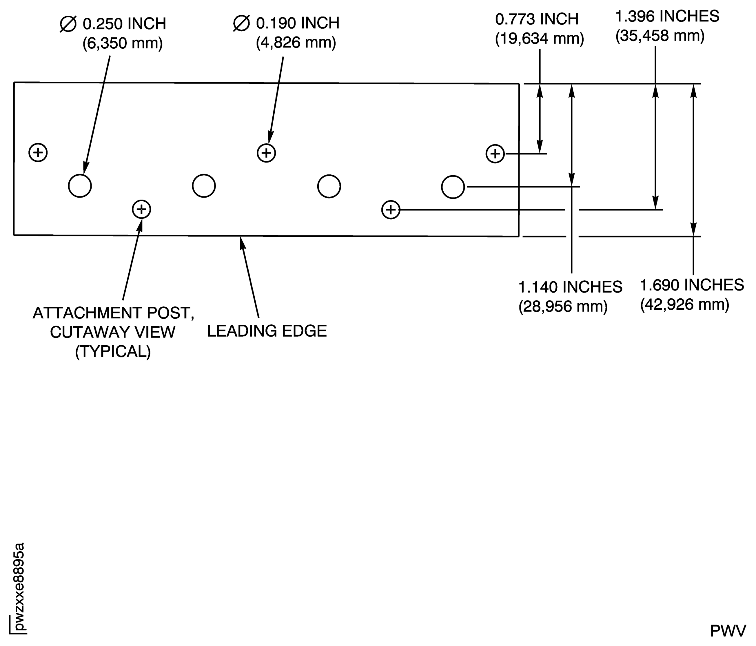
Figure: Inner Combustion Chamber Liner Segments Dimensions References
Inner Combustion Chamber Liner Segments Dimensions References

Figure: Outer Combustion Chamber Liner Segments Dimensions References
Outer Combustion Chamber Liner Segments Dimensions References

Figure: Combustion Chamber Liner Segments Borescope Inspection Guidelines
Combustion Chamber Liner Segments Borescope Inspection Guidelines

Figure: Combustion Chamber Liner Segment Crack Limits
Combustion Chamber Liner Segment Crack Limits

Figure: Combustion Chamber Liner Segment Crack Limits
Combustion Chamber Liner Segment Crack Limits

Figure: Combustion Chamber Liner Segment Burn Limits
Combustion Chamber Liner Segment Burn Limits

Figure: Liner (Bulkhead) Segment Inspection Area and Cracks
Liner (Bulkhead) Segment Inspection Area and Cracks

Figure: Combustion Chamber Bulkhead Segment Burn Hole
Combustion Chamber Bulkhead Segment Burn Hole

Figure: Combustion Chamber Bulkhead Deflector Cracks and Burnback
Combustion Chamber Bulkhead Deflector Cracks and Burnback

Figure: Bulkhead Deflector Burnback
Sheet 1

Figure: Bulkhead Deflector Burnback
Sheet 2

Figure: Bulkhead Deflector Burnback
Sheet 3

Figure: Bulkhead Deflector Burnback
Sheet 4

Figure: Bulkhead Deflector Burnback
Sheet 5

Figure: Bulkhead Deflector Burnback
Sheet 6

Figure: Bulkhead Deflector Burnback
Sheet 7

Figure: Burnback Limits for Combustion Chamber Rejection
Burnback Limits for Combustion Chamber Rejection

Figure: Burnback Limits for 300 Hour Inspection
Burnback Limits for 300 Hour Inspection

Figure: Combustion Chamber Outer Liner Row 1 (with Igniter Holes)
Combustion Chamber Outer Liner Row 1 (with Igniter Holes)

Figure: Combustion Chamber Outer Liner Row 2
Combustion Chamber Outer Liner Row 2

Figure: Combustion Chamber Outer Liner Row 3
Combustion Chamber Outer Liner Row 3

Figure: Combustion Chamber Outer Liner Row 4
Combustion Chamber Outer Liner Row 4

Figure: Combustion Chamber Inner Liner Row 2
Combustion Chamber Inner Liner Row 2

Figure: Combustion Chamber Inner Liner Row 3
Combustion Chamber Inner Liner Row 3

Figure: Combustion Chamber Inner Liner Row 4
Combustion Chamber Inner Liner Row 4

Figure: Fuel Nozzle Types of Damage
Fuel Nozzle Types of Damage

Figure: Fuel Nozzle End Cap Inspection Area
Sheet 1

Figure: Fuel Nozzle End Cap Inspection Area
Sheet 2

