Export Control
EAR Export Classification: Not subject to the EAR per 15 C.F.R. Chapter 1, Part 734.3(b)(3), except for the following Service Bulletins which are currently published as EAR Export Classification 9E991: SBE70-0992, SBE72-0483, SBE72-0580, SBE72-0588, SBE72-0640, SBE73-0209, SBE80-0024 and SBE80-0025.Copyright
© IAE International Aero Engines AG (2001, 2014 - 2021) The information contained in this document is the property of © IAE International Aero Engines AG and may not be copied or used for any purpose other than that for which it is supplied without the express written authority of © IAE International Aero Engines AG. (This does not preclude use by engine and aircraft operators for normal instructional, maintenance or overhaul purposes.).Applicability
V2500-A5
Common Information
TASK 72-00-00-200-005-B00 Engine General - Examine (Borescope) The HPT Stage 2 Blades, Inspection-005
General
All Fig/item numbers in the procedure agree with those used in the IPC. Only the primary Fig/item numbers are used. For the service bulletin alpha variants refer to the IPC.
For all parts identified in a different Chapter/Section/Subject, the applicable Chapter/Section/Subject comes before the Fig/item number,
For standard torque data and procedures refer to SPM TASK 70-41-00-400-501, SPM TASK 70-41-00-400-501 and SPM TASK 70-41-01-400-501.
Special torque data is identified with the symbol * after the torque value.
Assembly tolerances are included in this procedure.
Lubricate all threads and abutment faces of nuts and bolts with CoMat 10-077 APPROVED ENGINE OILS, unless other lubricants are referred to in the procedure.
The number for each radial location must be identified in a clockwise direction. These start at the engine top position when you look from the rear of the engine, unless stated differently in the procedure.
Definitions and General Information
This TASK gives the procedure for the borescope inspection of the stage 2 HPT blades.
NOTE
The names of the different parts and areas and dimensional references of the Stage 2 HPT blades are shown in Figure.
Use the names which follow when you identify a blade condition seen at borescope inspection:
Erosion: A smooth area at the tip that shows material is gone.
Leading Edge Burn-Through: A hole in the leading edge open to the cooling air passage.
Burns: A local area that is rough, not the initial color, or where there is no material.
Coating damage: Chipping, flaking, blistering, peeling or oxidation of the blade confined to coating.
Nick or dent: A distorted area that can be smooth, have cracks, a hole that is open to the cooling air passages, or a combination of holes and cracks.
NOTE
NOTE
Preliminary Requirements
Pre-Conditions
NONESupport Equipment
| Name | Manufacturer | Part Number / Identification | Quantity | Remark |
|---|---|---|---|---|
| Rigid boroscope (6 or 8 mm) | LOCAL | Boroscope | ||
| Cover (eye) | LOCAL | |||
| Motor Drive Unit | LOCAL | |||
| Torque wrench, range 0 to 250 lbfin (0 to 20 Nm) | LOCAL | Torque Wrench 0-250 | range 0 to 250 lbfin (0 to 28.246 Nm) | |
| IAE 1P16184 Puller | 0AM53 | IAE 1P16184 | 1 |
Consumables, Materials and Expendables
| Name | Manufacturer | Part Number / Identification | Quantity | Remark |
|---|---|---|---|---|
| CoMat 02-141 LOCKWIRE | LOCAL | CoMat 02-141 | ||
| CoMat 10-077 APPROVED ENGINE OILS | X333X | CoMat 10-077 | ||
| CoMat 10-094 ANTI-SEIZE COMPOUND, PURE Ni-SPECIAL | LOCAL | CoMat 10-094 | ||
| CoMat 10-129 ANTI-SEIZE PASTE | 34568 | CoMat 10-129 |
Safety Requirements
WARNING
CAUTION
Procedure
Refer to Figure.
SUBTASK 72-00-00-420-082 Install the Foot-Operated Motor Drive Unit to the Gearbox Crank Pad
Put the IAE 1P16184 Puller 1 off in to the center hole of the plug (use if required).
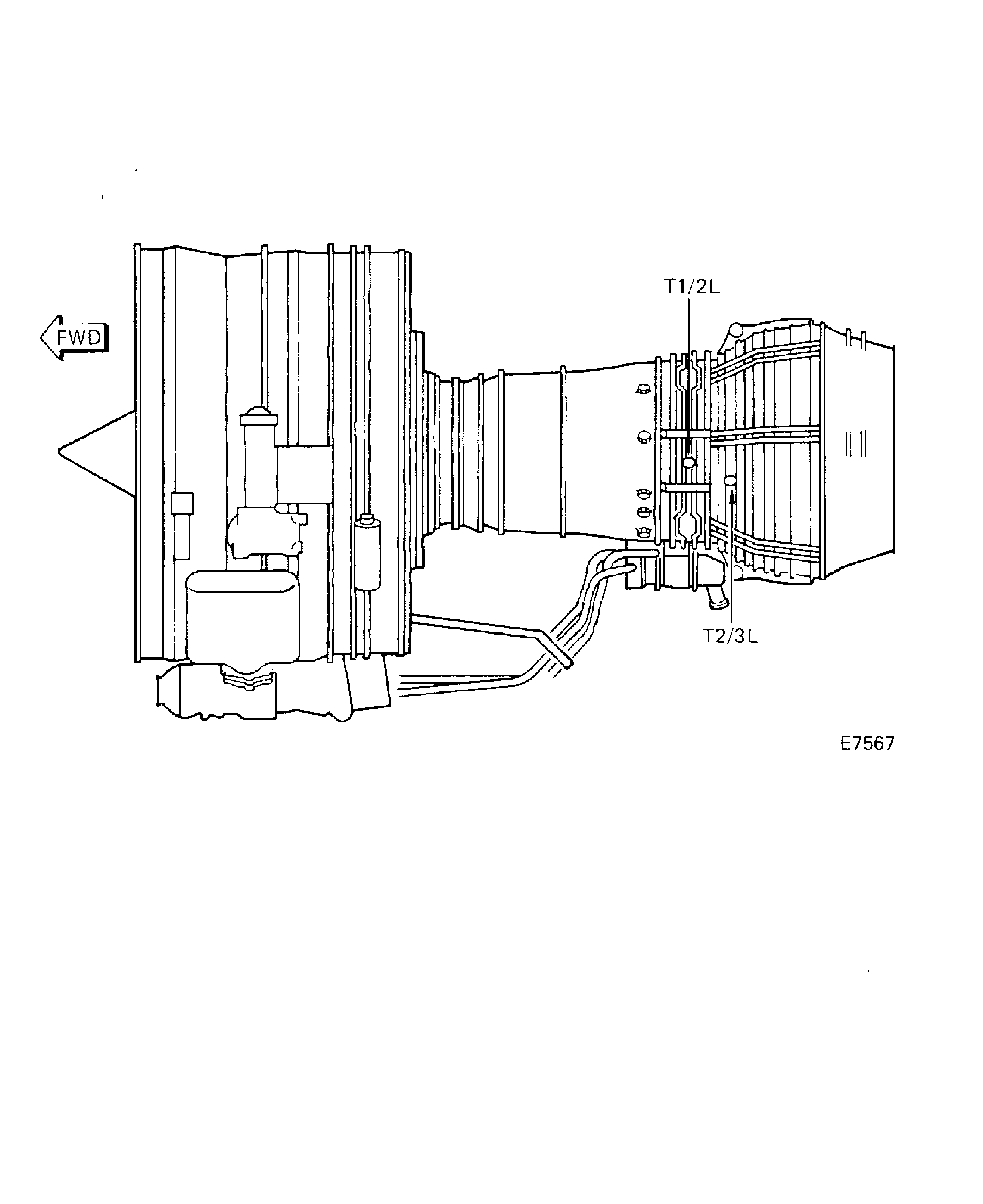
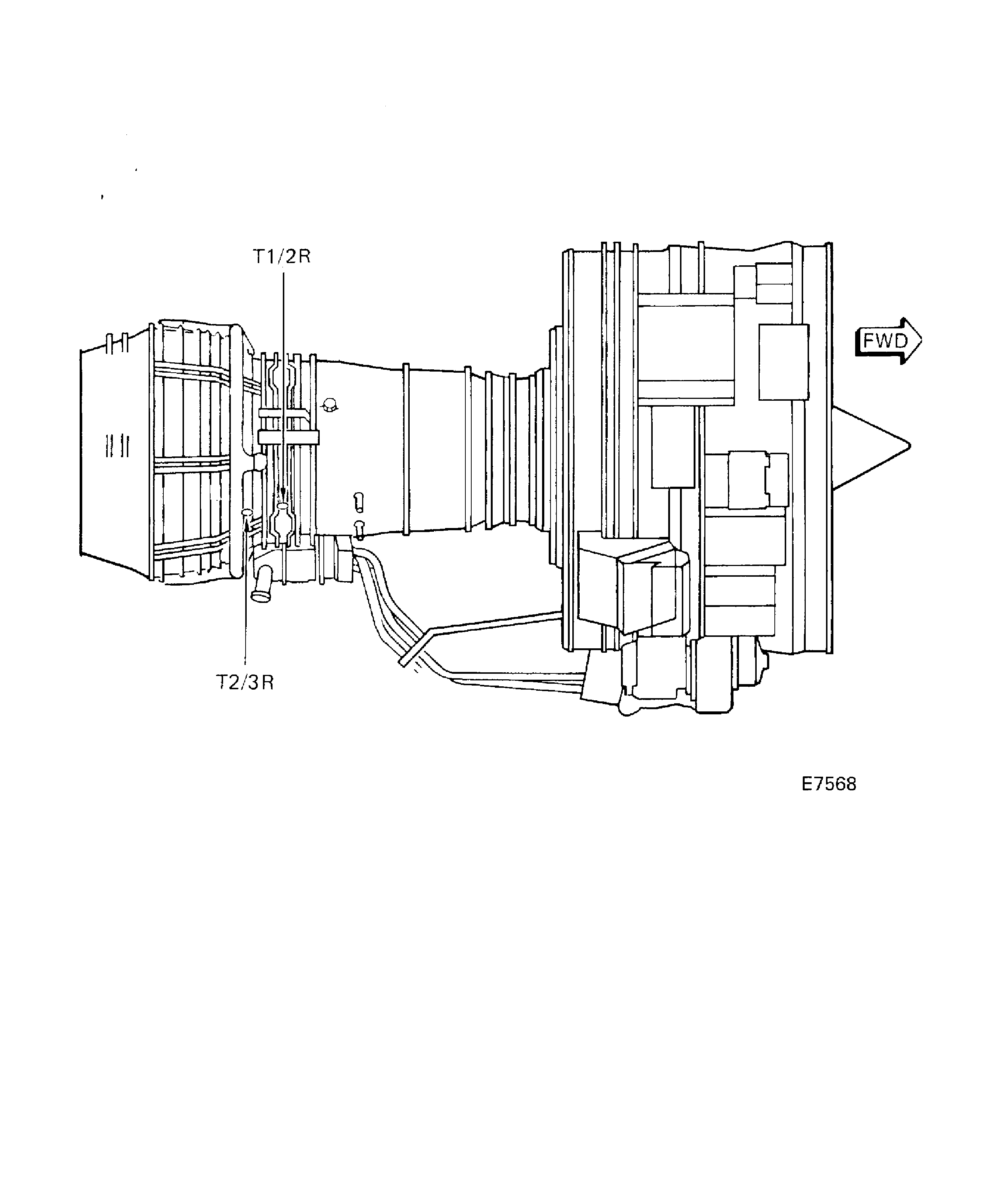
Get access to the T1/2L and the T1/2R ports, Figure.
Get access to the T2/3L and the T2/3R ports, Figure.
SUBTASK 72-00-00-020-074 Get Access to the Stage 2 HPT Blades through the T1/2L or T1/2R or T2/3L or T2/3R Ports, and

WARNING
MAKE SURE THAT THE BLANKING PLUG IS SUFFICIENTLY COOL BEFORE REMOVAL. THE TEMPERATURE STAYS HIGH FOR A SHORT TIME AFTER ENGINE SHUTDOWN.NOTE
Removal of the plugs at both of the locations will permit you to examine both leading and trailing edges.Put the Rigid boroscope (6 or 8 mm) 1 off through the T1/2L or T1/2R port, Figure.
Put a flexible borescope through the T1/2L or T1/2R port, Figure.
Put a rigid borescope through the T2/3L or T2/3R port, Figure.
SUBTASK 72-00-00-220-125 Do a Borescope Inspection of the Stage 2 HPT Blades
NOTE
A cover for the eye which is not used will decrease eye tension.Time/Cycle Limits Interval
Area A
Area B
Area C
Area D
Area TE
Area Platform
600 Hours
The nick or dent has cracks and the total length of the nick or dent plus the cracks is less than 0.150 inch (3.81 mm) long axially or less than 0.180 inch (4.57 mm) long radially
The nick or dent has a hole or a hole with cracks and the total length of the nick or dent plus the hole or hole with a crack is less than 0.100 inch (2.54 mm) long axially or less than 0.180 in. (4.57 mm) long radially
The hole is less than 0.040 inch (1.01 mm) long axially and less than 0.050 inch (1.27 mm) long radially
300 Hours
The nick or dent has cracks, a hole or a hole with cracks and the total length of the nick or dent plus the crack is less than 0.120 inch (3.05 mm) long axially or less than 0.140 inch (3.55 mm) long radially
The nick or dent has cracks, a hole or a hole with cracks and the total length of the nick or dent plus the crack is between 0.150 inch (3.81 mm) and 0.200 inch (5.08 mm) long axially or between 0.180 inch (4.57 mm) and 0.450 inch (11.43 mm) long radially
The nick or dent has cracks, a hole or a hole with cracks and the total length of the nick or dent plus the crack is between 0.150 inch (3.81 mm) and 0.250 inch (6.35 mm) long axially or between 0.180 inch (4.57 mm) and 0.450 inch (11.43 mm) long radially
There is a nick
The hole is between 0.040 inch (1.01 mm) and 0.080 inch (2.03 mm) long axially or is between 0.050 inch (1.27 mm) and 0.100 inch (2.54 mm) long radially
There is a dent with a depth greater than 0.015 inch (0.381 mm) or the dent does not have a smooth bottom
150 Hours
Reject if
The nick or dent has cracks, a hole or a hole with cracks and the total length of the nick or dent plus the crack is more than 0.120 inch (3.05 mm) long axially or more than 0.140 inch (3.55 mm) long radially
The nick or dent has cracks, a hole or a hole with cracks and the total length of the nick or dent plus the crack is more than 0.200 inch (5.08 mm) long axially or more than 0.450 inch (11.43 mm) long radially
The nick or dent has cracks, a hole or a hole with cracks and the total length of the nick or dent plus the crack is more than 0.250 inch (6.35 mm) long axially or more than 0.450 inch (11.43 mm) long radially
There is a nick or dent with signs of burns, torn metal or cracks
The nick or dent is in the trailing edge of Area D and has a depth greater than 0.005 inch (0.13 mm) or less than 0.350 inch (8.89 mm) from the blade platform
There is a hole larger than 0.080 inch (2.03 mm) axially or 0.100 inch (2.54 mm) radially
There is a hole
There is more than one hole
NOTE
The trailing edge of the Stage 2 HPT blade can be blended per EM repair VRS3240. Blends on the trailing edge of the blade will be smooth and round bottomed and made in the shape of the initial contour. Blades that have been blended in accordance with VRS3240 are acceptable and can continue on in service.NOTE
Manufacturer's holes are not included.NOTE
Axial tip cracks may have the potential of releasing the blade tip, which may cause minor gaspath downstream damage.NOTE
The most restrictive limits apply.
SUBTASK 72-00-00-220-126 Examine the Blades for Nicks, Dents and Holes on the Airfoil of the Stage 2 HPT Blades
Time/Cycle Limits Interval
Area A
Area B
Area C
Area D
Area TE
Area Platform
600 Hours
The erosion or burn is on the airfoil trailing edge in Area D
The erosion or burn is on the airfoil trailing edge in Area C and is longer than 0.100 inch (2.54 mm) long axially or 0.200 inch (5.08 mm) long radially
The erosion or burn is on the leading edge and extends more than one-quarter of the airfoil radial length
The erosion or burn on the platform has gone through the coating
The erosion or burn on the leading edge has changed the shape of the airfoil
The erosion or burn on the airfoil has gone through the coating. This does not include burns on the leading edge
300 Hours
150 Hours
Reject if
The erosion or burn is in Area C and is more than 0.250 inch (6.35 mm) long axially
The erosion or burn is in Area D and is more than 0.050 inch (1.27 mm) long radially
The burn on the platform increases the gap with the adjacent blade platform to more than 0.050 inch (1.27 mm)
The burn on the platform goes into the airfoil fillet radius
The erosion or burn has an adjacent area which shows signs of cracks
The erosion or burn on the airfoil or platform permits internal areas to show, the internal areas are where air goes that is used to cool the blade
The erosion or burn on the airfoil or platform changes the shape of the airfoil, this does not include burns on the leading edge
NOTE
The trailing edge of the Stage 2 HPT blade can be blended per EM repair VRS3240. Blends on the trailing edge of the blade will be smooth and round bottomed and made in the shape of the initial contour. Blades that have been blended in accordance with VRS3240 are acceptable and can continue on in service.NOTE
Manufacturer's holes are not included.NOTE
Axial tip cracks may have the potential of releasing the blade tip, which may cause minor gaspath downstream damage.NOTE
The most restrictive limits apply.
SUBTASK 72-00-00-220-127 Examine the Blades for Erosion or Burns on the Airfoil or Platform of the Stage 2 HPT Blades
Time/Cycle Limits Interval
Area A
Area B
Area C
Area D
Area TE
Area Platform
600 Hours
The crack is less than 0.080 inch (2.03 mm) long axially or less than 0.180 inch (4.57 mm) long radially
The trailing edge crack is in Area C and is less than 0.300 inch (7.62 mm) long in any direction
300 Hours
The crack is less than 0.080 inch (2.03 mm) long axially or less than 0.140 inch (3.56 mm) long radially
The crack is between 0.080 inch (2.03 mm) and 0.140 inch (3.56 mm) long axially or between 0.180 inch (4.57 mm) and 0.360 inch (9.14 mm) long radially
The crack is between 0.080 inch (2.03 mm) and 0.610 inch (15.49 mm) long axially or between 0.180 inch (4.57 mm) and 0.360 inch (9.14 mm) long radially. The crack must be forward of the trailing edge slots. For these cracks, intersecting cracks are allowed if the intersection of the crack is within 0.200 inch (5.08 mm) of the blade tip. This does not include closed loop cracks or trailing edge slot cracks.
150 Hours
The crack is between 0.610 inch (15.49 mm) and 0.800 inch (20.32 mm) long axially and must be outside the trailing edge slots. The axial crack can have up to 0.450 inch (11.43 mm) in radial length. For these cracks, intersecting cracks are allowed if the intersection of the crack is within 0.200 inch (5.08 mm) of the blade tip. This does not include closed loop cracks or trailing edge slot cracks.
There is a crack that is more than 0.800 inch (20.32 mm) long axially or more than 0.450 inch (11.43 mm) long radially
Reject if
The crack is more than 0.080 inch (2.03 mm) long axially or more than 0.140 inch (3.56 mm) long radially
The crack is more than 0.140 inch (3.56 mm) long axially or more than 0.360 inch (9.14 mm) long radially
There is a trailing edge crack in Area D
There is a trailing edge crack in Area C and is more than 0.300 inch (7.62 mm) long in any direction
Cracks on the airfoil go through or touch other cracks, trailing edge slot cracks or closed loop cracks (this does not include cracks at the tip as described above)
Loss of blade tip material so that the internal cooling cavity shows
Loss of trailing edge tip material above the last trailing edge cooling slot
NOTE
The trailing edge of the Stage 2 HPT blade can be blended per EM repair VRS3240. Blends on the trailing edge of the blade will be smooth and round bottomed and made in the shape of the initial contour. Blades that have been blended in accordance with VRS3240 are acceptable and can continue on in service.NOTE
Manufacturer's holes are not included.NOTE
Axial tip cracks may have the potential of releasing the blade tip, which may cause minor gaspath downstream damage.NOTE
The most restrictive limits apply.
SUBTASK 72-00-00-220-128 Examine the Blades for Cracks on the Airfoil of the Stage 2 HPT Blades
Time/Cycle Limits Interval
Area A
Area B
Area C
Area D
Area TE
Area Platform
600 Hours
There are surface imperfections (areas of raised material) on the airfoil surface
A surface imperfection has a crack with a length that is less than 0.080 inch (2.03 mm) long axially or less than 0.180 inch (4.57 mm) long radially
300 Hours
A surface imperfection has a crack with a length that is less than 0.080 inch (2.03 mm) long axially or less than 0.140 inch (3.56 mm) long radially
A surface imperfection has a crack with a length that is between 0.080 inch (2.03 mm) and 0.140 inch (3.56 mm) long axially or between 0.180 inch (4.57 mm) and 0.360 inch (9.14 mm) long radially
A surface imperfection has a crack with a length that is between 0.080 inch (2.03 mm) and 0.200 inch (5.08 mm) long axially or between 0.180 inch (4.57 mm) and 0.360 inch (9.14 mm) long radially
150 Hours
Reject if
A surface imperfection has a crack with a length more than 0.080 inch (2.03 mm) long axially or more than 0.140 inch (3.56 mm) long radially
A surface imperfection has a crack with a length more than 0.140 inch (3.56 mm) long axially or more than 0.360 inch (9.14 mm) long radially
A surface imperfection has a crack with a length more than 0.200 inch (5.08 mm) long axially or more than 0.360 inch (9.14 mm) long radially
A surface imperfection has a crack
Surface imperfections on the airfoil surface have cracks that go through other cracks
NOTE
The trailing edge of the Stage 2 HPT blade can be blended per EM repair VRS3240. Blends on the trailing edge of the blade will be smooth and round bottomed and made in the shape of the initial contour. Blades that have been blended in accordance with VRS3240 are acceptable and can continue on in service.NOTE
Manufacturer's holes are not included.NOTE
Axial tip cracks may have the potential of releasing the blade tip, which may cause minor gaspath downstream damage.NOTE
The most restrictive limits apply.
SUBTASK 72-00-00-220-172 Examine the Blades for Airfoil Surface Imperfections (Areas of Raised Material) and Surface Imperfections with Cracks on the Stage 2 HPT Blade
Refer to Figure.
Time/Cycle Limits Interval
Area A
Area B
Area C
Area D
Area TE
Area Platform
600 Hours
Cracks that are longer than 0.125 inch (3.17 mm) that do not go through the platform to the airfoil fillet radius
300 Hours
150 Hours
Reject if
There is a crack which goes through the platform to airfoil fillet radius
NOTE
The trailing edge of the Stage 2 HPT blade can be blended per EM repair VRS3240. Blends on the trailing edge of the blade will be smooth and round bottomed and made in the shape of the initial contour. Blades that have been blended in accordance with VRS3240 are acceptable and can continue on in service.NOTE
Manufacturer's holes are not included.NOTE
Axial tip cracks may have the potential of releasing the blade tip, which may cause minor gaspath downstream damage.NOTE
The most restrictive limits apply.
SUBTASK 72-00-00-220-129 Examine the Blades for Cracks on the Platform of the Stage 2 HPT Blades
Refer to Figure.
SUBTASK 72-00-00-220-130 Examine for Burn Holes in the Stage 2 HPT Duct Segments
NOTE
When you do a borescope inspection of the Stage 2 HPT blades, some areas of the Stage 2 HPT duct segments will be seen. Locations 1 and 2 in the figure are important areas.Refer to Figure.
Put the HP Turbine (HPT) Rotor And Stator Assembly (72-45-00, 01-120) gasket1 off in the case recess.

CAUTION
USE CAUTION WHEN INSTALLING PLUG. IF THE PLUG BREAKS DURING INSTALLATION AND FALLS INTO 2ND STAGE VANE CAVITY, REMOVE PLUG PIECE PRIOR TO RETURNING ENGINE TO SERVICE. IF NECESSARY, ACCESS TO THE CAVITY CAN BE OBTAINED BY REMOVING THE TCA TUBE.Put the gasket on the plug HP Turbine (HPT) Rotor And Stator Assembly (72-45-00, 01-140) and install the plug in the case.
NOTE
Make sure that the boroscope plug is correctly installed and bolt holes are aligned prior to continuing to next step.Lubricate the bolt threads with CoMat 10-129 ANTI-SEIZE PASTE or CoMat 10-094 ANTI-SEIZE COMPOUND, PURE Ni-SPECIAL. Wipe off excess paste.
Safety the bolts with CoMat 02-141 LOCKWIRE.
For the T1/2L and T1/2R port, proceed as follows:
Apply CoMat 10-129 ANTI-SEIZE PASTE to the bolts. Install the bolts.
Safety the bolts with CoMat 02-141 LOCKWIRE.

CAUTION
MAKE SURE THAT THE SLEEVE FLANGED BUSHING DOES NOT FALL OUT. IF THE PART FALLS, IT WILL BE DAMAGED.For the T2/3L and the T2/3R port, proceed as follows.
SUBTASK 72-00-00-420-083 Close the Borescope Inspection Ports after Borescope Inspection is Completed
Figure: Crank Pad Location
Crank Pad Location

Figure: HP Turbine Borescope Locations for Inspection of the Stage 2 HPT Blades (Left Side)
HP Turbine Borescope Locations for Inspection of the Stage 2 HPT Blades (Left Side)

Figure: HP Turbine Borescope Ports for Inspection of the Stage 2 HPT Blades (Right Side)
HP Turbine Borescope Ports for Inspection of the Stage 2 HPT Blades (Right Side)

Figure: Stage 2 HPT Blade Inspection Areas
Stage 2 HPT Blade Inspection Areas

Figure: Borescope Ports
Borescope Ports

Figure: HP and LP Turbine Ports for Inspection of the Stage 2 HPT Blades
HP and LP Turbine Ports for Inspection of the Stage 2 HPT Blades

Figure: Stage 2 HPT Blade Inspection Areas
Stage 2 HPT Blade Inspection Areas

Figure: Stage 2 HPT Duct Segment Inspection Location
Stage 2 HPT Duct Segment Inspection Location

Figure: Stage 2 HPT blade inspection with a flexible borescope
Stage 2 HPT blade inspection with a flexible borescope

