DMC:V2500-A5-72-32-00-02A-941A-D|Issue No:003.00|Issue Date:2021-08-01
Export Control
EAR Export Classification: Not subject to the EAR per 15 C.F.R. Chapter 1, Part 734.3(b)(3), except for the following Service Bulletins which are currently published as EAR Export Classification 9E991: SBE70-0992, SBE72-0483, SBE72-0580, SBE72-0588, SBE72-0640, SBE73-0209, SBE80-0024 and SBE80-0025.Copyright
© IAE International Aero Engines AG (2001, 2014 - 2021) The information contained in this document is the property of © IAE International Aero Engines AG and may not be copied or used for any purpose other than that for which it is supplied without the express written authority of © IAE International Aero Engines AG. (This does not preclude use by engine and aircraft operators for normal instructional, maintenance or overhaul purposes.).Applicability
V2500-A5
| Fig. Item | Part No. | Description | Effect/Model Applic. | UPA |
|---|---|---|---|---|
| 02 | ||||
| -000 | B72320002 | ENGINE - LP COMP/INTERMEDIATE CASE MODULE, PRE SBE72-0152 | aa | |
| -000 | SBE0152-01 | ENGINE - LP COMP/INTERMEDIATE CASE MODULE, PRE SBE72-0155 | ab | |
| -000 | SBE0155-01 | ENGINE - LP COMP/INTERMEDIATE CASE MODULE, PRE SBE72-0350 | ac | |
| -000 | SBE0350-01 | ENGINE - LP COMP/INTERMEDIATE CASE MODULE, PRE SBE72-0391 | ad | |
| -000 | SBE0391-01 | ENGINE - LP COMP/INTERMEDIATE CASE MODULE, PRE SBE72-0429 | ae | |
| -000 | SBE0429-01 | ENGINE - LP COMP/INTERMEDIATE CASE MODULE, PRE SBE 70-0858 | af | |
| -000 | SBE0858-01 | ENGINE - LP COMP/INTERMEDIATE CASE MODULE, PRE SBE71-0303 | ag | |
| -000 | SBE0303-01 | ENGINE - LP COMP/INTERMEDIATE CASE MODULE, PRE SBE70-0939 | ah | |
| -000 | SBE0939-01 | ENGINE - LP COMP/INTERMEDIATE CASE MODULE, PRE SBE72-0553 | ai | |
| -000 | SBE0553-01 | ENGINE - LP COMP/INTERMEDIATE CASE MODULE, PRE SBE72-0701 | aj | |
| -000 | SBE0701-01 | ENGINE - LP COMP/INTERMEDIATE CASE MODULE | ak | |
| -100100 | 72-32-55 | SEAL - FRONT NO.1 BEARING | aa-aj/01 | REF |
V2522/V2524/V2527M AQ02, V2522/V2524/V2527M AQ03, V2527/V2527E AQ02, V2527/V2527E AQ03, V2530 AQ02, V2530 AQ03, V2533 AQ02, V2533 AQ03, V2522/V2524/V2527M SQ02, V2522/V2524/V2527M SQ03, V2527/V2527E SQ02, V2527/V2527E SQ03, V2530 AS02, V2530 SQ03, V2533 SQ02, V2533 SQ03, V2522/V2524/V2527M SQ04, V2522/V2524/V2527M SQ05, V2527/V2527E SQ04, V2527/V2527E SQ05, V2530 SQ04, V2530 SQ05, V2533 SQ04, V2533 SQ05 | ||||
| 110110 | 4W0002 | • NUT - SELF LOCKING, DOUBLE HEXAGON, .250 DIA | aa-aj/01 | 21 |
V2522/V2524/V2527M AQ02, V2522/V2524/V2527M AQ03, V2527/V2527E AQ02, V2527/V2527E AQ03, V2530 AQ02, V2530 AQ03, V2533 AQ02, V2533 AQ03, V2522/V2524/V2527M SQ02, V2522/V2524/V2527M SQ03, V2527/V2527E SQ02, V2527/V2527E SQ03, V2530 AS02, V2530 SQ03, V2533 SQ02, V2533 SQ03, V2522/V2524/V2527M SQ04, V2522/V2524/V2527M SQ05, V2527/V2527E SQ04, V2527/V2527E SQ05, V2530 SQ04, V2530 SQ05, V2533 SQ04, V2533 SQ05 | ||||
| 115115 | MS9321-10 | • WASHER - FLAT, 0.500 X 0.276 X 0.062 96906 | aa-aj/01 | 21 |
V2522/V2524/V2527M AQ02, V2522/V2524/V2527M AQ03, V2527/V2527E AQ02, V2527/V2527E AQ03, V2530 AQ02, V2530 AQ03, V2533 AQ02, V2533 AQ03, V2522/V2524/V2527M SQ02, V2522/V2524/V2527M SQ03, V2527/V2527E SQ02, V2527/V2527E SQ03, V2530 AS02, V2530 SQ03, V2533 SQ02, V2533 SQ03, V2522/V2524/V2527M SQ04, V2522/V2524/V2527M SQ05, V2527/V2527E SQ04, V2527/V2527E SQ05, V2530 SQ04, V2530 SQ05, V2533 SQ04, V2533 SQ05 | ||||
| 116116 | MS9321-10 | • WASHER - FLAT, 0.500 X 0.276 X 0.062 96906 POST SBE72-0391 | ae-aj/01 | 21 |
V2522/V2524/V2527M AQ02, V2522/V2524/V2527M AQ03, V2527/V2527E AQ02, V2527/V2527E AQ03, V2530 AQ02, V2530 AQ03, V2533 AQ02, V2533 AQ03, V2522/V2524/V2527M SQ02, V2522/V2524/V2527M SQ03, V2527/V2527E SQ02, V2527/V2527E SQ03, V2530 AS02, V2530 SQ03, V2533 SQ02, V2533 SQ03, V2522/V2524/V2527M SQ04, V2522/V2524/V2527M SQ05, V2527/V2527E SQ04, V2527/V2527E SQ05, V2530 SQ04, V2530 SQ05, V2533 SQ04, V2533 SQ05 | ||||
| 120120 | 4W0168 | • BOLT, MACHINE DOUBLE HEX - .250 DIA X .875 PRE SBE72-0391 | aa-ad/01 | 21 |
V2522/V2524/V2527M AQ02, V2522/V2524/V2527M AQ03, V2527/V2527E AQ02, V2527/V2527E AQ03, V2530 AQ02, V2530 AQ03, V2533 AQ02, V2533 AQ03, V2522/V2524/V2527M SQ02, V2522/V2524/V2527M SQ03, V2527/V2527E SQ02, V2527/V2527E SQ03, V2530 AS02, V2530 SQ03, V2533 SQ02, V2533 SQ03, V2522/V2524/V2527M SQ04, V2522/V2524/V2527M SQ05, V2527/V2527E SQ04, V2527/V2527E SQ05, V2530 SQ04, V2530 SQ05, V2533 SQ04, V2533 SQ05 | ||||
| 120120A | 4W0411 | • BOLT - 0.250 DIA X 1.062 POST SBE72-0391 | ae-aj/01 | 21 |
V2522/V2524/V2527M AQ02, V2522/V2524/V2527M AQ03, V2527/V2527E AQ02, V2527/V2527E AQ03, V2530 AQ02, V2530 AQ03, V2533 AQ02, V2533 AQ03, V2522/V2524/V2527M SQ02, V2522/V2524/V2527M SQ03, V2527/V2527E SQ02, V2527/V2527E SQ03, V2530 AS02, V2530 SQ03, V2533 SQ02, V2533 SQ03, V2522/V2524/V2527M SQ04, V2522/V2524/V2527M SQ05, V2527/V2527E SQ04, V2527/V2527E SQ05, V2530 SQ04, V2530 SQ05, V2533 SQ04, V2533 SQ05 | ||||
| 130130 | 5A5396 | • RING PRE SBE72-0701 | aa-aj/01 | 1 |
V2522/V2524/V2527M AQ02, V2522/V2524/V2527M AQ03, V2527/V2527E AQ02, V2527/V2527E AQ03, V2530 AQ02, V2530 AQ03, V2533 AQ02, V2533 AQ03, V2522/V2524/V2527M SQ02, V2522/V2524/V2527M SQ03, V2527/V2527E SQ02, V2527/V2527E SQ03, V2530 AS02, V2530 SQ03, V2533 SQ02, V2533 SQ03, V2522/V2524/V2527M SQ04, V2522/V2524/V2527M SQ05, V2527/V2527E SQ04, V2527/V2527E SQ05, V2530 SQ04, V2530 SQ05, V2533 SQ04, V2533 SQ05 | ||||
| 130130A | 5A2223 | • O-RING POST SBE72-0701 | ak/01 | 1 |
V2522/V2524/V2527M AQ02, V2522/V2524/V2527M AQ03, V2527/V2527E AQ02, V2527/V2527E AQ03, V2530 AQ02, V2530 AQ03, V2533 AQ02, V2533 AQ03, V2522/V2524/V2527M SQ02, V2522/V2524/V2527M SQ03, V2527/V2527E SQ02, V2527/V2527E SQ03, V2530 AS02, V2530 SQ03, V2533 SQ02, V2533 SQ03, V2522/V2524/V2527M SQ04, V2522/V2524/V2527M SQ05, V2527/V2527E SQ04, V2527/V2527E SQ05, V2530 SQ04, V2530 SQ05, V2533 SQ04, V2533 SQ05 | ||||
| -150150 | 72-32-50 | SHAFT - LP NO.1 AND 2 BEARING, ASSEMBLY OF | aa-aj/01 | REF |
V2522/V2524/V2527M AQ02, V2522/V2524/V2527M AQ03, V2527/V2527E AQ02, V2527/V2527E AQ03, V2530 AQ02, V2530 AQ03, V2533 AQ02, V2533 AQ03, V2522/V2524/V2527M SQ02, V2522/V2524/V2527M SQ03, V2527/V2527E SQ02, V2527/V2527E SQ03, V2530 AS02, V2530 SQ03, V2533 SQ02, V2533 SQ03, V2522/V2524/V2527M SQ04, V2522/V2524/V2527M SQ05, V2527/V2527E SQ04, V2527/V2527E SQ05, V2530 SQ04, V2530 SQ05, V2533 SQ04, V2533 SQ05 | ||||
| 151151 | AS21013 | • BOLT - 0.25 DIA X 0.812 U1653 | aa-aj/01 | 18 |
V2522/V2524/V2527M AQ02, V2522/V2524/V2527M AQ03, V2527/V2527E AQ02, V2527/V2527E AQ03, V2530 AQ02, V2530 AQ03, V2533 AQ02, V2533 AQ03, V2522/V2524/V2527M SQ02, V2522/V2524/V2527M SQ03, V2527/V2527E SQ02, V2527/V2527E SQ03, V2530 AS02, V2530 SQ03, V2533 SQ02, V2533 SQ03, V2522/V2524/V2527M SQ04, V2522/V2524/V2527M SQ05, V2527/V2527E SQ04, V2527/V2527E SQ05, V2530 SQ04, V2530 SQ05, V2533 SQ04, V2533 SQ05 | ||||
| 153153 | MS9321-10 | • WASHER - FLAT, 0.500 X 0.276 X 0.062 96906 | aa-aj/01 | 18 |
V2522/V2524/V2527M AQ02, V2522/V2524/V2527M AQ03, V2527/V2527E AQ02, V2527/V2527E AQ03, V2530 AQ02, V2530 AQ03, V2533 AQ02, V2533 AQ03, V2522/V2524/V2527M SQ02, V2522/V2524/V2527M SQ03, V2527/V2527E SQ02, V2527/V2527E SQ03, V2530 AS02, V2530 SQ03, V2533 SQ02, V2533 SQ03, V2522/V2524/V2527M SQ04, V2522/V2524/V2527M SQ05, V2527/V2527E SQ04, V2527/V2527E SQ05, V2530 SQ04, V2530 SQ05, V2533 SQ04, V2533 SQ05 | ||||
| 175175 | 4W0234 | • BOLT - 0.3125 DIA X 10.312 | aa-aj/01 | 18 |
V2522/V2524/V2527M AQ02, V2522/V2524/V2527M AQ03, V2527/V2527E AQ02, V2527/V2527E AQ03, V2530 AQ02, V2530 AQ03, V2533 AQ02, V2533 AQ03, V2522/V2524/V2527M SQ02, V2522/V2524/V2527M SQ03, V2527/V2527E SQ02, V2527/V2527E SQ03, V2530 AS02, V2530 SQ03, V2533 SQ02, V2533 SQ03, V2522/V2524/V2527M SQ04, V2522/V2524/V2527M SQ05, V2527/V2527E SQ04, V2527/V2527E SQ05, V2530 SQ04, V2530 SQ05, V2533 SQ04, V2533 SQ05 | ||||
| -180180 | 72-32-40 | SUPPORT - NO.1 BEARING, ASSEMBLY OF | aa-aj/01 | REF |
V2522/V2524/V2527M AQ02, V2522/V2524/V2527M AQ03, V2527/V2527E AQ02, V2527/V2527E AQ03, V2530 AQ02, V2530 AQ03, V2533 AQ02, V2533 AQ03, V2522/V2524/V2527M SQ02, V2522/V2524/V2527M SQ03, V2527/V2527E SQ02, V2527/V2527E SQ03, V2530 AS02, V2530 SQ03, V2533 SQ02, V2533 SQ03, V2522/V2524/V2527M SQ04, V2522/V2524/V2527M SQ05, V2527/V2527E SQ04, V2527/V2527E SQ05, V2530 SQ04, V2530 SQ05, V2533 SQ04, V2533 SQ05 | ||||
| 181181 | MS9321-11 | • WASHER 96906 POST SBE72-0391 PRE SBE72-0429 | ae/01 | 42 |
V2522/V2524/V2527M AQ02, V2522/V2524/V2527M AQ03, V2527/V2527E AQ02, V2527/V2527E AQ03, V2530 AQ02, V2530 AQ03, V2533 AQ02, V2533 AQ03, V2522/V2524/V2527M SQ02, V2522/V2524/V2527M SQ03, V2527/V2527E SQ02, V2527/V2527E SQ03, V2530 AS02, V2530 SQ03, V2533 SQ02, V2533 SQ03, V2522/V2524/V2527M SQ04, V2522/V2524/V2527M SQ05, V2527/V2527E SQ04, V2527/V2527E SQ05, V2530 SQ04, V2530 SQ05, V2533 SQ04, V2533 SQ05 | ||||
| 181181A | MS9549-11 | • WASHER - FLAT 96906 POST SBE72-0429 | af-aj/01 | 42 |
V2522/V2524/V2527M AQ02, V2522/V2524/V2527M AQ03, V2527/V2527E AQ02, V2527/V2527E AQ03, V2530 AQ02, V2530 AQ03, V2533 AQ02, V2533 AQ03, V2522/V2524/V2527M SQ02, V2522/V2524/V2527M SQ03, V2527/V2527E SQ02, V2527/V2527E SQ03, V2530 AS02, V2530 SQ03, V2533 SQ02, V2533 SQ03, V2522/V2524/V2527M SQ04, V2522/V2524/V2527M SQ05, V2527/V2527E SQ04, V2527/V2527E SQ05, V2530 SQ04, V2530 SQ05, V2533 SQ04, V2533 SQ05 | ||||
| 182182 | 5W2128 | • BOLT | aa-aj/01 | 24 |
V2522/V2524/V2527M AQ02, V2522/V2524/V2527M AQ03, V2527/V2527E AQ02, V2527/V2527E AQ03, V2530 AQ02, V2530 AQ03, V2533 AQ02, V2533 AQ03, V2522/V2524/V2527M SQ02, V2522/V2524/V2527M SQ03, V2527/V2527E SQ02, V2527/V2527E SQ03, V2530 AS02, V2530 SQ03, V2533 SQ02, V2533 SQ03, V2522/V2524/V2527M SQ04, V2522/V2524/V2527M SQ05, V2527/V2527E SQ04, V2527/V2527E SQ05, V2530 SQ04, V2530 SQ05, V2533 SQ04, V2533 SQ05 | ||||
| 187187 | 5W2129 | • BOLT | aa-aj/01 | 18 |
V2522/V2524/V2527M AQ02, V2522/V2524/V2527M AQ03, V2527/V2527E AQ02, V2527/V2527E AQ03, V2530 AQ02, V2530 AQ03, V2533 AQ02, V2533 AQ03, V2522/V2524/V2527M SQ02, V2522/V2524/V2527M SQ03, V2527/V2527E SQ02, V2527/V2527E SQ03, V2530 AS02, V2530 SQ03, V2533 SQ02, V2533 SQ03, V2522/V2524/V2527M SQ04, V2522/V2524/V2527M SQ05, V2527/V2527E SQ04, V2527/V2527E SQ05, V2530 SQ04, V2530 SQ05, V2533 SQ04, V2533 SQ05 | ||||
| 188188 | 5A5397 | • RING PRE SBE72-0701 | aa-aj/01 | 1 |
V2522/V2524/V2527M AQ02, V2522/V2524/V2527M AQ03, V2527/V2527E AQ02, V2527/V2527E AQ03, V2530 AQ02, V2530 AQ03, V2533 AQ02, V2533 AQ03, V2522/V2524/V2527M SQ02, V2522/V2524/V2527M SQ03, V2527/V2527E SQ02, V2527/V2527E SQ03, V2530 AS02, V2530 SQ03, V2533 SQ02, V2533 SQ03, V2522/V2524/V2527M SQ04, V2522/V2524/V2527M SQ05, V2527/V2527E SQ04, V2527/V2527E SQ05, V2530 SQ04, V2530 SQ05, V2533 SQ04, V2533 SQ05 | ||||
| 188188A | 5A2224 | • O-RING POST SBE72-0701 | ak/01 | 1 |
V2522/V2524/V2527M AQ02, V2522/V2524/V2527M AQ03, V2527/V2527E AQ02, V2527/V2527E AQ03, V2530 AQ02, V2530 AQ03, V2533 AQ02, V2533 AQ03, V2522/V2524/V2527M SQ02, V2522/V2524/V2527M SQ03, V2527/V2527E SQ02, V2527/V2527E SQ03, V2530 AS02, V2530 SQ03, V2533 SQ02, V2533 SQ03, V2522/V2524/V2527M SQ04, V2522/V2524/V2527M SQ05, V2527/V2527E SQ04, V2527/V2527E SQ05, V2530 SQ04, V2530 SQ05, V2533 SQ04, V2533 SQ05 | ||||
| 190190 | AS43013-110 | • RING - SEAL, 9.19 MM ID X 2.62 MM U1653 | aa-aj/01 | 2 |
V2522/V2524/V2527M AQ02, V2522/V2524/V2527M AQ03, V2527/V2527E AQ02, V2527/V2527E AQ03, V2530 AQ02, V2530 AQ03, V2533 AQ02, V2533 AQ03, V2522/V2524/V2527M SQ02, V2522/V2524/V2527M SQ03, V2527/V2527E SQ02, V2527/V2527E SQ03, V2530 AS02, V2530 SQ03, V2533 SQ02, V2533 SQ03, V2522/V2524/V2527M SQ04, V2522/V2524/V2527M SQ05, V2527/V2527E SQ04, V2527/V2527E SQ05, V2530 SQ04, V2530 SQ05, V2533 SQ04, V2533 SQ05 | ||||
| -200200 | 72-32-38 | TUBES - OIL DRAIN | aa-aj/01 | REF |
V2522/V2524/V2527M AQ02, V2522/V2524/V2527M AQ03, V2527/V2527E AQ02, V2527/V2527E AQ03, V2530 AQ02, V2530 AQ03, V2533 AQ02, V2533 AQ03, V2522/V2524/V2527M SQ02, V2522/V2524/V2527M SQ03, V2527/V2527E SQ02, V2527/V2527E SQ03, V2530 AS02, V2530 SQ03, V2533 SQ02, V2533 SQ03, V2522/V2524/V2527M SQ04, V2522/V2524/V2527M SQ05, V2527/V2527E SQ04, V2527/V2527E SQ05, V2530 SQ04, V2530 SQ05, V2533 SQ04, V2533 SQ05 | ||||
| 215215 | 4W0110 | • BOLT, MACHINE DOUBLE HEX - .190 DIA X .938 PRE SBE72-0211 | *****/01 | 1 |
V2522/V2524/V2527M AQ02, V2522/V2524/V2527M AQ03, V2527/V2527E AQ02, V2527/V2527E AQ03, V2530 AQ02, V2530 AQ03, V2533 AQ02, V2533 AQ03, V2522/V2524/V2527M SQ02, V2522/V2524/V2527M SQ03, V2527/V2527E SQ02, V2527/V2527E SQ03, V2530 AS02, V2530 SQ03, V2533 SQ02, V2533 SQ03, V2522/V2524/V2527M SQ04, V2522/V2524/V2527M SQ05, V2527/V2527E SQ04, V2527/V2527E SQ05, V2530 SQ04, V2530 SQ05, V2533 SQ04, V2533 SQ05 | ||||
| 215215A | 4W0110 | • BOLT, MACHINE DOUBLE HEX - .190 DIA X .938 POST SBE70-0858 | ag-aj/01 | 1 |
V2522/V2524/V2527M AQ02, V2522/V2524/V2527M AQ03, V2527/V2527E AQ02, V2527/V2527E AQ03, V2530 AQ02, V2530 AQ03, V2533 AQ02, V2533 AQ03, V2522/V2524/V2527M SQ02, V2522/V2524/V2527M SQ03, V2527/V2527E SQ02, V2527/V2527E SQ03, V2530 AS02, V2530 SQ03, V2533 SQ02, V2533 SQ03, V2522/V2524/V2527M SQ04, V2522/V2524/V2527M SQ05, V2527/V2527E SQ04, V2527/V2527E SQ05, V2530 SQ04, V2530 SQ05, V2533 SQ04, V2533 SQ05 | ||||
| 220220 | AS43013-108 | • RING - SEALING, TOROIDAL U1653 PRE SBE72-0211 | *****/01 | 1 |
V2522/V2524/V2527M AQ02, V2522/V2524/V2527M AQ03, V2527/V2527E AQ02, V2527/V2527E AQ03, V2530 AQ02, V2530 AQ03, V2533 AQ02, V2533 AQ03, V2522/V2524/V2527M SQ02, V2522/V2524/V2527M SQ03, V2527/V2527E SQ02, V2527/V2527E SQ03, V2530 AS02, V2530 SQ03, V2533 SQ02, V2533 SQ03, V2522/V2524/V2527M SQ04, V2522/V2524/V2527M SQ05, V2527/V2527E SQ04, V2527/V2527E SQ05, V2530 SQ04, V2530 SQ05, V2533 SQ04, V2533 SQ05 | ||||
| 220220A | AS43013-108 | • RING - SEALING, TOROIDAL U1653 POST SBE70-0858 | ag-aj/01 | 1 |
V2522/V2524/V2527M AQ02, V2522/V2524/V2527M AQ03, V2527/V2527E AQ02, V2527/V2527E AQ03, V2530 AQ02, V2530 AQ03, V2533 AQ02, V2533 AQ03, V2522/V2524/V2527M SQ02, V2522/V2524/V2527M SQ03, V2527/V2527E SQ02, V2527/V2527E SQ03, V2530 AS02, V2530 SQ03, V2533 SQ02, V2533 SQ03, V2522/V2524/V2527M SQ04, V2522/V2524/V2527M SQ05, V2527/V2527E SQ04, V2527/V2527E SQ05, V2530 SQ04, V2530 SQ05, V2533 SQ04, V2533 SQ05 | ||||
| 232232 | 6A8958 | • BRACKET - CLIP EXTENSION POST SBE71-0303 PRE SBE72-0553 | ah-ai/01 | 1 |
V2522/V2524/V2527M AQ02, V2522/V2524/V2527M AQ03, V2527/V2527E AQ02, V2527/V2527E AQ03, V2530 AQ02, V2530 AQ03, V2533 AQ02, V2533 AQ03, V2522/V2524/V2527M SQ02, V2522/V2524/V2527M SQ03, V2527/V2527E SQ02, V2527/V2527E SQ03, V2530 AS02, V2530 SQ03, V2533 SQ02, V2533 SQ03, V2522/V2524/V2527M SQ04, V2522/V2524/V2527M SQ05, V2527/V2527E SQ04, V2527/V2527E SQ05, V2530 SQ04, V2530 SQ05, V2533 SQ04, V2533 SQ05 | ||||
| 233233 | AS21030 | • BOLT - MACHINE, DOUBLE HEXAGON - 0.250 DIA X 1.875 U1653 POST SBE71-0303 PRE SBE72-0553 | ah-ai/01 | 1 |
V2522/V2524/V2527M AQ02, V2522/V2524/V2527M AQ03, V2527/V2527E AQ02, V2527/V2527E AQ03, V2530 AQ02, V2530 AQ03, V2533 AQ02, V2533 AQ03, V2522/V2524/V2527M SQ02, V2522/V2524/V2527M SQ03, V2527/V2527E SQ02, V2527/V2527E SQ03, V2530 AS02, V2530 SQ03, V2533 SQ02, V2533 SQ03, V2522/V2524/V2527M SQ04, V2522/V2524/V2527M SQ05, V2527/V2527E SQ04, V2527/V2527E SQ05, V2530 SQ04, V2530 SQ05, V2533 SQ04, V2533 SQ05 | ||||
| 234234 | LJ32698 | • SPACER POST SBE71-0303 PRE SBE70-0939 | ah/01 | 1 |
V2522/V2524/V2527M AQ02, V2522/V2524/V2527M AQ03, V2527/V2527E AQ02, V2527/V2527E AQ03, V2530 AQ02, V2530 AQ03, V2533 AQ02, V2533 AQ03, V2522/V2524/V2527M SQ02, V2522/V2524/V2527M SQ03, V2527/V2527E SQ02, V2527/V2527E SQ03, V2530 AS02, V2530 SQ03, V2533 SQ02, V2533 SQ03, V2522/V2524/V2527M SQ04, V2522/V2524/V2527M SQ05, V2527/V2527E SQ04, V2527/V2527E SQ05, V2530 SQ04, V2530 SQ05, V2533 SQ04, V2533 SQ05 | ||||
| 234234A | 5A1909 | • SPACER POST SBE70-0939 PRE SBE72-0553 | ai/01 | 1 |
V2522/V2524/V2527M AQ02, V2522/V2524/V2527M AQ03, V2527/V2527E AQ02, V2527/V2527E AQ03, V2530 AQ02, V2530 AQ03, V2533 AQ02, V2533 AQ03, V2522/V2524/V2527M SQ02, V2522/V2524/V2527M SQ03, V2527/V2527E SQ02, V2527/V2527E SQ03, V2530 AS02, V2530 SQ03, V2533 SQ02, V2533 SQ03, V2522/V2524/V2527M SQ04, V2522/V2524/V2527M SQ05, V2527/V2527E SQ04, V2527/V2527E SQ05, V2530 SQ04, V2530 SQ05, V2533 SQ04, V2533 SQ05 | ||||
| -245245 | 72-32-37 | HARNESS - PROBES | aa-aj/01 | REF |
V2522/V2524/V2527M AQ02, V2522/V2524/V2527M AQ03, V2527/V2527E AQ02, V2527/V2527E AQ03, V2530 AQ02, V2530 AQ03, V2533 AQ02, V2533 AQ03, V2522/V2524/V2527M SQ02, V2522/V2524/V2527M SQ03, V2527/V2527E SQ02, V2527/V2527E SQ03, V2530 AS02, V2530 SQ03, V2533 SQ02, V2533 SQ03, V2522/V2524/V2527M SQ04, V2522/V2524/V2527M SQ05, V2527/V2527E SQ04, V2527/V2527E SQ05, V2530 SQ04, V2530 SQ05, V2533 SQ04, V2533 SQ05 | ||||
| 246246 | AS43013-120 | • RING - SEALING, TOROIDAL U1653 | aa-aj/01 | 1 |
V2522/V2524/V2527M AQ02, V2522/V2524/V2527M AQ03, V2527/V2527E AQ02, V2527/V2527E AQ03, V2530 AQ02, V2530 AQ03, V2533 AQ02, V2533 AQ03, V2522/V2524/V2527M SQ02, V2522/V2524/V2527M SQ03, V2527/V2527E SQ02, V2527/V2527E SQ03, V2530 AS02, V2530 SQ03, V2533 SQ02, V2533 SQ03, V2522/V2524/V2527M SQ04, V2522/V2524/V2527M SQ05, V2527/V2527E SQ04, V2527/V2527E SQ05, V2530 SQ04, V2530 SQ05, V2533 SQ04, V2533 SQ05 | ||||
| 247247 | 4W0001 | • NUT, OPTION - .190 DIA | aa-aj/01 | 1 |
V2522/V2524/V2527M AQ02, V2522/V2524/V2527M AQ03, V2527/V2527E AQ02, V2527/V2527E AQ03, V2530 AQ02, V2530 AQ03, V2533 AQ02, V2533 AQ03, V2522/V2524/V2527M SQ02, V2522/V2524/V2527M SQ03, V2527/V2527E SQ02, V2527/V2527E SQ03, V2530 AS02, V2530 SQ03, V2533 SQ02, V2533 SQ03, V2522/V2524/V2527M SQ04, V2522/V2524/V2527M SQ05, V2527/V2527E SQ04, V2527/V2527E SQ05, V2530 SQ04, V2530 SQ05, V2533 SQ04, V2533 SQ05 | ||||
| 248248 | 417D2T | • CLIP 83930 | aa-aj/01 | 1 |
V2522/V2524/V2527M AQ02, V2522/V2524/V2527M AQ03, V2527/V2527E AQ02, V2527/V2527E AQ03, V2530 AQ02, V2530 AQ03, V2533 AQ02, V2533 AQ03, V2522/V2524/V2527M SQ02, V2522/V2524/V2527M SQ03, V2527/V2527E SQ02, V2527/V2527E SQ03, V2530 AS02, V2530 SQ03, V2533 SQ02, V2533 SQ03, V2522/V2524/V2527M SQ04, V2522/V2524/V2527M SQ05, V2527/V2527E SQ04, V2527/V2527E SQ05, V2530 SQ04, V2530 SQ05, V2533 SQ04, V2533 SQ05 | ||||
| 250250 | 4W0001 | • NUT, OPTION - .190 DIA | aa-aj/01 | 1 |
V2522/V2524/V2527M AQ02, V2522/V2524/V2527M AQ03, V2527/V2527E AQ02, V2527/V2527E AQ03, V2530 AQ02, V2530 AQ03, V2533 AQ02, V2533 AQ03, V2522/V2524/V2527M SQ02, V2522/V2524/V2527M SQ03, V2527/V2527E SQ02, V2527/V2527E SQ03, V2530 AS02, V2530 SQ03, V2533 SQ02, V2533 SQ03, V2522/V2524/V2527M SQ04, V2522/V2524/V2527M SQ05, V2527/V2527E SQ04, V2527/V2527E SQ05, V2530 SQ04, V2530 SQ05, V2533 SQ04, V2533 SQ05 | ||||
| 251251 | 417D2T | • CLIP 83930 | aa-aj/01 | 1 |
V2522/V2524/V2527M AQ02, V2522/V2524/V2527M AQ03, V2527/V2527E AQ02, V2527/V2527E AQ03, V2530 AQ02, V2530 AQ03, V2533 AQ02, V2533 AQ03, V2522/V2524/V2527M SQ02, V2522/V2524/V2527M SQ03, V2527/V2527E SQ02, V2527/V2527E SQ03, V2530 AS02, V2530 SQ03, V2533 SQ02, V2533 SQ03, V2522/V2524/V2527M SQ04, V2522/V2524/V2527M SQ05, V2527/V2527E SQ04, V2527/V2527E SQ05, V2530 SQ04, V2530 SQ05, V2533 SQ04, V2533 SQ05 | ||||
| 253253 | 4W0001 | • NUT, OPTION - .190 DIA | aa-aj/01 | 1 |
V2522/V2524/V2527M AQ02, V2522/V2524/V2527M AQ03, V2527/V2527E AQ02, V2527/V2527E AQ03, V2530 AQ02, V2530 AQ03, V2533 AQ02, V2533 AQ03, V2522/V2524/V2527M SQ02, V2522/V2524/V2527M SQ03, V2527/V2527E SQ02, V2527/V2527E SQ03, V2530 AS02, V2530 SQ03, V2533 SQ02, V2533 SQ03, V2522/V2524/V2527M SQ04, V2522/V2524/V2527M SQ05, V2527/V2527E SQ04, V2527/V2527E SQ05, V2530 SQ04, V2530 SQ05, V2533 SQ04, V2533 SQ05 | ||||
| 254254 | 417D2T | • CLIP 83930 | aa-aj/01 | 1 |
V2522/V2524/V2527M AQ02, V2522/V2524/V2527M AQ03, V2527/V2527E AQ02, V2527/V2527E AQ03, V2530 AQ02, V2530 AQ03, V2533 AQ02, V2533 AQ03, V2522/V2524/V2527M SQ02, V2522/V2524/V2527M SQ03, V2527/V2527E SQ02, V2527/V2527E SQ03, V2530 AS02, V2530 SQ03, V2533 SQ02, V2533 SQ03, V2522/V2524/V2527M SQ04, V2522/V2524/V2527M SQ05, V2527/V2527E SQ04, V2527/V2527E SQ05, V2530 SQ04, V2530 SQ05, V2533 SQ04, V2533 SQ05 | ||||
| 256256 | 4W0001 | • NUT, OPTION - .190 DIA | aa-aj/01 | 1 |
V2522/V2524/V2527M AQ02, V2522/V2524/V2527M AQ03, V2527/V2527E AQ02, V2527/V2527E AQ03, V2530 AQ02, V2530 AQ03, V2533 AQ02, V2533 AQ03, V2522/V2524/V2527M SQ02, V2522/V2524/V2527M SQ03, V2527/V2527E SQ02, V2527/V2527E SQ03, V2530 AS02, V2530 SQ03, V2533 SQ02, V2533 SQ03, V2522/V2524/V2527M SQ04, V2522/V2524/V2527M SQ05, V2527/V2527E SQ04, V2527/V2527E SQ05, V2530 SQ04, V2530 SQ05, V2533 SQ04, V2533 SQ05 | ||||
| 257257 | 417D2T | • CLIP 83930 | aa-aj/01 | 1 |
V2522/V2524/V2527M AQ02, V2522/V2524/V2527M AQ03, V2527/V2527E AQ02, V2527/V2527E AQ03, V2530 AQ02, V2530 AQ03, V2533 AQ02, V2533 AQ03, V2522/V2524/V2527M SQ02, V2522/V2524/V2527M SQ03, V2527/V2527E SQ02, V2527/V2527E SQ03, V2530 AS02, V2530 SQ03, V2533 SQ02, V2533 SQ03, V2522/V2524/V2527M SQ04, V2522/V2524/V2527M SQ05, V2527/V2527E SQ04, V2527/V2527E SQ05, V2530 SQ04, V2530 SQ05, V2533 SQ04, V2533 SQ05 | ||||
| 259259 | 4W0001 | • NUT, OPTION - .190 DIA | aa-aj/01 | 1 |
V2522/V2524/V2527M AQ02, V2522/V2524/V2527M AQ03, V2527/V2527E AQ02, V2527/V2527E AQ03, V2530 AQ02, V2530 AQ03, V2533 AQ02, V2533 AQ03, V2522/V2524/V2527M SQ02, V2522/V2524/V2527M SQ03, V2527/V2527E SQ02, V2527/V2527E SQ03, V2530 AS02, V2530 SQ03, V2533 SQ02, V2533 SQ03, V2522/V2524/V2527M SQ04, V2522/V2524/V2527M SQ05, V2527/V2527E SQ04, V2527/V2527E SQ05, V2530 SQ04, V2530 SQ05, V2533 SQ04, V2533 SQ05 | ||||
| 260260 | 417D2T | • CLIP 83930 | aa-aj/01 | 1 |
V2522/V2524/V2527M AQ02, V2522/V2524/V2527M AQ03, V2527/V2527E AQ02, V2527/V2527E AQ03, V2530 AQ02, V2530 AQ03, V2533 AQ02, V2533 AQ03, V2522/V2524/V2527M SQ02, V2522/V2524/V2527M SQ03, V2527/V2527E SQ02, V2527/V2527E SQ03, V2530 AS02, V2530 SQ03, V2533 SQ02, V2533 SQ03, V2522/V2524/V2527M SQ04, V2522/V2524/V2527M SQ05, V2527/V2527E SQ04, V2527/V2527E SQ05, V2530 SQ04, V2530 SQ05, V2533 SQ04, V2533 SQ05 | ||||
| 262262 | 4W0001 | • NUT, OPTION - .190 DIA | aa-aj/01 | 1 |
V2522/V2524/V2527M AQ02, V2522/V2524/V2527M AQ03, V2527/V2527E AQ02, V2527/V2527E AQ03, V2530 AQ02, V2530 AQ03, V2533 AQ02, V2533 AQ03, V2522/V2524/V2527M SQ02, V2522/V2524/V2527M SQ03, V2527/V2527E SQ02, V2527/V2527E SQ03, V2530 AS02, V2530 SQ03, V2533 SQ02, V2533 SQ03, V2522/V2524/V2527M SQ04, V2522/V2524/V2527M SQ05, V2527/V2527E SQ04, V2527/V2527E SQ05, V2530 SQ04, V2530 SQ05, V2533 SQ04, V2533 SQ05 | ||||
| 263263 | 417D2T | • CLIP 83930 | aa-aj/01 | 1 |
V2522/V2524/V2527M AQ02, V2522/V2524/V2527M AQ03, V2527/V2527E AQ02, V2527/V2527E AQ03, V2530 AQ02, V2530 AQ03, V2533 AQ02, V2533 AQ03, V2522/V2524/V2527M SQ02, V2522/V2524/V2527M SQ03, V2527/V2527E SQ02, V2527/V2527E SQ03, V2530 AS02, V2530 SQ03, V2533 SQ02, V2533 SQ03, V2522/V2524/V2527M SQ04, V2522/V2524/V2527M SQ05, V2527/V2527E SQ04, V2527/V2527E SQ05, V2530 SQ04, V2530 SQ05, V2533 SQ04, V2533 SQ05 | ||||
| 265265 | 4W0001 | • NUT, OPTION - .190 DIA | aa-aj/01 | 1 |
V2522/V2524/V2527M AQ02, V2522/V2524/V2527M AQ03, V2527/V2527E AQ02, V2527/V2527E AQ03, V2530 AQ02, V2530 AQ03, V2533 AQ02, V2533 AQ03, V2522/V2524/V2527M SQ02, V2522/V2524/V2527M SQ03, V2527/V2527E SQ02, V2527/V2527E SQ03, V2530 AS02, V2530 SQ03, V2533 SQ02, V2533 SQ03, V2522/V2524/V2527M SQ04, V2522/V2524/V2527M SQ05, V2527/V2527E SQ04, V2527/V2527E SQ05, V2530 SQ04, V2530 SQ05, V2533 SQ04, V2533 SQ05 | ||||
| 266266 | 417D2T | • CLIP 83930 | aa-aj/01 | 1 |
V2522/V2524/V2527M AQ02, V2522/V2524/V2527M AQ03, V2527/V2527E AQ02, V2527/V2527E AQ03, V2530 AQ02, V2530 AQ03, V2533 AQ02, V2533 AQ03, V2522/V2524/V2527M SQ02, V2522/V2524/V2527M SQ03, V2527/V2527E SQ02, V2527/V2527E SQ03, V2530 AS02, V2530 SQ03, V2533 SQ02, V2533 SQ03, V2522/V2524/V2527M SQ04, V2522/V2524/V2527M SQ05, V2527/V2527E SQ04, V2527/V2527E SQ05, V2530 SQ04, V2530 SQ05, V2533 SQ04, V2533 SQ05 | ||||
| 268268 | 4W0001 | • NUT, OPTION - .190 DIA | aa-aj/01 | 1 |
V2522/V2524/V2527M AQ02, V2522/V2524/V2527M AQ03, V2527/V2527E AQ02, V2527/V2527E AQ03, V2530 AQ02, V2530 AQ03, V2533 AQ02, V2533 AQ03, V2522/V2524/V2527M SQ02, V2522/V2524/V2527M SQ03, V2527/V2527E SQ02, V2527/V2527E SQ03, V2530 AS02, V2530 SQ03, V2533 SQ02, V2533 SQ03, V2522/V2524/V2527M SQ04, V2522/V2524/V2527M SQ05, V2527/V2527E SQ04, V2527/V2527E SQ05, V2530 SQ04, V2530 SQ05, V2533 SQ04, V2533 SQ05 | ||||
| 269269 | 417D2T | • CLIP 83930 | aa-aj/01 | 1 |
V2522/V2524/V2527M AQ02, V2522/V2524/V2527M AQ03, V2527/V2527E AQ02, V2527/V2527E AQ03, V2530 AQ02, V2530 AQ03, V2533 AQ02, V2533 AQ03, V2522/V2524/V2527M SQ02, V2522/V2524/V2527M SQ03, V2527/V2527E SQ02, V2527/V2527E SQ03, V2530 AS02, V2530 SQ03, V2533 SQ02, V2533 SQ03, V2522/V2524/V2527M SQ04, V2522/V2524/V2527M SQ05, V2527/V2527E SQ04, V2527/V2527E SQ05, V2530 SQ04, V2530 SQ05, V2533 SQ04, V2533 SQ05 | ||||
| 271271 | AS21909 | • BOLT - 0.19 DIA X 0.562 U1653 | aa-aj/01 | 1 |
V2522/V2524/V2527M AQ02, V2522/V2524/V2527M AQ03, V2527/V2527E AQ02, V2527/V2527E AQ03, V2530 AQ02, V2530 AQ03, V2533 AQ02, V2533 AQ03, V2522/V2524/V2527M SQ02, V2522/V2524/V2527M SQ03, V2527/V2527E SQ02, V2527/V2527E SQ03, V2530 AS02, V2530 SQ03, V2533 SQ02, V2533 SQ03, V2522/V2524/V2527M SQ04, V2522/V2524/V2527M SQ05, V2527/V2527E SQ04, V2527/V2527E SQ05, V2530 SQ04, V2530 SQ05, V2533 SQ04, V2533 SQ05 | ||||
| 272272 | 4W2621 | • WASHER | aa-aj/01 | 1 |
V2522/V2524/V2527M AQ02, V2522/V2524/V2527M AQ03, V2527/V2527E AQ02, V2527/V2527E AQ03, V2530 AQ02, V2530 AQ03, V2533 AQ02, V2533 AQ03, V2522/V2524/V2527M SQ02, V2522/V2524/V2527M SQ03, V2527/V2527E SQ02, V2527/V2527E SQ03, V2530 AS02, V2530 SQ03, V2533 SQ02, V2533 SQ03, V2522/V2524/V2527M SQ04, V2522/V2524/V2527M SQ05, V2527/V2527E SQ04, V2527/V2527E SQ05, V2530 SQ04, V2530 SQ05, V2533 SQ04, V2533 SQ05 | ||||
| 273273 | 417D3T | • CLIP 83930 | aa-aj/01 | 1 |
V2522/V2524/V2527M AQ02, V2522/V2524/V2527M AQ03, V2527/V2527E AQ02, V2527/V2527E AQ03, V2530 AQ02, V2530 AQ03, V2533 AQ02, V2533 AQ03, V2522/V2524/V2527M SQ02, V2522/V2524/V2527M SQ03, V2527/V2527E SQ02, V2527/V2527E SQ03, V2530 AS02, V2530 SQ03, V2533 SQ02, V2533 SQ03, V2522/V2524/V2527M SQ04, V2522/V2524/V2527M SQ05, V2527/V2527E SQ04, V2527/V2527E SQ05, V2530 SQ04, V2530 SQ05, V2533 SQ04, V2533 SQ05 | ||||
| 274274 | AS41104 | • NUT - 0.19 DIA U1653 | aa-aj/01 | 1 |
V2522/V2524/V2527M AQ02, V2522/V2524/V2527M AQ03, V2527/V2527E AQ02, V2527/V2527E AQ03, V2530 AQ02, V2530 AQ03, V2533 AQ02, V2533 AQ03, V2522/V2524/V2527M SQ02, V2522/V2524/V2527M SQ03, V2527/V2527E SQ02, V2527/V2527E SQ03, V2530 AS02, V2530 SQ03, V2533 SQ02, V2533 SQ03, V2522/V2524/V2527M SQ04, V2522/V2524/V2527M SQ05, V2527/V2527E SQ04, V2527/V2527E SQ05, V2530 SQ04, V2530 SQ05, V2533 SQ04, V2533 SQ05 | ||||
| 276276 | AS21909 | • BOLT - 0.19 DIA X 0.562 U1653 | aa-aj/01 | 1 |
V2522/V2524/V2527M AQ02, V2522/V2524/V2527M AQ03, V2527/V2527E AQ02, V2527/V2527E AQ03, V2530 AQ02, V2530 AQ03, V2533 AQ02, V2533 AQ03, V2522/V2524/V2527M SQ02, V2522/V2524/V2527M SQ03, V2527/V2527E SQ02, V2527/V2527E SQ03, V2530 AS02, V2530 SQ03, V2533 SQ02, V2533 SQ03, V2522/V2524/V2527M SQ04, V2522/V2524/V2527M SQ05, V2527/V2527E SQ04, V2527/V2527E SQ05, V2530 SQ04, V2530 SQ05, V2533 SQ04, V2533 SQ05 | ||||
| 277277 | 4W2621 | • WASHER | aa-aj/01 | 1 |
V2522/V2524/V2527M AQ02, V2522/V2524/V2527M AQ03, V2527/V2527E AQ02, V2527/V2527E AQ03, V2530 AQ02, V2530 AQ03, V2533 AQ02, V2533 AQ03, V2522/V2524/V2527M SQ02, V2522/V2524/V2527M SQ03, V2527/V2527E SQ02, V2527/V2527E SQ03, V2530 AS02, V2530 SQ03, V2533 SQ02, V2533 SQ03, V2522/V2524/V2527M SQ04, V2522/V2524/V2527M SQ05, V2527/V2527E SQ04, V2527/V2527E SQ05, V2530 SQ04, V2530 SQ05, V2533 SQ04, V2533 SQ05 | ||||
| 278278 | 417D3T | • CLIP 83930 | aa-aj/01 | 1 |
V2522/V2524/V2527M AQ02, V2522/V2524/V2527M AQ03, V2527/V2527E AQ02, V2527/V2527E AQ03, V2530 AQ02, V2530 AQ03, V2533 AQ02, V2533 AQ03, V2522/V2524/V2527M SQ02, V2522/V2524/V2527M SQ03, V2527/V2527E SQ02, V2527/V2527E SQ03, V2530 AS02, V2530 SQ03, V2533 SQ02, V2533 SQ03, V2522/V2524/V2527M SQ04, V2522/V2524/V2527M SQ05, V2527/V2527E SQ04, V2527/V2527E SQ05, V2530 SQ04, V2530 SQ05, V2533 SQ04, V2533 SQ05 | ||||
| 279279 | AS41104 | • NUT - 0.19 DIA U1653 | aa-aj/01 | 1 |
V2522/V2524/V2527M AQ02, V2522/V2524/V2527M AQ03, V2527/V2527E AQ02, V2527/V2527E AQ03, V2530 AQ02, V2530 AQ03, V2533 AQ02, V2533 AQ03, V2522/V2524/V2527M SQ02, V2522/V2524/V2527M SQ03, V2527/V2527E SQ02, V2527/V2527E SQ03, V2530 AS02, V2530 SQ03, V2533 SQ02, V2533 SQ03, V2522/V2524/V2527M SQ04, V2522/V2524/V2527M SQ05, V2527/V2527E SQ04, V2527/V2527E SQ05, V2530 SQ04, V2530 SQ05, V2533 SQ04, V2533 SQ05 | ||||
| 281281 | AS21909 | • BOLT - 0.19 DIA X 0.562 U1653 | aa-aj/01 | 1 |
V2522/V2524/V2527M AQ02, V2522/V2524/V2527M AQ03, V2527/V2527E AQ02, V2527/V2527E AQ03, V2530 AQ02, V2530 AQ03, V2533 AQ02, V2533 AQ03, V2522/V2524/V2527M SQ02, V2522/V2524/V2527M SQ03, V2527/V2527E SQ02, V2527/V2527E SQ03, V2530 AS02, V2530 SQ03, V2533 SQ02, V2533 SQ03, V2522/V2524/V2527M SQ04, V2522/V2524/V2527M SQ05, V2527/V2527E SQ04, V2527/V2527E SQ05, V2530 SQ04, V2530 SQ05, V2533 SQ04, V2533 SQ05 | ||||
| 282282 | 4W2621 | • WASHER | aa-aj/01 | 1 |
V2522/V2524/V2527M AQ02, V2522/V2524/V2527M AQ03, V2527/V2527E AQ02, V2527/V2527E AQ03, V2530 AQ02, V2530 AQ03, V2533 AQ02, V2533 AQ03, V2522/V2524/V2527M SQ02, V2522/V2524/V2527M SQ03, V2527/V2527E SQ02, V2527/V2527E SQ03, V2530 AS02, V2530 SQ03, V2533 SQ02, V2533 SQ03, V2522/V2524/V2527M SQ04, V2522/V2524/V2527M SQ05, V2527/V2527E SQ04, V2527/V2527E SQ05, V2530 SQ04, V2530 SQ05, V2533 SQ04, V2533 SQ05 | ||||
| 283283 | 417D6T | • CLIP 83930 | aa-aj/01 | 1 |
V2522/V2524/V2527M AQ02, V2522/V2524/V2527M AQ03, V2527/V2527E AQ02, V2527/V2527E AQ03, V2530 AQ02, V2530 AQ03, V2533 AQ02, V2533 AQ03, V2522/V2524/V2527M SQ02, V2522/V2524/V2527M SQ03, V2527/V2527E SQ02, V2527/V2527E SQ03, V2530 AS02, V2530 SQ03, V2533 SQ02, V2533 SQ03, V2522/V2524/V2527M SQ04, V2522/V2524/V2527M SQ05, V2527/V2527E SQ04, V2527/V2527E SQ05, V2530 SQ04, V2530 SQ05, V2533 SQ04, V2533 SQ05 | ||||
| 284284 | AS41104 | • NUT - 0.19 DIA U1653 | aa-aj/01 | 1 |
V2522/V2524/V2527M AQ02, V2522/V2524/V2527M AQ03, V2527/V2527E AQ02, V2527/V2527E AQ03, V2530 AQ02, V2530 AQ03, V2533 AQ02, V2533 AQ03, V2522/V2524/V2527M SQ02, V2522/V2524/V2527M SQ03, V2527/V2527E SQ02, V2527/V2527E SQ03, V2530 AS02, V2530 SQ03, V2533 SQ02, V2533 SQ03, V2522/V2524/V2527M SQ04, V2522/V2524/V2527M SQ05, V2527/V2527E SQ04, V2527/V2527E SQ05, V2530 SQ04, V2530 SQ05, V2533 SQ04, V2533 SQ05 | ||||
| 286286 | AS21909 | • BOLT - 0.19 DIA X 0.562 U1653 | aa-aj/01 | 1 |
V2522/V2524/V2527M AQ02, V2522/V2524/V2527M AQ03, V2527/V2527E AQ02, V2527/V2527E AQ03, V2530 AQ02, V2530 AQ03, V2533 AQ02, V2533 AQ03, V2522/V2524/V2527M SQ02, V2522/V2524/V2527M SQ03, V2527/V2527E SQ02, V2527/V2527E SQ03, V2530 AS02, V2530 SQ03, V2533 SQ02, V2533 SQ03, V2522/V2524/V2527M SQ04, V2522/V2524/V2527M SQ05, V2527/V2527E SQ04, V2527/V2527E SQ05, V2530 SQ04, V2530 SQ05, V2533 SQ04, V2533 SQ05 | ||||
| 287287 | 4W2621 | • WASHER | aa-aj/01 | 1 |
V2522/V2524/V2527M AQ02, V2522/V2524/V2527M AQ03, V2527/V2527E AQ02, V2527/V2527E AQ03, V2530 AQ02, V2530 AQ03, V2533 AQ02, V2533 AQ03, V2522/V2524/V2527M SQ02, V2522/V2524/V2527M SQ03, V2527/V2527E SQ02, V2527/V2527E SQ03, V2530 AS02, V2530 SQ03, V2533 SQ02, V2533 SQ03, V2522/V2524/V2527M SQ04, V2522/V2524/V2527M SQ05, V2527/V2527E SQ04, V2527/V2527E SQ05, V2530 SQ04, V2530 SQ05, V2533 SQ04, V2533 SQ05 | ||||
| 288288 | 417D7T | • CLIP 83930 | aa-aj/01 | 1 |
V2522/V2524/V2527M AQ02, V2522/V2524/V2527M AQ03, V2527/V2527E AQ02, V2527/V2527E AQ03, V2530 AQ02, V2530 AQ03, V2533 AQ02, V2533 AQ03, V2522/V2524/V2527M SQ02, V2522/V2524/V2527M SQ03, V2527/V2527E SQ02, V2527/V2527E SQ03, V2530 AS02, V2530 SQ03, V2533 SQ02, V2533 SQ03, V2522/V2524/V2527M SQ04, V2522/V2524/V2527M SQ05, V2527/V2527E SQ04, V2527/V2527E SQ05, V2530 SQ04, V2530 SQ05, V2533 SQ04, V2533 SQ05 | ||||
| 289289 | AS41104 | • NUT - 0.19 DIA U1653 | aa-aj/01 | 1 |
V2522/V2524/V2527M AQ02, V2522/V2524/V2527M AQ03, V2527/V2527E AQ02, V2527/V2527E AQ03, V2530 AQ02, V2530 AQ03, V2533 AQ02, V2533 AQ03, V2522/V2524/V2527M SQ02, V2522/V2524/V2527M SQ03, V2527/V2527E SQ02, V2527/V2527E SQ03, V2530 AS02, V2530 SQ03, V2533 SQ02, V2533 SQ03, V2522/V2524/V2527M SQ04, V2522/V2524/V2527M SQ05, V2527/V2527E SQ04, V2527/V2527E SQ05, V2530 SQ04, V2530 SQ05, V2533 SQ04, V2533 SQ05 | ||||
| 291291 | AS21909 | • BOLT - 0.19 DIA X 0.562 U1653 | aa-aj/01 | 1 |
V2522/V2524/V2527M AQ02, V2522/V2524/V2527M AQ03, V2527/V2527E AQ02, V2527/V2527E AQ03, V2530 AQ02, V2530 AQ03, V2533 AQ02, V2533 AQ03, V2522/V2524/V2527M SQ02, V2522/V2524/V2527M SQ03, V2527/V2527E SQ02, V2527/V2527E SQ03, V2530 AS02, V2530 SQ03, V2533 SQ02, V2533 SQ03, V2522/V2524/V2527M SQ04, V2522/V2524/V2527M SQ05, V2527/V2527E SQ04, V2527/V2527E SQ05, V2530 SQ04, V2530 SQ05, V2533 SQ04, V2533 SQ05 | ||||
| 292292 | 4W2621 | • WASHER | aa-aj/01 | 1 |
V2522/V2524/V2527M AQ02, V2522/V2524/V2527M AQ03, V2527/V2527E AQ02, V2527/V2527E AQ03, V2530 AQ02, V2530 AQ03, V2533 AQ02, V2533 AQ03, V2522/V2524/V2527M SQ02, V2522/V2524/V2527M SQ03, V2527/V2527E SQ02, V2527/V2527E SQ03, V2530 AS02, V2530 SQ03, V2533 SQ02, V2533 SQ03, V2522/V2524/V2527M SQ04, V2522/V2524/V2527M SQ05, V2527/V2527E SQ04, V2527/V2527E SQ05, V2530 SQ04, V2530 SQ05, V2533 SQ04, V2533 SQ05 | ||||
| 293293 | 417D7T | • CLIP 83930 | aa-aj/01 | 1 |
V2522/V2524/V2527M AQ02, V2522/V2524/V2527M AQ03, V2527/V2527E AQ02, V2527/V2527E AQ03, V2530 AQ02, V2530 AQ03, V2533 AQ02, V2533 AQ03, V2522/V2524/V2527M SQ02, V2522/V2524/V2527M SQ03, V2527/V2527E SQ02, V2527/V2527E SQ03, V2530 AS02, V2530 SQ03, V2533 SQ02, V2533 SQ03, V2522/V2524/V2527M SQ04, V2522/V2524/V2527M SQ05, V2527/V2527E SQ04, V2527/V2527E SQ05, V2530 SQ04, V2530 SQ05, V2533 SQ04, V2533 SQ05 | ||||
| 294294 | AS41104 | • NUT - 0.19 DIA U1653 | aa-aj/01 | 1 |
V2522/V2524/V2527M AQ02, V2522/V2524/V2527M AQ03, V2527/V2527E AQ02, V2527/V2527E AQ03, V2530 AQ02, V2530 AQ03, V2533 AQ02, V2533 AQ03, V2522/V2524/V2527M SQ02, V2522/V2524/V2527M SQ03, V2527/V2527E SQ02, V2527/V2527E SQ03, V2530 AS02, V2530 SQ03, V2533 SQ02, V2533 SQ03, V2522/V2524/V2527M SQ04, V2522/V2524/V2527M SQ05, V2527/V2527E SQ04, V2527/V2527E SQ05, V2530 SQ04, V2530 SQ05, V2533 SQ04, V2533 SQ05 | ||||
| 296296 | AS21909 | • BOLT - 0.19 DIA X 0.562 U1653 | aa-aj/01 | 1 |
V2522/V2524/V2527M AQ02, V2522/V2524/V2527M AQ03, V2527/V2527E AQ02, V2527/V2527E AQ03, V2530 AQ02, V2530 AQ03, V2533 AQ02, V2533 AQ03, V2522/V2524/V2527M SQ02, V2522/V2524/V2527M SQ03, V2527/V2527E SQ02, V2527/V2527E SQ03, V2530 AS02, V2530 SQ03, V2533 SQ02, V2533 SQ03, V2522/V2524/V2527M SQ04, V2522/V2524/V2527M SQ05, V2527/V2527E SQ04, V2527/V2527E SQ05, V2530 SQ04, V2530 SQ05, V2533 SQ04, V2533 SQ05 | ||||
| 297297 | 4W2621 | • WASHER | aa-aj/01 | 1 |
V2522/V2524/V2527M AQ02, V2522/V2524/V2527M AQ03, V2527/V2527E AQ02, V2527/V2527E AQ03, V2530 AQ02, V2530 AQ03, V2533 AQ02, V2533 AQ03, V2522/V2524/V2527M SQ02, V2522/V2524/V2527M SQ03, V2527/V2527E SQ02, V2527/V2527E SQ03, V2530 AS02, V2530 SQ03, V2533 SQ02, V2533 SQ03, V2522/V2524/V2527M SQ04, V2522/V2524/V2527M SQ05, V2527/V2527E SQ04, V2527/V2527E SQ05, V2530 SQ04, V2530 SQ05, V2533 SQ04, V2533 SQ05 | ||||
| 298298 | 417D7T | • CLIP 83930 | aa-aj/01 | 1 |
V2522/V2524/V2527M AQ02, V2522/V2524/V2527M AQ03, V2527/V2527E AQ02, V2527/V2527E AQ03, V2530 AQ02, V2530 AQ03, V2533 AQ02, V2533 AQ03, V2522/V2524/V2527M SQ02, V2522/V2524/V2527M SQ03, V2527/V2527E SQ02, V2527/V2527E SQ03, V2530 AS02, V2530 SQ03, V2533 SQ02, V2533 SQ03, V2522/V2524/V2527M SQ04, V2522/V2524/V2527M SQ05, V2527/V2527E SQ04, V2527/V2527E SQ05, V2530 SQ04, V2530 SQ05, V2533 SQ04, V2533 SQ05 | ||||
| 299299 | AS41104 | • NUT - 0.19 DIA U1653 | aa-aj/01 | 1 |
V2522/V2524/V2527M AQ02, V2522/V2524/V2527M AQ03, V2527/V2527E AQ02, V2527/V2527E AQ03, V2530 AQ02, V2530 AQ03, V2533 AQ02, V2533 AQ03, V2522/V2524/V2527M SQ02, V2522/V2524/V2527M SQ03, V2527/V2527E SQ02, V2527/V2527E SQ03, V2530 AS02, V2530 SQ03, V2533 SQ02, V2533 SQ03, V2522/V2524/V2527M SQ04, V2522/V2524/V2527M SQ05, V2527/V2527E SQ04, V2527/V2527E SQ05, V2530 SQ04, V2530 SQ05, V2533 SQ04, V2533 SQ05 | ||||
| 301301 | AS21010 | • BOLT - .250 DIA X .625 U1653 | aa-aj/01 | 1 |
V2522/V2524/V2527M AQ02, V2522/V2524/V2527M AQ03, V2527/V2527E AQ02, V2527/V2527E AQ03, V2530 AQ02, V2530 AQ03, V2533 AQ02, V2533 AQ03, V2522/V2524/V2527M SQ02, V2522/V2524/V2527M SQ03, V2527/V2527E SQ02, V2527/V2527E SQ03, V2530 AS02, V2530 SQ03, V2533 SQ02, V2533 SQ03, V2522/V2524/V2527M SQ04, V2522/V2524/V2527M SQ05, V2527/V2527E SQ04, V2527/V2527E SQ05, V2530 SQ04, V2530 SQ05, V2533 SQ04, V2533 SQ05 | ||||
| 302302 | 4W2622 | • WASHER OPTION | aa-aj/01 | 1 |
V2522/V2524/V2527M AQ02, V2522/V2524/V2527M AQ03, V2527/V2527E AQ02, V2527/V2527E AQ03, V2530 AQ02, V2530 AQ03, V2533 AQ02, V2533 AQ03, V2522/V2524/V2527M SQ02, V2522/V2524/V2527M SQ03, V2527/V2527E SQ02, V2527/V2527E SQ03, V2530 AS02, V2530 SQ03, V2533 SQ02, V2533 SQ03, V2522/V2524/V2527M SQ04, V2522/V2524/V2527M SQ05, V2527/V2527E SQ04, V2527/V2527E SQ05, V2530 SQ04, V2530 SQ05, V2533 SQ04, V2533 SQ05 | ||||
| 303303 | AS12850 | • CLIP U1653 | aa-aj/01 | 1 |
V2522/V2524/V2527M AQ02, V2522/V2524/V2527M AQ03, V2527/V2527E AQ02, V2527/V2527E AQ03, V2530 AQ02, V2530 AQ03, V2533 AQ02, V2533 AQ03, V2522/V2524/V2527M SQ02, V2522/V2524/V2527M SQ03, V2527/V2527E SQ02, V2527/V2527E SQ03, V2530 AS02, V2530 SQ03, V2533 SQ02, V2533 SQ03, V2522/V2524/V2527M SQ04, V2522/V2524/V2527M SQ05, V2527/V2527E SQ04, V2527/V2527E SQ05, V2530 SQ04, V2530 SQ05, V2533 SQ04, V2533 SQ05 | ||||
| 304304 | AS12820 | • CLIP U1653 | aa-aj/01 | 1 |
V2522/V2524/V2527M AQ02, V2522/V2524/V2527M AQ03, V2527/V2527E AQ02, V2527/V2527E AQ03, V2530 AQ02, V2530 AQ03, V2533 AQ02, V2533 AQ03, V2522/V2524/V2527M SQ02, V2522/V2524/V2527M SQ03, V2527/V2527E SQ02, V2527/V2527E SQ03, V2530 AS02, V2530 SQ03, V2533 SQ02, V2533 SQ03, V2522/V2524/V2527M SQ04, V2522/V2524/V2527M SQ05, V2527/V2527E SQ04, V2527/V2527E SQ05, V2530 SQ04, V2530 SQ05, V2533 SQ04, V2533 SQ05 | ||||
| 305305 | AS12899 | • BUSHING - 0.625 DIA U1653 | aa-aj/01 | 1 |
V2522/V2524/V2527M AQ02, V2522/V2524/V2527M AQ03, V2527/V2527E AQ02, V2527/V2527E AQ03, V2530 AQ02, V2530 AQ03, V2533 AQ02, V2533 AQ03, V2522/V2524/V2527M SQ02, V2522/V2524/V2527M SQ03, V2527/V2527E SQ02, V2527/V2527E SQ03, V2530 AS02, V2530 SQ03, V2533 SQ02, V2533 SQ03, V2522/V2524/V2527M SQ04, V2522/V2524/V2527M SQ05, V2527/V2527E SQ04, V2527/V2527E SQ05, V2530 SQ04, V2530 SQ05, V2533 SQ04, V2533 SQ05 | ||||
| 306306 | 4W2622 | • WASHER OPTION | aa-aj/01 | 1 |
V2522/V2524/V2527M AQ02, V2522/V2524/V2527M AQ03, V2527/V2527E AQ02, V2527/V2527E AQ03, V2530 AQ02, V2530 AQ03, V2533 AQ02, V2533 AQ03, V2522/V2524/V2527M SQ02, V2522/V2524/V2527M SQ03, V2527/V2527E SQ02, V2527/V2527E SQ03, V2530 AS02, V2530 SQ03, V2533 SQ02, V2533 SQ03, V2522/V2524/V2527M SQ04, V2522/V2524/V2527M SQ05, V2527/V2527E SQ04, V2527/V2527E SQ05, V2530 SQ04, V2530 SQ05, V2533 SQ04, V2533 SQ05 | ||||
| 307307 | AS21014 | • CLAMP - LOOP, DOUBLE HEX, .250 DIA X .875 U1653 PRE SBE71-0303 | aa-af/01 | 3 |
V2522/V2524/V2527M AQ02, V2522/V2524/V2527M AQ03, V2527/V2527E AQ02, V2527/V2527E AQ03, V2530 AQ02, V2530 AQ03, V2533 AQ02, V2533 AQ03, V2522/V2524/V2527M SQ02, V2522/V2524/V2527M SQ03, V2527/V2527E SQ02, V2527/V2527E SQ03, V2530 AS02, V2530 SQ03, V2533 SQ02, V2533 SQ03, V2522/V2524/V2527M SQ04, V2522/V2524/V2527M SQ05, V2527/V2527E SQ04, V2527/V2527E SQ05, V2530 SQ04, V2530 SQ05, V2533 SQ04, V2533 SQ05 | ||||
| 307307A | AS21014 | • CLAMP - LOOP, DOUBLE HEX, .250 DIA X .875 U1653 POST SBE71-0303 PRE SBE72-0553 | ah-ai/01 | 2 |
V2522/V2524/V2527M AQ02, V2522/V2524/V2527M AQ03, V2527/V2527E AQ02, V2527/V2527E AQ03, V2530 AQ02, V2530 AQ03, V2533 AQ02, V2533 AQ03, V2522/V2524/V2527M SQ02, V2522/V2524/V2527M SQ03, V2527/V2527E SQ02, V2527/V2527E SQ03, V2530 AS02, V2530 SQ03, V2533 SQ02, V2533 SQ03, V2522/V2524/V2527M SQ04, V2522/V2524/V2527M SQ05, V2527/V2527E SQ04, V2527/V2527E SQ05, V2530 SQ04, V2530 SQ05, V2533 SQ04, V2533 SQ05 | ||||
| 307307B | AS21014 | • CLAMP - LOOP, DOUBLE HEX, .250 DIA X .875 U1653 POST SBE72-0553 | aj/01 | 3 |
V2522/V2524/V2527M AQ02, V2522/V2524/V2527M AQ03, V2527/V2527E AQ02, V2527/V2527E AQ03, V2530 AQ02, V2530 AQ03, V2533 AQ02, V2533 AQ03, V2522/V2524/V2527M SQ02, V2522/V2524/V2527M SQ03, V2527/V2527E SQ02, V2527/V2527E SQ03, V2530 AS02, V2530 SQ03, V2533 SQ02, V2533 SQ03, V2522/V2524/V2527M SQ04, V2522/V2524/V2527M SQ05, V2527/V2527E SQ04, V2527/V2527E SQ05, V2530 SQ04, V2530 SQ05, V2533 SQ04, V2533 SQ05 | ||||
| 308308 | MS9321-10 | • WASHER - FLAT, 0.500 X 0.276 X 0.062 96906 PRE SBE71-0303 | aa-af/01 | 3 |
V2522/V2524/V2527M AQ02, V2522/V2524/V2527M AQ03, V2527/V2527E AQ02, V2527/V2527E AQ03, V2530 AQ02, V2530 AQ03, V2533 AQ02, V2533 AQ03, V2522/V2524/V2527M SQ02, V2522/V2524/V2527M SQ03, V2527/V2527E SQ02, V2527/V2527E SQ03, V2530 AS02, V2530 SQ03, V2533 SQ02, V2533 SQ03, V2522/V2524/V2527M SQ04, V2522/V2524/V2527M SQ05, V2527/V2527E SQ04, V2527/V2527E SQ05, V2530 SQ04, V2530 SQ05, V2533 SQ04, V2533 SQ05 | ||||
| 308308A | MS9321-10 | • WASHER - FLAT, 0.500 X 0.276 X 0.062 96906 POST SBE71-0303 PRE SBE72-0553 | ah-ai/01 | 2 |
V2522/V2524/V2527M AQ02, V2522/V2524/V2527M AQ03, V2527/V2527E AQ02, V2527/V2527E AQ03, V2530 AQ02, V2530 AQ03, V2533 AQ02, V2533 AQ03, V2522/V2524/V2527M SQ02, V2522/V2524/V2527M SQ03, V2527/V2527E SQ02, V2527/V2527E SQ03, V2530 AS02, V2530 SQ03, V2533 SQ02, V2533 SQ03, V2522/V2524/V2527M SQ04, V2522/V2524/V2527M SQ05, V2527/V2527E SQ04, V2527/V2527E SQ05, V2530 SQ04, V2530 SQ05, V2533 SQ04, V2533 SQ05 | ||||
| 308308B | MS9321-10 | • WASHER - FLAT, 0.500 X 0.276 X 0.062 96906 PRE SBE72-0553 | aj/01 | 3 |
V2522/V2524/V2527M AQ02, V2522/V2524/V2527M AQ03, V2527/V2527E AQ02, V2527/V2527E AQ03, V2530 AQ02, V2530 AQ03, V2533 AQ02, V2533 AQ03, V2522/V2524/V2527M SQ02, V2522/V2524/V2527M SQ03, V2527/V2527E SQ02, V2527/V2527E SQ03, V2530 AS02, V2530 SQ03, V2533 SQ02, V2533 SQ03, V2522/V2524/V2527M SQ04, V2522/V2524/V2527M SQ05, V2527/V2527E SQ04, V2527/V2527E SQ05, V2530 SQ04, V2530 SQ05, V2533 SQ04, V2533 SQ05 | ||||
| -309309 | 72-32-36 | DISTRIBUTOR - OIL NO.2 ANDNO. 3 BEARING | aa-aj/01 | REF |
V2522/V2524/V2527M AQ02, V2522/V2524/V2527M AQ03, V2527/V2527E AQ02, V2527/V2527E AQ03, V2530 AQ02, V2530 AQ03, V2533 AQ02, V2533 AQ03, V2522/V2524/V2527M SQ02, V2522/V2524/V2527M SQ03, V2527/V2527E SQ02, V2527/V2527E SQ03, V2530 AS02, V2530 SQ03, V2533 SQ02, V2533 SQ03, V2522/V2524/V2527M SQ04, V2522/V2524/V2527M SQ05, V2527/V2527E SQ04, V2527/V2527E SQ05, V2530 SQ04, V2530 SQ05, V2533 SQ04, V2533 SQ05 | ||||
| 310310 | AS43013-116 | • RING - SEALING, TOROIDAL U1653 | aa-aj/01 | 2 |
V2522/V2524/V2527M AQ02, V2522/V2524/V2527M AQ03, V2527/V2527E AQ02, V2527/V2527E AQ03, V2530 AQ02, V2530 AQ03, V2533 AQ02, V2533 AQ03, V2522/V2524/V2527M SQ02, V2522/V2524/V2527M SQ03, V2527/V2527E SQ02, V2527/V2527E SQ03, V2530 AS02, V2530 SQ03, V2533 SQ02, V2533 SQ03, V2522/V2524/V2527M SQ04, V2522/V2524/V2527M SQ05, V2527/V2527E SQ04, V2527/V2527E SQ05, V2530 SQ04, V2530 SQ05, V2533 SQ04, V2533 SQ05 | ||||
| 320320 | 4W0165 | • BOLT, MACHINE DOUBLE HEX - .250 DIA X .688 | aa-aj/01 | 3 |
V2522/V2524/V2527M AQ02, V2522/V2524/V2527M AQ03, V2527/V2527E AQ02, V2527/V2527E AQ03, V2530 AQ02, V2530 AQ03, V2533 AQ02, V2533 AQ03, V2522/V2524/V2527M SQ02, V2522/V2524/V2527M SQ03, V2527/V2527E SQ02, V2527/V2527E SQ03, V2530 AS02, V2530 SQ03, V2533 SQ02, V2533 SQ03, V2522/V2524/V2527M SQ04, V2522/V2524/V2527M SQ05, V2527/V2527E SQ04, V2527/V2527E SQ05, V2530 SQ04, V2530 SQ05, V2533 SQ04, V2533 SQ05 | ||||
| 330330 | 4W2622 | • WASHER OPTION | aa-aj/01 | 3 |
V2522/V2524/V2527M AQ02, V2522/V2524/V2527M AQ03, V2527/V2527E AQ02, V2527/V2527E AQ03, V2530 AQ02, V2530 AQ03, V2533 AQ02, V2533 AQ03, V2522/V2524/V2527M SQ02, V2522/V2524/V2527M SQ03, V2527/V2527E SQ02, V2527/V2527E SQ03, V2530 AS02, V2530 SQ03, V2533 SQ02, V2533 SQ03, V2522/V2524/V2527M SQ04, V2522/V2524/V2527M SQ05, V2527/V2527E SQ04, V2527/V2527E SQ05, V2530 SQ04, V2530 SQ05, V2533 SQ04, V2533 SQ05 | ||||
| 340340 | AS43013-123 | • RING U1653 | aa-aj/01 | 1 |
V2522/V2524/V2527M AQ02, V2522/V2524/V2527M AQ03, V2527/V2527E AQ02, V2527/V2527E AQ03, V2530 AQ02, V2530 AQ03, V2533 AQ02, V2533 AQ03, V2522/V2524/V2527M SQ02, V2522/V2524/V2527M SQ03, V2527/V2527E SQ02, V2527/V2527E SQ03, V2530 AS02, V2530 SQ03, V2533 SQ02, V2533 SQ03, V2522/V2524/V2527M SQ04, V2522/V2524/V2527M SQ05, V2527/V2527E SQ04, V2527/V2527E SQ05, V2530 SQ04, V2530 SQ05, V2533 SQ04, V2533 SQ05 | ||||
| 350350 | 4W0232 | • BOLT - 0.3125 DIA X 1.188 PRE SBE72-0350 | aa-aj/01 | 2 |
V2522/V2524/V2527M AQ02, V2522/V2524/V2527M AQ03, V2527/V2527E AQ02, V2527/V2527E AQ03, V2530 AQ02, V2530 AQ03, V2533 AQ02, V2533 AQ03, V2522/V2524/V2527M SQ02, V2522/V2524/V2527M SQ03, V2527/V2527E SQ02, V2527/V2527E SQ03, V2530 AS02, V2530 SQ03, V2533 SQ02, V2533 SQ03, V2522/V2524/V2527M SQ04, V2522/V2524/V2527M SQ05, V2527/V2527E SQ04, V2527/V2527E SQ05, V2530 SQ04, V2530 SQ05, V2533 SQ04, V2533 SQ05 | ||||
| 350350A | 5A1836 | • BOLT POST SBE72-0350 | ad-aj/01 | 2 |
V2522/V2524/V2527M AQ02, V2522/V2524/V2527M AQ03, V2527/V2527E AQ02, V2527/V2527E AQ03, V2530 AQ02, V2530 AQ03, V2533 AQ02, V2533 AQ03, V2522/V2524/V2527M SQ02, V2522/V2524/V2527M SQ03, V2527/V2527E SQ02, V2527/V2527E SQ03, V2530 AS02, V2530 SQ03, V2533 SQ02, V2533 SQ03, V2522/V2524/V2527M SQ04, V2522/V2524/V2527M SQ05, V2527/V2527E SQ04, V2527/V2527E SQ05, V2530 SQ04, V2530 SQ05, V2533 SQ04, V2533 SQ05 | ||||
| 360360 | AS43013-012 | • RING U1653 | aa-aj/01 | 1 |
V2522/V2524/V2527M AQ02, V2522/V2524/V2527M AQ03, V2527/V2527E AQ02, V2527/V2527E AQ03, V2530 AQ02, V2530 AQ03, V2533 AQ02, V2533 AQ03, V2522/V2524/V2527M SQ02, V2522/V2524/V2527M SQ03, V2527/V2527E SQ02, V2527/V2527E SQ03, V2530 AS02, V2530 SQ03, V2533 SQ02, V2533 SQ03, V2522/V2524/V2527M SQ04, V2522/V2524/V2527M SQ05, V2527/V2527E SQ04, V2527/V2527E SQ05, V2530 SQ04, V2530 SQ05, V2533 SQ04, V2533 SQ05 | ||||
| 370370 | 4W0165 | • BOLT, MACHINE DOUBLE HEX - .250 DIA X .688 | aa-aj/01 | 3 |
V2522/V2524/V2527M AQ02, V2522/V2524/V2527M AQ03, V2527/V2527E AQ02, V2527/V2527E AQ03, V2530 AQ02, V2530 AQ03, V2533 AQ02, V2533 AQ03, V2522/V2524/V2527M SQ02, V2522/V2524/V2527M SQ03, V2527/V2527E SQ02, V2527/V2527E SQ03, V2530 AS02, V2530 SQ03, V2533 SQ02, V2533 SQ03, V2522/V2524/V2527M SQ04, V2522/V2524/V2527M SQ05, V2527/V2527E SQ04, V2527/V2527E SQ05, V2530 SQ04, V2530 SQ05, V2533 SQ04, V2533 SQ05 | ||||
| 380380 | AS43013-120 | • RING - SEALING, TOROIDAL U1653 | aa-aj/01 | 1 |
V2522/V2524/V2527M AQ02, V2522/V2524/V2527M AQ03, V2527/V2527E AQ02, V2527/V2527E AQ03, V2530 AQ02, V2530 AQ03, V2533 AQ02, V2533 AQ03, V2522/V2524/V2527M SQ02, V2522/V2524/V2527M SQ03, V2527/V2527E SQ02, V2527/V2527E SQ03, V2530 AS02, V2530 SQ03, V2533 SQ02, V2533 SQ03, V2522/V2524/V2527M SQ04, V2522/V2524/V2527M SQ05, V2527/V2527E SQ04, V2527/V2527E SQ05, V2530 SQ04, V2530 SQ05, V2533 SQ04, V2533 SQ05 | ||||
| -390390 | 72-32-35 | SEAL - REAR AIR BRG COMPARTMENT | aa-aj/01 | REF |
V2522/V2524/V2527M AQ02, V2522/V2524/V2527M AQ03, V2527/V2527E AQ02, V2527/V2527E AQ03, V2530 AQ02, V2530 AQ03, V2533 AQ02, V2533 AQ03, V2522/V2524/V2527M SQ02, V2522/V2524/V2527M SQ03, V2527/V2527E SQ02, V2527/V2527E SQ03, V2530 AS02, V2530 SQ03, V2533 SQ02, V2533 SQ03, V2522/V2524/V2527M SQ04, V2522/V2524/V2527M SQ05, V2527/V2527E SQ04, V2527/V2527E SQ05, V2530 SQ04, V2530 SQ05, V2533 SQ04, V2533 SQ05 | ||||
| 400400 | AS21010 | • BOLT - .250 DIA X .625 U1653 | aa-aj/01 | 18 |
V2522/V2524/V2527M AQ02, V2522/V2524/V2527M AQ03, V2527/V2527E AQ02, V2527/V2527E AQ03, V2530 AQ02, V2530 AQ03, V2533 AQ02, V2533 AQ03, V2522/V2524/V2527M SQ02, V2522/V2524/V2527M SQ03, V2527/V2527E SQ02, V2527/V2527E SQ03, V2530 AS02, V2530 SQ03, V2533 SQ02, V2533 SQ03, V2522/V2524/V2527M SQ04, V2522/V2524/V2527M SQ05, V2527/V2527E SQ04, V2527/V2527E SQ05, V2530 SQ04, V2530 SQ05, V2533 SQ04, V2533 SQ05 | ||||
| 466466 | 5A9545 | • BRACKET - NF D | aa-aj/01 | 1 |
V2522/V2524/V2527M AQ02, V2522/V2524/V2527M AQ03, V2527/V2527E AQ02, V2527/V2527E AQ03, V2530 AQ02, V2530 AQ03, V2533 AQ02, V2533 AQ03, V2522/V2524/V2527M SQ02, V2522/V2524/V2527M SQ03, V2527/V2527E SQ02, V2527/V2527E SQ03, V2530 AS02, V2530 SQ03, V2533 SQ02, V2533 SQ03, V2522/V2524/V2527M SQ04, V2522/V2524/V2527M SQ05, V2527/V2527E SQ04, V2527/V2527E SQ05, V2530 SQ04, V2530 SQ05, V2533 SQ04, V2533 SQ05 | ||||
| 468468 | 5A9544 | • BRACKET - NF C | aa-aj/01 | 1 |
V2522/V2524/V2527M AQ02, V2522/V2524/V2527M AQ03, V2527/V2527E AQ02, V2527/V2527E AQ03, V2530 AQ02, V2530 AQ03, V2533 AQ02, V2533 AQ03, V2522/V2524/V2527M SQ02, V2522/V2524/V2527M SQ03, V2527/V2527E SQ02, V2527/V2527E SQ03, V2530 AS02, V2530 SQ03, V2533 SQ02, V2533 SQ03, V2522/V2524/V2527M SQ04, V2522/V2524/V2527M SQ05, V2527/V2527E SQ04, V2527/V2527E SQ05, V2530 SQ04, V2530 SQ05, V2533 SQ04, V2533 SQ05 | ||||
| -470470 | 72-32-10 | BEARING - INTERNAL GEARBOX NO. 3, ASSEMBLY OF | aa-aj/01 | REF |
V2522/V2524/V2527M AQ02, V2522/V2524/V2527M AQ03, V2527/V2527E AQ02, V2527/V2527E AQ03, V2530 AQ02, V2530 AQ03, V2533 AQ02, V2533 AQ03, V2522/V2524/V2527M SQ02, V2522/V2524/V2527M SQ03, V2527/V2527E SQ02, V2527/V2527E SQ03, V2530 AS02, V2530 SQ03, V2533 SQ02, V2533 SQ03, V2522/V2524/V2527M SQ04, V2522/V2524/V2527M SQ05, V2527/V2527E SQ04, V2527/V2527E SQ05, V2530 SQ04, V2530 SQ05, V2533 SQ04, V2533 SQ05 | ||||
| 472472 | AS21119 | • BOLT - MACHINE, DOUBLE HEXAGON - 0.3125 DIA X 1.188 U1653 PRE SBE72-0350 | aa-aj/01 | 4 |
V2522/V2524/V2527M AQ02, V2522/V2524/V2527M AQ03, V2527/V2527E AQ02, V2527/V2527E AQ03, V2530 AQ02, V2530 AQ03, V2533 AQ02, V2533 AQ03, V2522/V2524/V2527M SQ02, V2522/V2524/V2527M SQ03, V2527/V2527E SQ02, V2527/V2527E SQ03, V2530 AS02, V2530 SQ03, V2533 SQ02, V2533 SQ03, V2522/V2524/V2527M SQ04, V2522/V2524/V2527M SQ05, V2527/V2527E SQ04, V2527/V2527E SQ05, V2530 SQ04, V2530 SQ05, V2533 SQ04, V2533 SQ05 | ||||
| 472472A | 5A1836 | • BOLT POST SBE72-0350 | ad-aj/01 | 4 |
V2522/V2524/V2527M AQ02, V2522/V2524/V2527M AQ03, V2527/V2527E AQ02, V2527/V2527E AQ03, V2530 AQ02, V2530 AQ03, V2533 AQ02, V2533 AQ03, V2522/V2524/V2527M SQ02, V2522/V2524/V2527M SQ03, V2527/V2527E SQ02, V2527/V2527E SQ03, V2530 AS02, V2530 SQ03, V2533 SQ02, V2533 SQ03, V2522/V2524/V2527M SQ04, V2522/V2524/V2527M SQ05, V2527/V2527E SQ04, V2527/V2527E SQ05, V2530 SQ04, V2530 SQ05, V2533 SQ04, V2533 SQ05 | ||||
| 480480 | AS21117 | • BOLT - 0.3125 DIA X 1.062 U1653 PRE SBE72-0350 | aa-aj/01 | 14 |
V2522/V2524/V2527M AQ02, V2522/V2524/V2527M AQ03, V2527/V2527E AQ02, V2527/V2527E AQ03, V2530 AQ02, V2530 AQ03, V2533 AQ02, V2533 AQ03, V2522/V2524/V2527M SQ02, V2522/V2524/V2527M SQ03, V2527/V2527E SQ02, V2527/V2527E SQ03, V2530 AS02, V2530 SQ03, V2533 SQ02, V2533 SQ03, V2522/V2524/V2527M SQ04, V2522/V2524/V2527M SQ05, V2527/V2527E SQ04, V2527/V2527E SQ05, V2530 SQ04, V2530 SQ05, V2533 SQ04, V2533 SQ05 | ||||
| 480480A | 5A1841 | • BOLT POST SBE72-0350 | ad-aj/01 | 14 |
V2522/V2524/V2527M AQ02, V2522/V2524/V2527M AQ03, V2527/V2527E AQ02, V2527/V2527E AQ03, V2530 AQ02, V2530 AQ03, V2533 AQ02, V2533 AQ03, V2522/V2524/V2527M SQ02, V2522/V2524/V2527M SQ03, V2527/V2527E SQ02, V2527/V2527E SQ03, V2530 AS02, V2530 SQ03, V2533 SQ02, V2533 SQ03, V2522/V2524/V2527M SQ04, V2522/V2524/V2527M SQ05, V2527/V2527E SQ04, V2527/V2527E SQ05, V2530 SQ04, V2530 SQ05, V2533 SQ04, V2533 SQ05 | ||||
| 495495 | 5A0777 | • RING | aa-aj/01 | 1 |
V2522/V2524/V2527M AQ02, V2522/V2524/V2527M AQ03, V2527/V2527E AQ02, V2527/V2527E AQ03, V2530 AQ02, V2530 AQ03, V2533 AQ02, V2533 AQ03, V2522/V2524/V2527M SQ02, V2522/V2524/V2527M SQ03, V2527/V2527E SQ02, V2527/V2527E SQ03, V2530 AS02, V2530 SQ03, V2533 SQ02, V2533 SQ03, V2522/V2524/V2527M SQ04, V2522/V2524/V2527M SQ05, V2527/V2527E SQ04, V2527/V2527E SQ05, V2530 SQ04, V2530 SQ05, V2533 SQ04, V2533 SQ05 | ||||
| -500500 | 72-32-07 | LINE- OIL FEED DISTRIBUTOR | aa-aj/01 | REF |
V2522/V2524/V2527M AQ02, V2522/V2524/V2527M AQ03, V2527/V2527E AQ02, V2527/V2527E AQ03, V2530 AQ02, V2530 AQ03, V2533 AQ02, V2533 AQ03, V2522/V2524/V2527M SQ02, V2522/V2524/V2527M SQ03, V2527/V2527E SQ02, V2527/V2527E SQ03, V2530 AS02, V2530 SQ03, V2533 SQ02, V2533 SQ03, V2522/V2524/V2527M SQ04, V2522/V2524/V2527M SQ05, V2527/V2527E SQ04, V2527/V2527E SQ05, V2530 SQ04, V2530 SQ05, V2533 SQ04, V2533 SQ05 | ||||
| 510510 | 4W0165 | • BOLT, MACHINE DOUBLE HEX - .250 DIA X .688 | aa-aj/01 | 3 |
V2522/V2524/V2527M AQ02, V2522/V2524/V2527M AQ03, V2527/V2527E AQ02, V2527/V2527E AQ03, V2530 AQ02, V2530 AQ03, V2533 AQ02, V2533 AQ03, V2522/V2524/V2527M SQ02, V2522/V2524/V2527M SQ03, V2527/V2527E SQ02, V2527/V2527E SQ03, V2530 AS02, V2530 SQ03, V2533 SQ02, V2533 SQ03, V2522/V2524/V2527M SQ04, V2522/V2524/V2527M SQ05, V2527/V2527E SQ04, V2527/V2527E SQ05, V2530 SQ04, V2530 SQ05, V2533 SQ04, V2533 SQ05 | ||||
| 520520 | 4W2622 | • WASHER OPTION | aa-aj/01 | 3 |
V2522/V2524/V2527M AQ02, V2522/V2524/V2527M AQ03, V2527/V2527E AQ02, V2527/V2527E AQ03, V2530 AQ02, V2530 AQ03, V2533 AQ02, V2533 AQ03, V2522/V2524/V2527M SQ02, V2522/V2524/V2527M SQ03, V2527/V2527E SQ02, V2527/V2527E SQ03, V2530 AS02, V2530 SQ03, V2533 SQ02, V2533 SQ03, V2522/V2524/V2527M SQ04, V2522/V2524/V2527M SQ05, V2527/V2527E SQ04, V2527/V2527E SQ05, V2530 SQ04, V2530 SQ05, V2533 SQ04, V2533 SQ05 | ||||
| 535535 | 6A2803 | • BRACKET | aa-aj/01 | 1 |
V2522/V2524/V2527M AQ02, V2522/V2524/V2527M AQ03, V2527/V2527E AQ02, V2527/V2527E AQ03, V2530 AQ02, V2530 AQ03, V2533 AQ02, V2533 AQ03, V2522/V2524/V2527M SQ02, V2522/V2524/V2527M SQ03, V2527/V2527E SQ02, V2527/V2527E SQ03, V2530 AS02, V2530 SQ03, V2533 SQ02, V2533 SQ03, V2522/V2524/V2527M SQ04, V2522/V2524/V2527M SQ05, V2527/V2527E SQ04, V2527/V2527E SQ05, V2530 SQ04, V2530 SQ05, V2533 SQ04, V2533 SQ05 | ||||
| 548548 | 5W8301 | • BRACKET | aa-aj/01 | 1 |
V2522/V2524/V2527M AQ02, V2522/V2524/V2527M AQ03, V2527/V2527E AQ02, V2527/V2527E AQ03, V2530 AQ02, V2530 AQ03, V2533 AQ02, V2533 AQ03, V2522/V2524/V2527M SQ02, V2522/V2524/V2527M SQ03, V2527/V2527E SQ02, V2527/V2527E SQ03, V2530 AS02, V2530 SQ03, V2533 SQ02, V2533 SQ03, V2522/V2524/V2527M SQ04, V2522/V2524/V2527M SQ05, V2527/V2527E SQ04, V2527/V2527E SQ05, V2530 SQ04, V2530 SQ05, V2533 SQ04, V2533 SQ05 | ||||
| -550550 | 72-32-05 | SHAFT - PTO DRIVE BEARING SUPPORT | aa-aj/01 | REF |
V2522/V2524/V2527M AQ02, V2522/V2524/V2527M AQ03, V2527/V2527E AQ02, V2527/V2527E AQ03, V2530 AQ02, V2530 AQ03, V2533 AQ02, V2533 AQ03, V2522/V2524/V2527M SQ02, V2522/V2524/V2527M SQ03, V2527/V2527E SQ02, V2527/V2527E SQ03, V2530 AS02, V2530 SQ03, V2533 SQ02, V2533 SQ03, V2522/V2524/V2527M SQ04, V2522/V2524/V2527M SQ05, V2527/V2527E SQ04, V2527/V2527E SQ05, V2530 SQ04, V2530 SQ05, V2533 SQ04, V2533 SQ05 | ||||
| 560560 | AS21010 | • BOLT - .250 DIA X .625 U1653 | aa-aj/01 | 8 |
V2522/V2524/V2527M AQ02, V2522/V2524/V2527M AQ03, V2527/V2527E AQ02, V2527/V2527E AQ03, V2530 AQ02, V2530 AQ03, V2533 AQ02, V2533 AQ03, V2522/V2524/V2527M SQ02, V2522/V2524/V2527M SQ03, V2527/V2527E SQ02, V2527/V2527E SQ03, V2530 AS02, V2530 SQ03, V2533 SQ02, V2533 SQ03, V2522/V2524/V2527M SQ04, V2522/V2524/V2527M SQ05, V2527/V2527E SQ04, V2527/V2527E SQ05, V2530 SQ04, V2530 SQ05, V2533 SQ04, V2533 SQ05 | ||||
| 570570 | AS43013-148 | • RING U1653 | aa-aj/01 | 1 |
V2522/V2524/V2527M AQ02, V2522/V2524/V2527M AQ03, V2527/V2527E AQ02, V2527/V2527E AQ03, V2530 AQ02, V2530 AQ03, V2533 AQ02, V2533 AQ03, V2522/V2524/V2527M SQ02, V2522/V2524/V2527M SQ03, V2527/V2527E SQ02, V2527/V2527E SQ03, V2530 AS02, V2530 SQ03, V2533 SQ02, V2533 SQ03, V2522/V2524/V2527M SQ04, V2522/V2524/V2527M SQ05, V2527/V2527E SQ04, V2527/V2527E SQ05, V2530 SQ04, V2530 SQ05, V2533 SQ04, V2533 SQ05 | ||||
| 580580 | 5A1296 | • PLATE | aa-aj/01 | 1 |
V2522/V2524/V2527M AQ02, V2522/V2524/V2527M AQ03, V2527/V2527E AQ02, V2527/V2527E AQ03, V2530 AQ02, V2530 AQ03, V2533 AQ02, V2533 AQ03, V2522/V2524/V2527M SQ02, V2522/V2524/V2527M SQ03, V2527/V2527E SQ02, V2527/V2527E SQ03, V2530 AS02, V2530 SQ03, V2533 SQ02, V2533 SQ03, V2522/V2524/V2527M SQ04, V2522/V2524/V2527M SQ05, V2527/V2527E SQ04, V2527/V2527E SQ05, V2530 SQ04, V2530 SQ05, V2533 SQ04, V2533 SQ05 | ||||
| 590590 | AS21011 | • BOLT,MACHINE DOUBLE HEX U1653 | aa-aj/01 | 3 |
V2522/V2524/V2527M AQ02, V2522/V2524/V2527M AQ03, V2527/V2527E AQ02, V2527/V2527E AQ03, V2530 AQ02, V2530 AQ03, V2533 AQ02, V2533 AQ03, V2522/V2524/V2527M SQ02, V2522/V2524/V2527M SQ03, V2527/V2527E SQ02, V2527/V2527E SQ03, V2530 AS02, V2530 SQ03, V2533 SQ02, V2533 SQ03, V2522/V2524/V2527M SQ04, V2522/V2524/V2527M SQ05, V2527/V2527E SQ04, V2527/V2527E SQ05, V2530 SQ04, V2530 SQ05, V2533 SQ04, V2533 SQ05 | ||||
| 600600 | AS43013-132 | • RING - SEAL, 1.737 ID X 0.103 U1653 | aa-aj/01 | 1 |
V2522/V2524/V2527M AQ02, V2522/V2524/V2527M AQ03, V2527/V2527E AQ02, V2527/V2527E AQ03, V2530 AQ02, V2530 AQ03, V2533 AQ02, V2533 AQ03, V2522/V2524/V2527M SQ02, V2522/V2524/V2527M SQ03, V2527/V2527E SQ02, V2527/V2527E SQ03, V2530 AS02, V2530 SQ03, V2533 SQ02, V2533 SQ03, V2522/V2524/V2527M SQ04, V2522/V2524/V2527M SQ05, V2527/V2527E SQ04, V2527/V2527E SQ05, V2530 SQ04, V2530 SQ05, V2533 SQ04, V2533 SQ05 | ||||
| 610610 | AS43013-125 | • RING - SEALING, TOROIDAL U1653 2109225 | aa-aj/01 | 1 |
V2522/V2524/V2527M AQ02, V2522/V2524/V2527M AQ03, V2527/V2527E AQ02, V2527/V2527E AQ03, V2530 AQ02, V2530 AQ03, V2533 AQ02, V2533 AQ03, V2522/V2524/V2527M SQ02, V2522/V2524/V2527M SQ03, V2527/V2527E SQ02, V2527/V2527E SQ03, V2530 AS02, V2530 SQ03, V2533 SQ02, V2533 SQ03, V2522/V2524/V2527M SQ04, V2522/V2524/V2527M SQ05, V2527/V2527E SQ04, V2527/V2527E SQ05, V2530 SQ04, V2530 SQ05, V2533 SQ04, V2533 SQ05 | ||||
| 615615 | AS43013-130 | • RING - SEALING, TOROIDAL U1653 PRE SBE72-0152 | aa/02 | 1 |
V2522/V2524/V2527M AQ02, V2527/V2527E AQ02, V2530 AQ02, V2522/V2524/V2527M AQ03, V2527/V2527E AQ03, V2530 AQ03, V2522/V2524/V2527M SQ02, V2527/V2527E SQ02, V2530 SQ02, V2522/V2524/V2527M SQ03, V2527/V2527E SQ03, V2530 SQ03, V2522/V2524/V2527M SQ04, V2527/V2527E SQ04, V2530 SQ04, V2522/V2524/V2527M SQ05, V2527/V2527E SQ05, V2530 SQ05 | ||||
| 615615A | AS43013-131 | • RING - SEALING, TOROIDAL U1653 POST SBE72-0152 | ab-aj/01 | 1 |
V2522/V2524/V2527M AQ02, V2522/V2524/V2527M AQ03, V2527/V2527E AQ02, V2527/V2527E AQ03, V2530 AQ02, V2530 AQ03, V2533 AQ02, V2533 AQ03, V2522/V2524/V2527M SQ02, V2522/V2524/V2527M SQ03, V2527/V2527E SQ02, V2527/V2527E SQ03, V2530 AS02, V2530 SQ03, V2533 SQ02, V2533 SQ03, V2522/V2524/V2527M SQ04, V2522/V2524/V2527M SQ05, V2527/V2527E SQ04, V2527/V2527E SQ05, V2530 SQ04, V2530 SQ05, V2533 SQ04, V2533 SQ05 | ||||
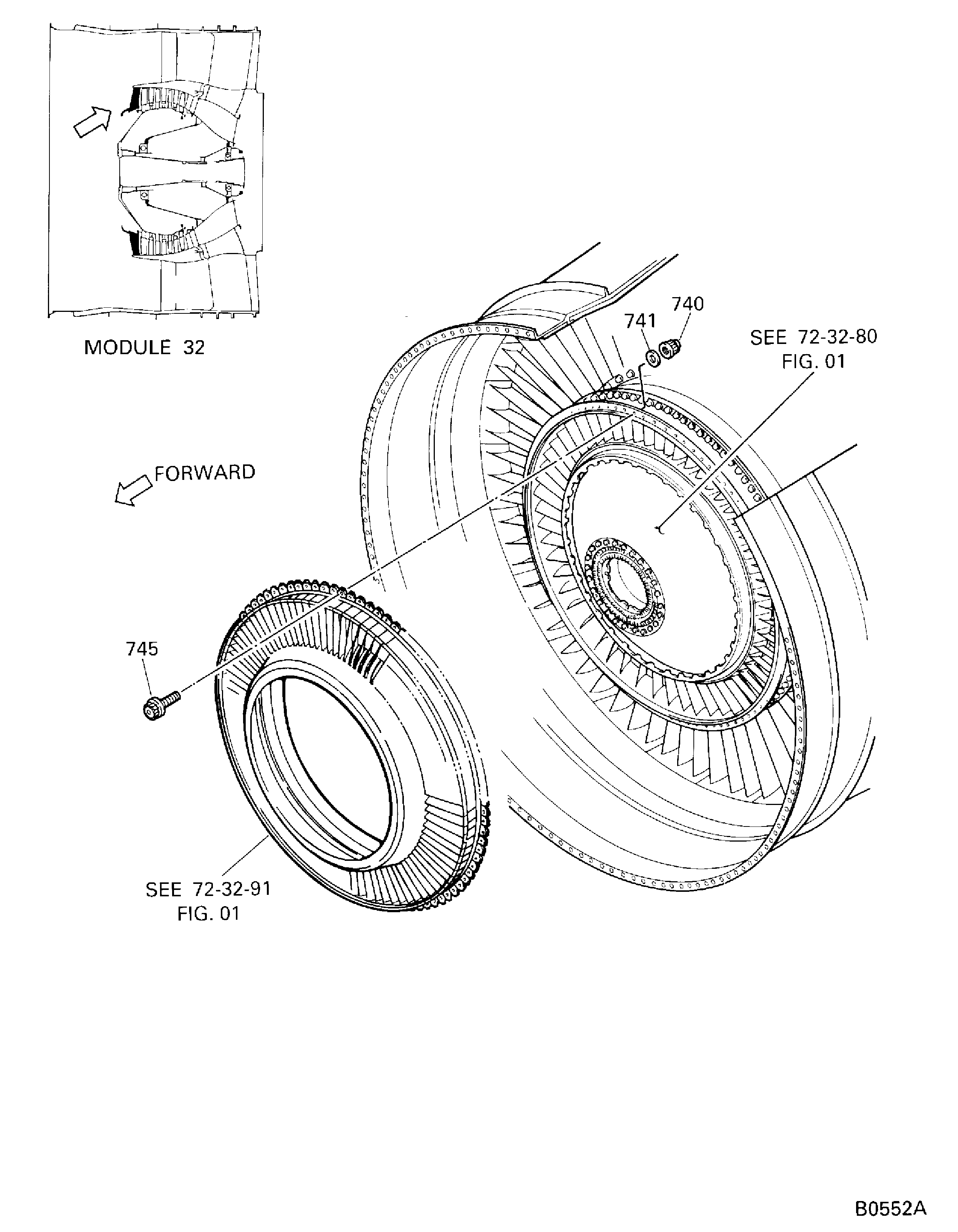
| 740740 | 4W0001 | • NUT, OPTION - .190 DIA (SEE APPENDIX 5) | aa-aj/01 | 100 |
V2522/V2524/V2527M AQ02, V2522/V2524/V2527M AQ03, V2527/V2527E AQ02, V2527/V2527E AQ03, V2530 AQ02, V2530 AQ03, V2533 AQ02, V2533 AQ03, V2522/V2524/V2527M SQ02, V2522/V2524/V2527M SQ03, V2527/V2527E SQ02, V2527/V2527E SQ03, V2530 AS02, V2530 SQ03, V2533 SQ02, V2533 SQ03, V2522/V2524/V2527M SQ04, V2522/V2524/V2527M SQ05, V2527/V2527E SQ04, V2527/V2527E SQ05, V2530 SQ04, V2530 SQ05, V2533 SQ04, V2533 SQ05 | ||||
| 741741 | 4W2621 | • WASHER (SEE APPENDIX 5) | aa-aj/01 | 100 |
V2522/V2524/V2527M AQ02, V2522/V2524/V2527M AQ03, V2527/V2527E AQ02, V2527/V2527E AQ03, V2530 AQ02, V2530 AQ03, V2533 AQ02, V2533 AQ03, V2522/V2524/V2527M SQ02, V2522/V2524/V2527M SQ03, V2527/V2527E SQ02, V2527/V2527E SQ03, V2530 AS02, V2530 SQ03, V2533 SQ02, V2533 SQ03, V2522/V2524/V2527M SQ04, V2522/V2524/V2527M SQ05, V2527/V2527E SQ04, V2527/V2527E SQ05, V2530 SQ04, V2530 SQ05, V2533 SQ04, V2533 SQ05 | ||||
| 745745 | 4W0105 | • BOLT - MACHINE DOUBLE HEX, .190 DIA X .625 | aa-aj/01 | 100 |
V2522/V2524/V2527M AQ02, V2522/V2524/V2527M AQ03, V2527/V2527E AQ02, V2527/V2527E AQ03, V2530 AQ02, V2530 AQ03, V2533 AQ02, V2533 AQ03, V2522/V2524/V2527M SQ02, V2522/V2524/V2527M SQ03, V2527/V2527E SQ02, V2527/V2527E SQ03, V2530 AS02, V2530 SQ03, V2533 SQ02, V2533 SQ03, V2522/V2524/V2527M SQ04, V2522/V2524/V2527M SQ05, V2527/V2527E SQ04, V2527/V2527E SQ05, V2530 SQ04, V2530 SQ05, V2533 SQ04, V2533 SQ05 | ||||
| 805805 | 4W2392 | • SCREW - 0.250 DIA X 10.000 | aa-aj/01 | 30 |
V2522/V2524/V2527M AQ02, V2522/V2524/V2527M AQ03, V2527/V2527E AQ02, V2527/V2527E AQ03, V2530 AQ02, V2530 AQ03, V2533 AQ02, V2533 AQ03, V2522/V2524/V2527M SQ02, V2522/V2524/V2527M SQ03, V2527/V2527E SQ02, V2527/V2527E SQ03, V2530 AS02, V2530 SQ03, V2533 SQ02, V2533 SQ03, V2522/V2524/V2527M SQ04, V2522/V2524/V2527M SQ05, V2527/V2527E SQ04, V2527/V2527E SQ05, V2530 SQ04, V2530 SQ05, V2533 SQ04, V2533 SQ05 | ||||
| 808808 | 4W2390 | • SCREW - 0.250 DIA X 0.875 (SEE APPENDIX 5) | aa-aj/01 | 36 |
V2522/V2524/V2527M AQ02, V2522/V2524/V2527M AQ03, V2527/V2527E AQ02, V2527/V2527E AQ03, V2530 AQ02, V2530 AQ03, V2533 AQ02, V2533 AQ03, V2522/V2524/V2527M SQ02, V2522/V2524/V2527M SQ03, V2527/V2527E SQ02, V2527/V2527E SQ03, V2530 AS02, V2530 SQ03, V2533 SQ02, V2533 SQ03, V2522/V2524/V2527M SQ04, V2522/V2524/V2527M SQ05, V2527/V2527E SQ04, V2527/V2527E SQ05, V2530 SQ04, V2530 SQ05, V2533 SQ04, V2533 SQ05 | ||||
| 810810 | 4W2392 | • SCREW - 0.250 DIA X 10.000 | aa-aj/01 | 20 |
V2522/V2524/V2527M AQ02, V2522/V2524/V2527M AQ03, V2527/V2527E AQ02, V2527/V2527E AQ03, V2530 AQ02, V2530 AQ03, V2533 AQ02, V2533 AQ03, V2522/V2524/V2527M SQ02, V2522/V2524/V2527M SQ03, V2527/V2527E SQ02, V2527/V2527E SQ03, V2530 AS02, V2530 SQ03, V2533 SQ02, V2533 SQ03, V2522/V2524/V2527M SQ04, V2522/V2524/V2527M SQ05, V2527/V2527E SQ04, V2527/V2527E SQ05, V2530 SQ04, V2530 SQ05, V2533 SQ04, V2533 SQ05 | ||||
| 820820 | 4W2390 | • SCREW - 0.250 DIA X 0.875 | aa-aj/01 | 38 |
V2522/V2524/V2527M AQ02, V2522/V2524/V2527M AQ03, V2527/V2527E AQ02, V2527/V2527E AQ03, V2530 AQ02, V2530 AQ03, V2533 AQ02, V2533 AQ03, V2522/V2524/V2527M SQ02, V2522/V2524/V2527M SQ03, V2527/V2527E SQ02, V2527/V2527E SQ03, V2530 AS02, V2530 SQ03, V2533 SQ02, V2533 SQ03, V2522/V2524/V2527M SQ04, V2522/V2524/V2527M SQ05, V2527/V2527E SQ04, V2527/V2527E SQ05, V2530 SQ04, V2530 SQ05, V2533 SQ04, V2533 SQ05 | ||||
| 823823 | 4W0002 | • NUT - SELF LOCKING, DOUBLE HEXAGON, .250 DIA | aa-aj/01 | 4 |
V2522/V2524/V2527M AQ02, V2522/V2524/V2527M AQ03, V2527/V2527E AQ02, V2527/V2527E AQ03, V2530 AQ02, V2530 AQ03, V2533 AQ02, V2533 AQ03, V2522/V2524/V2527M SQ02, V2522/V2524/V2527M SQ03, V2527/V2527E SQ02, V2527/V2527E SQ03, V2530 AS02, V2530 SQ03, V2533 SQ02, V2533 SQ03, V2522/V2524/V2527M SQ04, V2522/V2524/V2527M SQ05, V2527/V2527E SQ04, V2527/V2527E SQ05, V2530 SQ04, V2530 SQ05, V2533 SQ04, V2533 SQ05 | ||||
| 825825 | 4W2390 | • SCREW - 0.250 DIA X 0.875 | aa-aj/01 | 4 |
V2522/V2524/V2527M AQ02, V2522/V2524/V2527M AQ03, V2527/V2527E AQ02, V2527/V2527E AQ03, V2530 AQ02, V2530 AQ03, V2533 AQ02, V2533 AQ03, V2522/V2524/V2527M SQ02, V2522/V2524/V2527M SQ03, V2527/V2527E SQ02, V2527/V2527E SQ03, V2530 AS02, V2530 SQ03, V2533 SQ02, V2533 SQ03, V2522/V2524/V2527M SQ04, V2522/V2524/V2527M SQ05, V2527/V2527E SQ04, V2527/V2527E SQ05, V2530 SQ04, V2530 SQ05, V2533 SQ04, V2533 SQ05 | ||||
| 828828 | 4W0002 | • NUT - SELF LOCKING, DOUBLE HEXAGON, .250 DIA | aa-aj/01 | 4 |
V2522/V2524/V2527M AQ02, V2522/V2524/V2527M AQ03, V2527/V2527E AQ02, V2527/V2527E AQ03, V2530 AQ02, V2530 AQ03, V2533 AQ02, V2533 AQ03, V2522/V2524/V2527M SQ02, V2522/V2524/V2527M SQ03, V2527/V2527E SQ02, V2527/V2527E SQ03, V2530 AS02, V2530 SQ03, V2533 SQ02, V2533 SQ03, V2522/V2524/V2527M SQ04, V2522/V2524/V2527M SQ05, V2527/V2527E SQ04, V2527/V2527E SQ05, V2530 SQ04, V2530 SQ05, V2533 SQ04, V2533 SQ05 | ||||
| 830830 | 4W2390 | • SCREW - 0.250 DIA X 0.875 | aa-aj/01 | 4 |
V2522/V2524/V2527M AQ02, V2522/V2524/V2527M AQ03, V2527/V2527E AQ02, V2527/V2527E AQ03, V2530 AQ02, V2530 AQ03, V2533 AQ02, V2533 AQ03, V2522/V2524/V2527M SQ02, V2522/V2524/V2527M SQ03, V2527/V2527E SQ02, V2527/V2527E SQ03, V2530 AS02, V2530 SQ03, V2533 SQ02, V2533 SQ03, V2522/V2524/V2527M SQ04, V2522/V2524/V2527M SQ05, V2527/V2527E SQ04, V2527/V2527E SQ05, V2530 SQ04, V2530 SQ05, V2533 SQ04, V2533 SQ05 | ||||
| 852852 | 4W2330 | • SCREW - 0.190 DIA X 0.875 PRE SBE72-0155 | aa-ab/02 | 18 |
V2522/V2524/V2527M AQ02, V2527/V2527E AQ02, V2530 AQ02, V2522/V2524/V2527M AQ03, V2527/V2527E AQ03, V2530 AQ03, V2522/V2524/V2527M SQ02, V2527/V2527E SQ02, V2530 SQ02, V2522/V2524/V2527M SQ03, V2527/V2527E SQ03, V2530 SQ03, V2522/V2524/V2527M SQ04, V2527/V2527E SQ04, V2530 SQ04, V2522/V2524/V2527M SQ05, V2527/V2527E SQ05, V2530 SQ05 | ||||
| 852852A | 4W2328 | • SCREW - 0.190 DIA X 0.750 POST SBE72-0155 | ac-aj/01 | 20 |
V2522/V2524/V2527M AQ02, V2522/V2524/V2527M AQ03, V2527/V2527E AQ02, V2527/V2527E AQ03, V2530 AQ02, V2530 AQ03, V2533 AQ02, V2533 AQ03, V2522/V2524/V2527M SQ02, V2522/V2524/V2527M SQ03, V2527/V2527E SQ02, V2527/V2527E SQ03, V2530 AS02, V2530 SQ03, V2533 SQ02, V2533 SQ03, V2522/V2524/V2527M SQ04, V2522/V2524/V2527M SQ05, V2527/V2527E SQ04, V2527/V2527E SQ05, V2530 SQ04, V2530 SQ05, V2533 SQ04, V2533 SQ05 | ||||
| - ITEM NOT ILLUSTRATED, ***** EFFECTIVITY NOT AVAILABLE | ||||
Figure: LP Compressor (LPC) - Intermediate Structure Module
LP Compressor (LPC) - Intermediate Structure Module

LP Compressor (LPC) - Intermediate Structure Module

LP Compressor (LPC) - Intermediate Structure Module

LP Compressor (LPC) - Intermediate Structure Module

LP Compressor (LPC) - Intermediate Structure Module

LP Compressor (LPC) - Intermediate Structure Module

LP Compressor (LPC) - Intermediate Structure Module

LP Compressor (LPC) - Intermediate Structure Module

LP Compressor (LPC) - Intermediate Structure Module

LP Compressor (LPC) - Intermediate Structure Module

