Export Control
EAR Export Classification: Not subject to the EAR per 15 C.F.R. Chapter 1, Part 734.3(b)(3), except for the following Service Bulletins which are currently published as EAR Export Classification 9E991: SBE70-0992, SBE72-0483, SBE72-0580, SBE72-0588, SBE72-0640, SBE73-0209, SBE80-0024 and SBE80-0025.Copyright
© IAE International Aero Engines AG (2001, 2014 - 2021) The information contained in this document is the property of © IAE International Aero Engines AG and may not be copied or used for any purpose other than that for which it is supplied without the express written authority of © IAE International Aero Engines AG. (This does not preclude use by engine and aircraft operators for normal instructional, maintenance or overhaul purposes.).Applicability
V2500-A5
Common Information
TASK 72-32-00-030-002-B00 LPC/Intermediate Case Module - Remove The Splitter Fairings, No. 1 And No. 6 Strut Fairing Panels, Fan Exit Pressure Boss, Block, Fan Exit Guide Vanes, Front Liner Panels, And Rear Fairing, Disassembly-002
General
This TASK gives the procedure to remove the splitter fairings, the No. 1 and No. 6 strut fairing panels, the fan exit pressure boss, the block, the fan exit guide vanes, front liner panels and rear fairing.
Fig./item numbers in parentheses in the procedure agree with those used in the IPC. Only the primary numbers are used. For the service bulletin alpha variants refer to the IPC.
Apply the approved penetrating oil before the removal of the threaded parts. Let the parts soak before removal. For the oils and procedures, refer to the SPM TASK 70-64-00-640-501.
Remove and discard the lockwire before parts are disconnected or removed.
The number for each radial location must be identified in a clockwise direction. These start at the engine top position when you look from the rear of the engine, unless stated differently in the procedure.
The No. 1 strut, which is the top position strut of the fan frame assembly, is identified by the five pressure tubes on the No. 1 strut leading edge.
NOTE
Preliminary Requirements
Pre-Conditions
NONESupport Equipment
| Name | Manufacturer | Part Number / Identification | Quantity | Remark |
|---|---|---|---|---|
| IAE 1J12028 TBD | 0AM53 | IAE 1J12028 | 1 |
Consumables, Materials and Expendables
NONESpares
NONESafety Requirements
NONEProcedure
Refer to Figure.
Make sure that the LP compressor/intermediate case module is installed, vertically with the rear end up, on the turnover stand. Refer to TASK 72-32-00-030-001 (DISASSEMBLY-001).
SUBTASK 72-32-00-030-216 Remove the Bolts from the Fan Case
Refer to Figure.
SUBTASK 72-32-00-030-217 Turn the Fan Frame and Fan Case Assembly Horizontal with the No. 1 Strut Up
SUBTASK 72-32-00-030-218 Remove the Panel Corner Fillers and the Corner Strut Fillers from the Fan Frame Assembly
Refer to Figure.
SUBTASK 72-32-00-030-219 Remove the Mount Tube Stopper from the Fan Frame Assembly
SUBTASK 72-32-00-030-220 Remove the No.6 Strut Fairing Panel and the Panel Supporting Bracket from the Fan Frame and the Fan Case (Pre SBE 72-0435 and SBE 72-0435)
SBE 72-0435: Introduction of fan case, panel and bracket scalloped for No. 4 scavenge tube reroute
Refer to Figure.
SUBTASK 72-32-00-030-221 Remove the No. 1 Strut Fairing Panel and the Panel Supporting Bracket from the Fan Frame Assembly and the Fan Case
Refer to Figure.
SUBTASK 72-32-00-030-222-A00 Remove the Fire Shields from the No.1 Strut Fairing Panel (Pre SBE 72-0216)
Refer to Figure.
SUBTASK 72-32-00-030-222-B00 Remove the Fire Shields from the No.1 Strut Fairing Panel (SBE 72-0216 and Pre SBE 72-0230)
SBE 72-0216: Additional plate nut on the No. 1 strut fairing panel.
Refer to Figure.
SUBTASK 72-32-00-030-223 Remove the Pressure Boss and the Block from the Fan Case
Refer to Figure.
NOTE
The rear fairing is removed in Step (step 18).Move the rear fairing rearward enough to make space for FEGVs removal.
SUBTASK 72-32-00-030-233-A00 Move the Rear Fairing Rearward (Pre SBE 72-0155)
Refer to Figure.
NOTE
The rear fairing is removed in Step (step 18).Move the rear fairing rearward enough to make space for FEGVs removal.
SUBTASK 72-32-00-030-233-B00 Move the Rear Fairing Rearward (SBE 72-0155)
SBE 72-0155: A new bleed duct assembly with improved durability features.
Refer to Figure.
SUBTASK 72-32-00-030-234-A00 Remove the FEGVs from the Fan Case (Pre SBE 70-0377)
Refer to Figure.
SUBTASK 72-32-00-030-234-B00 Remove the FEGVs from the Fan Case (SBE 70-0377)
SBE 70-0377: New fan exit guide vanes with outer platforms of reduced weight material.
Use IAE 1J12028 TBD 1 off to release the splitter fairing.
SUBTASK 72-32-00-030-224 Remove the Splitter Fairing from the LP Compressor Booster Stage Assembly
Figure: Remove the six bolts from the threaded holes in the No. 5 and No. 7 struts
Remove the six bolts from the threaded holes in the No. 5 and No. 7 struts

Figure: Install the lock pin into position to lock the handle and hold the fan case front flange with the stopper
Install the lock pin into position to lock the handle and hold the fan case front flange with the stopper

Figure: Remove the panel corner fillers and the corner strut fillers from the fan frame assembly
Sheet 1

Figure: Remove the panel corner fillers and the corner strut fillers from the fan frame assembly
Sheet 2

Figure: Remove the mount tube stopper from the fan frame assembly
Remove the mount tube stopper from the fan frame assembly

Figure: Remove the No. 6 strut fairing panel from the fan case
Remove the No. 6 strut fairing panel from the fan case

Figure: Remove the No. 6 strut fairing panel from the fan frame assembly
Remove the No. 6 strut fairing panel from the fan frame assembly

Figure: Remove the No. 1 strut fairing panel from the fan frame assembly and the fan case
Remove the No. 1 strut fairing panel from the fan frame assembly and the fan case

Figure: Pre SBE 72-0216: Remove the shields from the No. 1 strut fairing panel
Sheet 1

Figure: SBE 72-0216 and Pre SBE 72-0230: Remove the shields from the No.1 strut fairing panel
Sheet 2

Figure: Remove the fan exit pressure boss and the block from the fan case
Remove the fan exit pressure boss and the block from the fan case

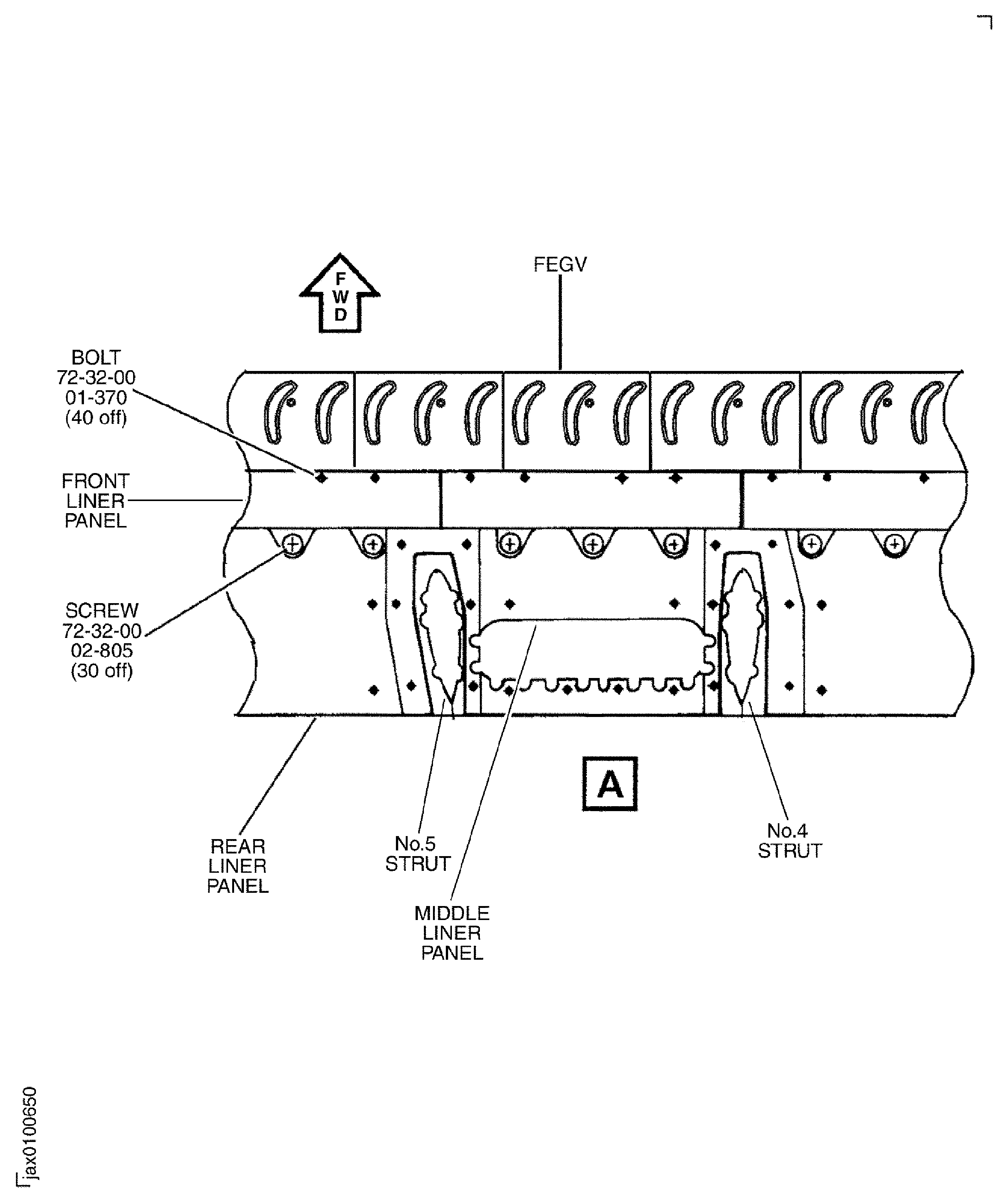
Figure: Remove the front liner panels from the fan case
Sheet 1

Figure: Remove the front liner panels from the fan case
Sheet 2

Figure: Remove the FEGVs from the fan case
Remove the FEGVs from the fan case

Figure: Pre SBE 72-0155: Remove the rear fairing from the LP compressor bleed duct
Pre SBE 72-0155: Remove the rear fairing from the LP compressor bleed duct

Figure: SBE 72-0155: Remove the rear fairing from the LP compressor bleed duct
SBE 72-0155: Remove the rear fairing from the LP compressor bleed duct

Figure: Remove the splitter fairings from the brackets
Remove the splitter fairings from the brackets

Figure: Use the sliding hammer to release the splitter fairing
Use the sliding hammer to release the splitter fairing

