Export Control
EAR Export Classification: Not subject to the EAR per 15 C.F.R. Chapter 1, Part 734.3(b)(3), except for the following Service Bulletins which are currently published as EAR Export Classification 9E991: SBE70-0992, SBE72-0483, SBE72-0580, SBE72-0588, SBE72-0640, SBE73-0209, SBE80-0024 and SBE80-0025.Copyright
© IAE International Aero Engines AG (2001, 2014 - 2021) The information contained in this document is the property of © IAE International Aero Engines AG and may not be copied or used for any purpose other than that for which it is supplied without the express written authority of © IAE International Aero Engines AG. (This does not preclude use by engine and aircraft operators for normal instructional, maintenance or overhaul purposes.).Applicability
V2500-A5
Common Information
TASK 72-32-88-300-006 Fan Exit Guide Vane - Replace The Vanes, Outer Platform And/or Repair The Unbonding, Repair-006 (VRS1771)
Effectivity
FIG/ITEM | PART NO. | |
|---|---|---|
06-100 | 5A1375 | Assembly A |
06-100 | 5A1513 | Assembly B |
06-300 | 5A1375 | Assembly A |
06-300 | 5A1513 | Assembly B |
06-500 | 5A1375 | Assembly A |
06-500 | 5A1513 | Assembly B |
06-700 | 5A1375 | Assembly A |
06-700 | 5A1513 | Assembly B |
07-100 | 5A1375 | Assembly A |
07-100 | 5A1513 | Assembly B |
07-300 | 5A1375 | Assembly A |
07-300 | 5A1513 | Assembly B |
07-500 | 5A1375 | Assembly A |
07-500 | 5A1513 | Assembly B |
07-700 | 5A1375 | Assembly A |
07-700 | 5A1513 | Assembly B |
08-100 | 5A1375 | Assembly A |
08-100 | 5A1513 | Assembly B |
08-300 | 5A1375 | Assembly A |
08-300 | 5A1513 | Assembly B |
08-500 | 5A1375 | Assembly A |
08-500 | 5A1513 | Assembly B |
08-700 | 5A1375 | Assembly A |
08-700 | 5A1513 | Assembly B |
09-100 | 5A1375 | Assembly A |
09-100 | 5A1513 | Assembly B |
09-300 | 5A1375 | Assembly A |
09-300 | 5A1513 | Assembly B |
09-500 | 5A1375 | Assembly A |
09-500 | 5A1513 | Assembly B |
09-700 | 5A1375 | Assembly A |
09-700 | 5A1513 | Assembly B |
10-100 | 5A1375 | Assembly A |
10-100 | 5A1513 | Assembly B |
10-300 | 5A1375 | Assembly A |
10-300 | 5A1513 | Assembly B |
10-500 | 5A1375 | Assembly A |
10-500 | 5A1513 | Assembly B |
10-700 | 5A1375 | Assembly A |
10-700 | 5A1513 | Assembly B |
Material of component
DESCRIPTION | SYMBOL | MATERIAL |
|---|---|---|
Fan exit guide vane assembly (Assembly A) | Aluminum alloy | |
Fan exit guide vane assembly (Assembly B) | Vane: Aluminum alloy Outer platform: Carbon fiber reinforced plastics Inner platform: Aluminum alloy |
General
Price and availability - none
The practices and processes referred to in the procedure by the TASK numbers are in the SPM.
All priming and bonding operations shall be done in controlled-environment rooms designated for non-silicone materials.
NOTE
NOTE
NOTE
Preliminary Requirements
Pre-Conditions
NONESupport Equipment
| Name | Manufacturer | Part Number / Identification | Quantity | Remark |
|---|---|---|---|---|
| Penetrant Crack Test Equipment | LOCAL | Penetrant crack test equipment | ||
| Plastic scraper | LOCAL | Plastic scraper | ||
| Tweezers | LOCAL | Tweezers | ||
| Oven | LOCAL | Oven | Electric | |
| Teflon beaker | LOCAL | Teflon beaker | ||
| Vacuum vessel | LOCAL | Vacuum vessel | ||
| Vacuum pump | LOCAL | Vacuum pump | ||
| Stainless spoon | LOCAL | Stainless spoon | ||
| Depth gage micrometer | LOCAL | Depth gage micrometer | ||
| Hardness tester (Durometer) | LOCAL | Hardness tester (Durometer) | ||
| Tensile tester | LOCAL | Tensile tester | ||
| Vibrating marking pencil | LOCAL | Vibrating marking pencil | ||
| Protective gloves and goggles | LOCAL | Protective gloves and goggles | ||
| Soldering iron | LOCAL | Soldering iron | ||
| IAE 3J12834 Molding fixture | 0AM53 | IAE 3J12834 | 1 | |
| IAE 3J12836 Inspection fixture | 0AM53 | IAE 3J12836 | 1 | |
| IAE 3J12770 Fixture, test piece | 0AM53 | IAE 3J12770 | 1 |
Consumables, Materials and Expendables
| Name | Manufacturer | Part Number / Identification | Quantity | Remark |
|---|---|---|---|---|
| CoMat 01-124 ISOPROPYL ALCOHOL | LOCAL | CoMat 01-124 | ||
| CoMat 02-001 ADHESIVE TAPE (MASKING) | LOCAL | CoMat 02-001 | ||
| CoMat 03-026 LIQUID NITROGEN | LOCAL | CoMat 03-026 | ||
| CoMat 05-050 SILICON CARBIDE GRIT | 1E1X8 | CoMat 05-050 | ||
| CoMat 07-068 PRIMER | IE401 | CoMat 07-068 | ||
| CoMat 07-069 POLYURETHANE RESIN | 24664 | CoMat 07-069 | ||
| CoMat 01-120 HOT PAINT STRIPPER | 71410 | CoMat 01-120 | ||
| CoMat 08-020 EPOXY PRIMER,RED | LOCAL | CoMat 08-020 |
Spares
| Name | Manufacturer | Part Number / Identification | Quantity | Remark |
|---|---|---|---|---|
| Vane | 5A1148 | A/R | ||
| Vane | 5A1853 | A/R | ||
| Vane | 5A1148 | A/R | ||
| Vane | 5A1853 | A/R | ||
| Vane | 5A1148 | A/R | ||
| Vane | 5A1853 | A/R | ||
| Vane | 5A1148 | A/R | ||
| Vane | 5A1853 | A/R | ||
| Vane | 5A1148 | A/R | ||
| Vane | 5A1853 | A/R | ||
| Vane | 5A1148 | A/R | ||
| Vane | 5A1853 | A/R | ||
| Vane | 5A1148 | A/R | ||
| Vane | 5A1853 | A/R | ||
| Vane | 5A1148 | A/R | ||
| Vane | 5A1853 | A/R | ||
| Vane | 5A1148 | A/R | ||
| Vane | 5A1853 | A/R | ||
| Vane | 5A1148 | A/R | ||
| Vane | 5A1853 | A/R | ||
| Vane | 5A1148 | A/R | ||
| Vane | 5A1853 | A/R | ||
| Vane | 5A1148 | A/R | ||
| Vane | 5A1853 | A/R | ||
| Vane | 5A1148 | A/R | ||
| Vane | 5A1853 | A/R | ||
| Vane | 5A1148 | A/R | ||
| Vane | 5A1853 | A/R | ||
| Vane | 5A1148 | A/R | ||
| Vane | 5A1853 | A/R | ||
| Vane | 5A1148 | A/R | ||
| Vane | 5A1853 | A/R | ||
| Vane | 5A1148 | A/R | ||
| Vane | 5A1853 | A/R | ||
| Vane | 5A1148 | A/R | ||
| Vane | 5A1853 | A/R | ||
| Vane | 5A1148 | A/R | ||
| Vane | 5A1853 | A/R | ||
| Vane | 5A1148 | A/R | ||
| Vane | 5A1853 | A/R | ||
| Platform, Outer Assembly A | 5A1376 | A/R | ||
| Vane | 5A1853 | A/R | ||
| Platform, Outer Assembly B | 5A1514 | A/R | ||
| Platform, Outer Assembly A | 5A1376 | A/R | ||
| Platform, Outer Assembly B | 5A1514 | A/R | ||
| Platform, Outer Assembly A | 5A1376 | A/R | ||
| Platform, Outer Assembly B | 5A1514 | A/R | ||
| Platform, Outer Assembly A | 5A1376 | A/R | ||
| Platform, Outer Assembly B | 5A1514 | A/R | ||
| Platform, Outer Assembly A | 5A1376 | A/R | ||
| Platform, Outer Assembly B | 5A1514 | A/R |
Safety Requirements
NONEProcedure
Refer to VRS1772, TASK 72-32-88-300-007 (REPAIR-007).
Remove the strip seals from the fan exit guide vane.
SUBTASK 72-32-88-350-062 Remove the Strip Seals from the Fan Exit Guide Vane
Refer to TASK 72-32-88-200-000 (INSPECTION-000).
Examine and identify damaged vanes, outer platform and unbonds.
SUBTASK 72-32-88-330-053 Remove the Polyurethane Rubber from the Fan Exit Guide Vanes Assembly

WARNING
DURING THE OPERATION, WEAR PROTECTIVE GLOVES AND GOGGLES TO PROTECT AGAINST EXTREME LOW TEMPERATURE FOR COOLING.
WARNING
MAKE SURE THERE IS SUFFICIENT VENTILATION DURING THE OPERATION.
WARNING
DISPOSE OF REMOVED POLYURETHANE RUBBER INTO A SPECIFIED BOX FOR PLASTIC WASTE.
WARNING
AVOID EXTREMELY STRONG STROKES DURING HAMMERING IN ORDER NOT TO DAMAGE VANE, INNER AND OUTER PLATFORM.Put the fan exit guide vane in a stainless cage and set it into cooling tank, then cool by liquified nitrogen.
SUBTASK 72-32-88-330-054-A01 Remove the Polyurethane Rubber from the Fan Exit Guide Vane Assembly - Cooling Method - Assembly A

WARNING
WEAR HEAT RESISTANT GLOVES AND GOGGLES DURING HEATING OF THE FAN EXIT GUIDE VANE ASSEMBLY.
WARNING
MAKE SURE THERE IS SUFFICIENT VENTILATION DURING THE OPERATION.
WARNING
MAXIMUM TEMPERATURE IN THE OVEN SHOULD NOT EXCEED 338 DEG. F (170 DEG. C) IN ORDER TO PREVENT GENERATING POISONOUS GASES AND DAMAGING ALUMINUM OF BASE METAL.Put the fan exit guide vane assembly into the oven.
SUBTASK 72-32-88-330-054-A02 Remove the Polyurethane Rubber from the Fan Exit Guide Vane Assembly - Heating Method - Assembly A

WARNING
WEAR HEAT RESISTANT GLOVES AND GOGGLES DURING HEATING OF THE FAN EXIT GUIDE VANE ASSEMBLY.
WARNING
MAKE SURE THERE IS SUFFICIENT VENTILATION DURING THE OPERATION.
WARNING
MAXIMUM TEMPERATURE IN THE OVEN SHOULD NOT EXCEED 338 DEG. F (170 DEG. C) IN ORDER TO PREVENT GENERATING POISONOUS GASES AND DAMAGING ALUMINUM OF BASE METAL.Put the fan exit guide vane assembly into the oven.
SUBTASK 72-32-88-330-054-B00 Remove the Polyurethane Rubber from the Fan Exit Guide Vane Assembly - Heating Method - Assembly B

WARNING
MAXIMUM TEMPERATURE IN THE SOLDERING IRON SHOULD NOT EXCEED 338 DEG. F (170 DEG. C) IN ORDER TO PREVENT GENERATING POISONOUS GAS AND DAMAGING ALUMINUM OF BASE METAL.
WARNING
WEAR HEAT RESISTANT GLOVES AND GOGGLES DURING OPERATION.
WARNING
MAKE SURE THERE IS SUFFICIENT VENTILATION DURING THE OPERATION.
WARNING
DISPOSE OF REMOVED POLYURETHANE RUBBER INTO A SPECIFIED BOX FOR PLASTIC WASTE.
CAUTION
USE A SOLDERING IRON WITH A ROUND TIP TO AVOID DAMAGE ON BASE METAL.NOTE
If the residual polyurethane is forming a smooth thin film of brownish color on the surface, this SUBTASK is not necessary. It can be removed by dry abrasive blast 15.C.Scrape residual polyurethane rubber from vane, inner and outer platform by soldering iron and scraper.
SUBTASK 72-32-88-330-055-A01 Remove the Residual Polyurethane Rubber from the Fan Exit Guide Vane Assembly - Soldering Iron Method - Assembly A
SUBTASK 72-32-88-330-055-A02 Remove the Residual Polyurethane Rubber from the Fan Exit Gude Vane Assembly - Non-Chlorine Solvent Method - Assembly A

WARNING
MAXIMUM TEMPERATURE IN THE SOLDERING IRON SHOULD NOT EXCEED 338 DEG. F (170 DEG. C) IN ORDER TO PREVENT GENERATINF POISONOUS GAS AND DAMAGING ALUMINUM OF BASE METAL.
WARNING
WEAR HEAT RESISTANT GLOVES AND GOGGLES DURING OPERATION.
WARNING
MAKE SURE THERE IS SUFFICIENT VENTILATION DURING THE OPERATION.
WARNING
DISPOSE OF REMOVED POLYURETHANE RUBBER INTO A SPECIFIED BOX FOR PLASTIC WASTE.
CAUTION
USE A SOLDERING IRON WITH A ROUND TIP TO AVOID DAMAGE ON BASE METAL.NOTE
If the residual polyurethane is forming a smooth thin film of brownish color on the surface, this SUBTASK is not necessary. It can be removed by dry abrasive blast in 17 deg C.Scrape residual polyurethane rubber from vane, inner and outer platform by soldering iron and scraper.
SUBTASK 72-32-88-330-055-B01 Remove the Residual Polyurethane Rubber from the Fan Exit Gude Vane Assembly - Soldering Iron Procedure - Assembly B

CAUTION
DO NOT SOAK THE OUTER PLATFORM OF ASSEMBLY B IN NON-CHLORINE SOLVENT. IF THE OUTER PLATFORM IS SOAKED IN NON-CHLORINE SOLVENT, THE OUTER PLATFORM MUST BE SCRAPPED.NOTE
Do Step Soldering iron method for the outer platform of assembly B.NOTE
If the residual polyurethane is forming a smooth thin film of brownish color on the surface, this SUBTASK is not necessary. It can be removed by dry abrasive blast in 17 deg C.Soak the vane and platform in stripping solution, except outer platform of assembly B, at temperature of 160 to 212 deg F (71 to 100 deg C) for 1 to 2 hours.
SUBTASK 72-32-88-330-055-B02 Remove the Residual Polyurethane Rubber from the Fan Exit Gude Vane Assembly - Non-Chlorine Solvent Procedure - Assembly B
Refer to the SPM TASK 70-23-03-230-501.
Refer to TASK 72-32-88-200-000 (INSPECTION-000).
Use penetrant crack test equipment.
Make sure there are no cracks in the outer platform, inner platform and vanes.
Fluorescent penetrant examine the outer platform, inner platform and vanes.
SUBTASK 72-32-88-230-057-A00 Examine the Outer Platform, Inner Platform and Vane for Cracks - Assembly A
Refer to the SPM TASK 70-23-03-230-501.
Refer to TASK 72-32-88-200-000 (INSPECTION-000).
Use penetrant crack test equipment.
Make sure there are no cracks in the inner platform and vanes.
Fluorescent penetrant examine the inner platform and vanes.
SUBTASK 72-32-88-230-057-B00 Examine the Inner Platform and Vanes for Cracks - Assembly B
Refer to Figure.
Refer to Step.
Prepare the surface of the test pieces.
Step A,B,C,E through M, for the use of the same mixed batch as applied to FEGV in mold.
Use IAE 3J12770 Fixture, test piece 1 off.
Refer to SUBTASK 72-32-88-330-055.
Apply and cure the CoMat 07-069 POLYURETHANE RESIN.
SUBTASK 72-32-88-290-052 Make the Test Piece for the Tensile Test
Refer to Figure.
Use CoMat 01-124 ISOPROPYL ALCOHOL with lint free cloth.
Remove the grease from the inner platform, outer platform and vanes.
Use CoMat 01-124 ISOPROPYL ALCOHOL with lint free cloth.
Clean the blasted surfaces.
SUBTASK 72-32-88-360-057 Prepare the Surface of the Inner Platform, Outer Platform and Vanes, Assembly A and B
Refer to Figure.
SUBTASK 72-32-88-360-058 Apply and Cure the Primer to Molding Surfaces on Outer Platform - Assembly B
Refer to Figure.
Use CoMat 07-068 PRIMER with lint free cheese cloth and tweezers.

WARNING
YOU MUST USE PLASTIC GLOVES, DURING PREPARATION AND USE OF THE RESIN TO PREVENT CONTAMINATION OF THE SKIN.Apply a thin layer of the primer to molding surfaces of inner and outer platform and vanes within half an hour after cleaning.
NOTE
Locally manufactured tool may be used instead of IAE 3J12834 Molding fixture if all the requirements in Figure and Figure.re satisfied after the molding.Use IAE 3J12834 Molding fixture 1 off.
Assemble the new or serviceable vanes, the inner platform and outer platform onto molding fixture.
Put 5.29 oz (150 g) of the part A into teflon beaker.
Put 0.88 oz (25 g) of part B into another beaker.
The quantity of the part A and B above can be applied between three vanes and inner or outer platform.
Use CoMat 07-069 POLYURETHANE RESIN part A and B.
Prepare the polyurethane resin.
Mix CoMat 07-069 POLYURETHANE RESIN for one minute.
Use IAE 3J12770 Fixture, test piece 1 off.
Use IAE 3J12834 Molding fixture 1 off.
NOTE
Locally manufactured tool may be used instead of IAE 3J12834 Molding fixture if all the requirements in Figure and Figure.re satisfied after molding.Apply polyurethane resin to FEGV and test pieces.
SUBTASK 72-32-88-330-055 Apply and Cure the Polyurethane Resin - Assembly A and B
Use IAE 3J12836 Inspection fixture and depth gage.
Dimensionally inspect the fan exit guide vane assembly including molding areas.
SUBTASK 72-32-88-220-079 Examine the Pepaired Area of the Fan Exit Guide Vane Assembly
Refer to VRS1772, TASK 72-32-88-300-007 (REPAIR-007).
Install the strip seals to the fan exit guide vane.
SUBTASK 72-32-88-350-063 Install the Strip Seals to the Fan Exit Guide Vane
Use the vibrating marking pencil.
Refer to the SPM TASK 70-09-00-400-501.
Write VRS1771, adjacent to the part number on the fan exit guide vane assembly.
Refer to the SPM TASK 70-38-02-300-503.
Apply the chromate conversion coating to the marked repair number.
SUBTASK 72-32-88-350-064 Mark Repair Number on the Fan Exit Guide Vane Assembly
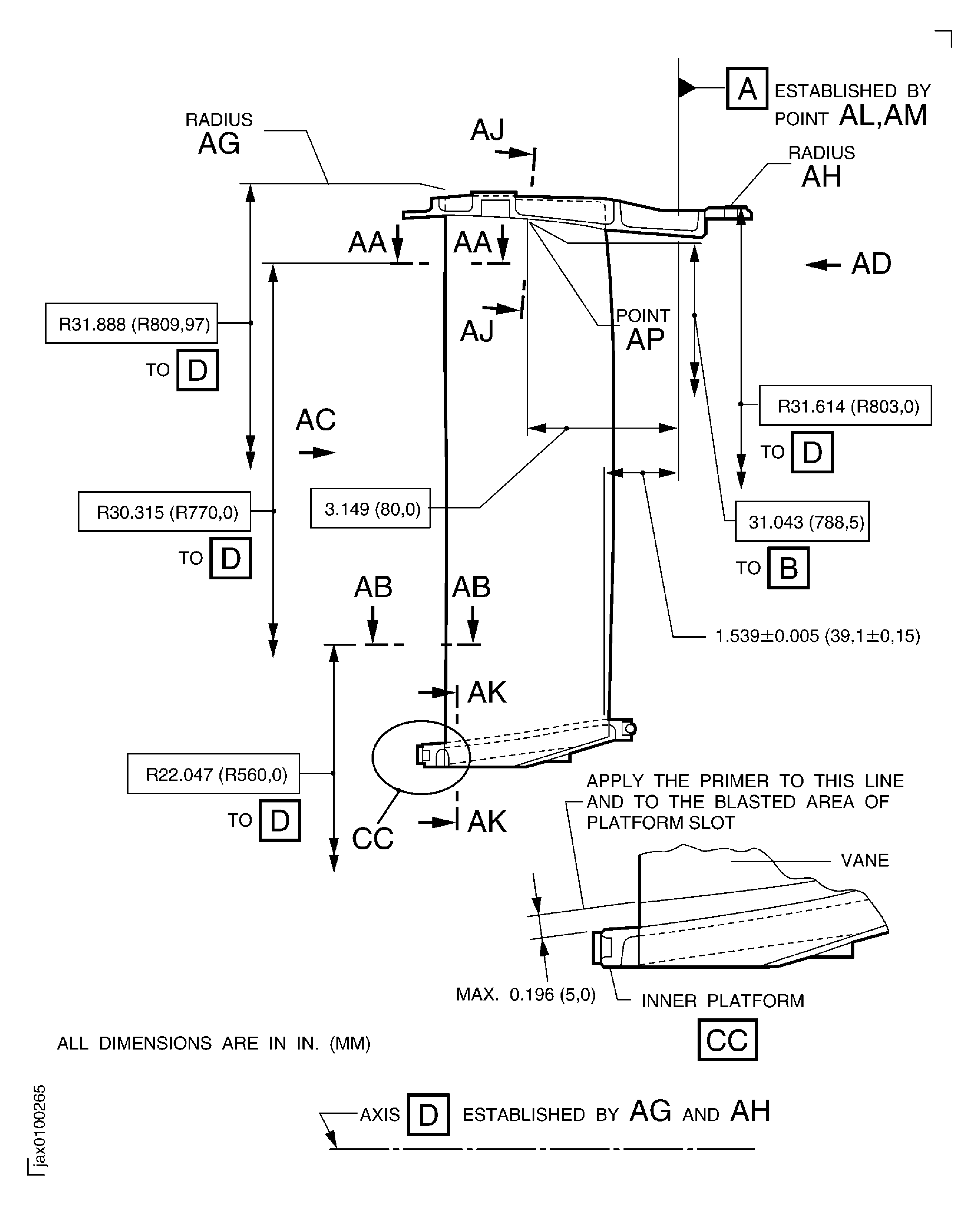
Figure: Repair details and dimensions - Assembly A
Sheet 1

Figure: Repair details and dimensions - Assembly A
Sheet 2

Figure: Repair details and dimensions - Assembly A
Sheet 3

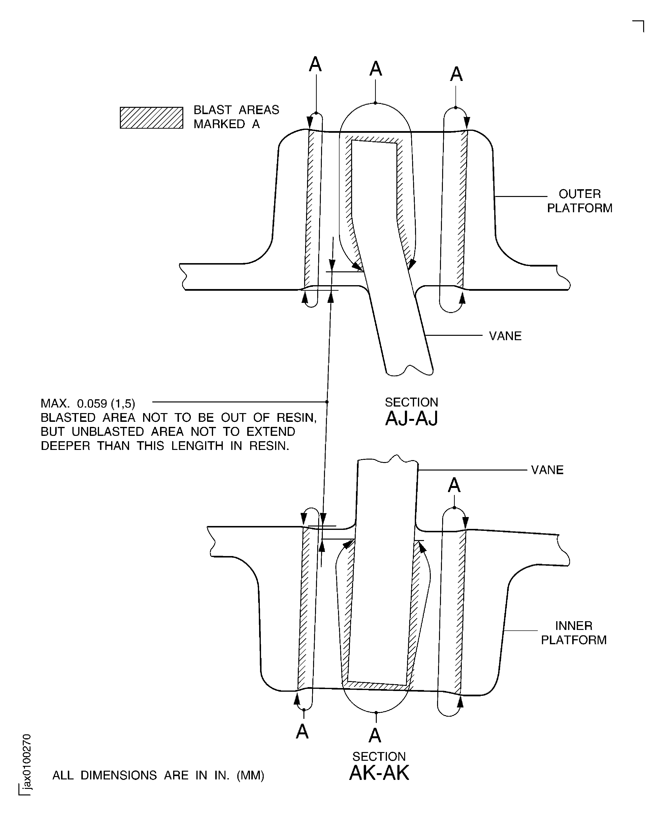
Figure: Repair details and dimensions - Assembly A and B
Sheet 4

Figure: Repair details and dimensions - Assembly B
Sheet 5

Figure: Repair details and dimensions - Assembly A and B
Sheet 6

Figure: Repair details and dimensions - Assembly A and B
Sheet 7

Figure: Repair details and dimensions - Assembly A
Sheet 8

Figure: Repair details and dimensions - Assembly B
Sheet 9

Figure: Repair details and dimensions - Assembly A
Sheet 10

Figure: Repair details and dimensions - Assembly B
Sheet 11

Figure: Repair details and dimensions - Assembly A
Sheet 12

Figure: Repair details and dimensions - Assembly B
Sheet 13

Figure: Repair details and dimensions - Assembly B
Sheet 14

Figure: Acceptance limits for visual inspection - Assembly A and B
Acceptance limits for visual inspection - Assembly A and B

Figure: Test piece details and dimensions - Assembly A and B
Test piece details and dimensions - Assembly A and B

