Export Control
EAR Export Classification: Not subject to the EAR per 15 C.F.R. Chapter 1, Part 734.3(b)(3), except for the following Service Bulletins which are currently published as EAR Export Classification 9E991: SBE70-0992, SBE72-0483, SBE72-0580, SBE72-0588, SBE72-0640, SBE73-0209, SBE80-0024 and SBE80-0025.Copyright
© IAE International Aero Engines AG (2001, 2014 - 2021) The information contained in this document is the property of © IAE International Aero Engines AG and may not be copied or used for any purpose other than that for which it is supplied without the express written authority of © IAE International Aero Engines AG. (This does not preclude use by engine and aircraft operators for normal instructional, maintenance or overhaul purposes.).Applicability
All
Common Information
TASK 24-21-49-300-001 IDG Cooling Oil Tubes - Repair a Dent in the Tube Wall, Repair-001 (VRS2800)
Effectivity
FIG/ITEM | PART NO. |
01-100 | 740-5727-509 |
01-100 | 740-5727-511 |
01-100 | 740-5727-513 |
01-500 | 740-5269-501 |
02-100 | 740-5271-503 |
02-100 | 740-5271-505 |
02-500 | 740-5273-503 |
02-500 | 740-5273-505 |
03-100 | 740-5275-503 |
03-500 | 740-5737-509 |
03-500 | 740-5737-511 |
General
This repair can be done on the oil cooling tube during overhaul.
Make a jig that is the same shape as the oil cooling tube. Use a new or serviceable oil cooling tube as an aid.
The practices and processes referred to in the procedure by the TASK numbers are in the (SPM).
NOTE
Preliminary Requirements
Pre-Conditions
NONESupport Equipment
| Name | Manufacturer | Part Number / Identification | Quantity | Remark |
|---|---|---|---|---|
| Nylon Hammer | LOCAL | Nylon Hammer | ||
| IAE 1N20446 Ball Mandrel (stainless steel) | 0AM53 | IAE 1N20446 |
Consumables, Materials and Expendables
| Name | Manufacturer | Part Number / Identification | Quantity | Remark |
|---|---|---|---|---|
| CoMat 01-076 METHYL ETHYL KETONE | LOCAL | CoMat 01-076 | ||
| CoMat 02-099 LINT-FREE CLOTH | LOCAL | CoMat 02-099 |
Spares
NONESafety Requirements
NONEProcedure
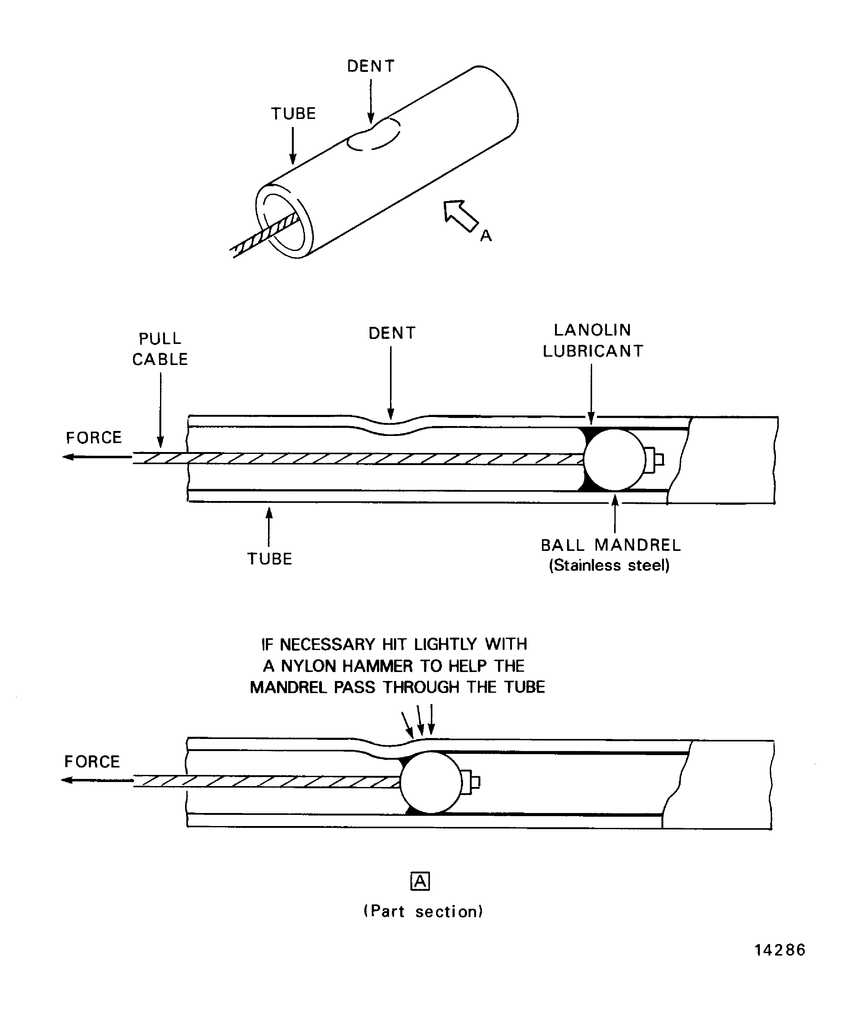
If there is an access, apply the lanolin lubricant directly on the damaged area.
Put the lanolin lubricant in the oil cooling tube.
Put the oil cooling tube in the jig.
Refer to Figure. Make sure that there is a bead of lanolin lubricant in front of the mandrel during the repair. Feed the cable of the mandrel through the oil cooling tube.
Put the mandrel into the oil cooling tube.
Pull the mandrel through the oil cooling tube until it touches the damaged area. Pull the mandrel through the damaged area without too much force. If necessary, hit the damaged area lightly with the nylon hammer as the mandrel goes through the damaged area. This will help to move the mandrel.
Repair the tube wall.
Remove the mandrel from the oil cooling tube.
SUBTASK 24-21-49-350-052 Prepare the Tube Wall

CAUTION
DO NOT PULL THE MANDREL WITH TOO MUCH FORCE. THIS CAN CAUSE DAMAGE TO THE TUBE AND CAN CAUSE THE MANDREL TO BE CAUGHT IN THE TUBE.Use the CoMat 01-076 METHYL ETHYL KETONE and the CoMat 02-099 LINT-FREE CLOTH. Remove the lanolin lubricant with the fluid. Make the tube clean with a clean piece of lint-free cloth before the fluid dries.
Clean the tube.
SUBTASK 24-21-49-110-055 Clean the Oil Cooling Tube

WARNING
DO NOT GET THE CLEANING FLUID ON YOUR SKIN OR IN YOUR EYES. PUT ON PROTECTIVE CLOTHING, GLOVES, GOGGLES AND A MASK. USE THE FLUID IN A CORRECTLY VENTILATED AREA. DO NOT BREATHE THE GAS. IF YOU GET THE FLUID ON YOUR SKIN OR IN YOUR EYES, FLUSH IT AWAY WITH WATER. GET MEDICAL AID IF YOUR SKIN OR EYES BECOME IRRITATED.Make sure that the repairs are satisfactory. Cracks and distortion are not permitted. The shape of the tube must be parallel in the internal diameter and the external diameter.
Examine the oil cooling tube.
SUBTASK 24-21-49-220-001 Examine the Oil Cooling Tube
Refer to SPM TASK 70-23-00-230-501.
Do a dye-penetrant test on the oil cooling tube.
SUBTASK 24-21-49-230-058 Examine the Oil Cooling Tube
Refer to Testing-001 TASK 24-21-49-700-101.
Do a pressure test on the oil cooling tube.
SUBTASK 24-21-49-780-001 Pressure Test the Oil Cooling Tube
Refer to SPM TASK 70-09-00-400-501.
Mark the repair scheme number VRS2800 on the oil cooling tube adjacent to the part number, with an electro-etch method.
SUBTASK 24-21-49-850-052 Put the Repair Scheme Number on the Oil Cooling Tube
Figure: Repair Details and Dimensions
Repair Details and Dimensions

