Export Control
EAR Export Classification: Not subject to the EAR per 15 C.F.R. Chapter 1, Part 734.3(b)(3), except for the following Service Bulletins which are currently published as EAR Export Classification 9E991: SBE70-0992, SBE72-0483, SBE72-0580, SBE72-0588, SBE72-0640, SBE73-0209, SBE80-0024 and SBE80-0025.Copyright
© IAE International Aero Engines AG (2001, 2014 - 2021) The information contained in this document is the property of © IAE International Aero Engines AG and may not be copied or used for any purpose other than that for which it is supplied without the express written authority of © IAE International Aero Engines AG. (This does not preclude use by engine and aircraft operators for normal instructional, maintenance or overhaul purposes.).Applicability
All
Common Information
TASK 71-73-49-200-101 No. 4 Bearing Compartment Weep Oil Tubes - Examine, Inspection-001
General
This TASK gives the procedure for the inspection of the No.4 bearing oil weep tubes. For other No.4 bearing oil weep tube parts refer to Inspection-000 TASK 71-73-49-200-100 and the Component Maintenance - Miscellaneous Mechanical (CMM-MECH-V2500- 1IA) Inspection-000 TASK 71-73-49-200-400.
Fig./item numbers in parentheses in the procedure agree with those used in the IPC. Only the primary Fig./item numbers are used. For the service bulletin alpha variants refer to the IPC.
The policy that is necessary for inspection is given in the SPM TASK 70-20-01-200-501.
All the parts must be cleaned before they are examined. Refer to Cleaning-000 TASK 71-73-49-100-100.
All the parts must be visually examined for damage, corrosion and wear. Any defects that are not identified in the procedure must be referred to IAE.
The procedure for those parts which must have a crack test is given in the relevant SUBTASK. Do the crack test before the part is visually examined.
Do not discard any part until you are sure there are no repairs available. Refer to the instructions in Repair before a discarded part is used again or oversize parts are installed.
Parts which should be discarded can be held although no repair is available. The repair of a discarded part could be shown to be necessary at a later date.
All the parts must be examined to make sure that all the repairs have been completed satisfactorily.
The practices and processes referred to in the procedure by the TASK/SUBTASK numbers are in the SPM.
NOTE
References
Refer to the SPM for data on these items:
Definitions of Damage - Specified Types of Damage, SPM TASK 70-02-02-350-501.
Inspection Policy and Inspection of Parts, SPM TASK 70-20-01-200-501.
Some data on these items is contained in this TASK. For more data on these items refer to the SPM:
Methods of Testing for Crack Indications.
Chemical Processes.
Surface Protection.
Preliminary Requirements
Pre-Conditions
NONESupport Equipment
NONEConsumables, Materials and Expendables
NONESpares
NONESafety Requirements
NONEProcedure
Clean the parts. Refer to Cleaning-000 TASK 71-73-49-100-100.
Refer to SPM TASK 70-23-01-300-503.
Tubes (01-100) and (01-500).
Reject.
Cracked.
Do the test for cracks on the parts that are given below. Use the applicable penetrant procedure.
SUBTASK 71-73-49-230-053 Examine the Tubes for Cracks
Refer to Figure.
Reject.
Dents in less than 0.25 in. (6.35 mm) from any weld joint.
Repair, VRS7001 (Repair-001) SPM TASK 70-35-24-300-501.
Dents more than Step.
Dented.
Repair, VRS7001 (Repair-001) SPM TASK 70-35-24-300-501.
Nicks more than Step.
Nicked.
Repair, VRS7001 (Repair-001) SPM TASK 70-35-24-300-501.
More than Step.
Fretted.
Repair, VRS1112 (Repair-001) TASK 71-73-49-300-001.
Scores less than 0.004 in. (0.10 mm) in depth.
Repair, VRS7001 (Repair-001) SPM TASK 70-35-24-300-501.
More than Step.
Scored.
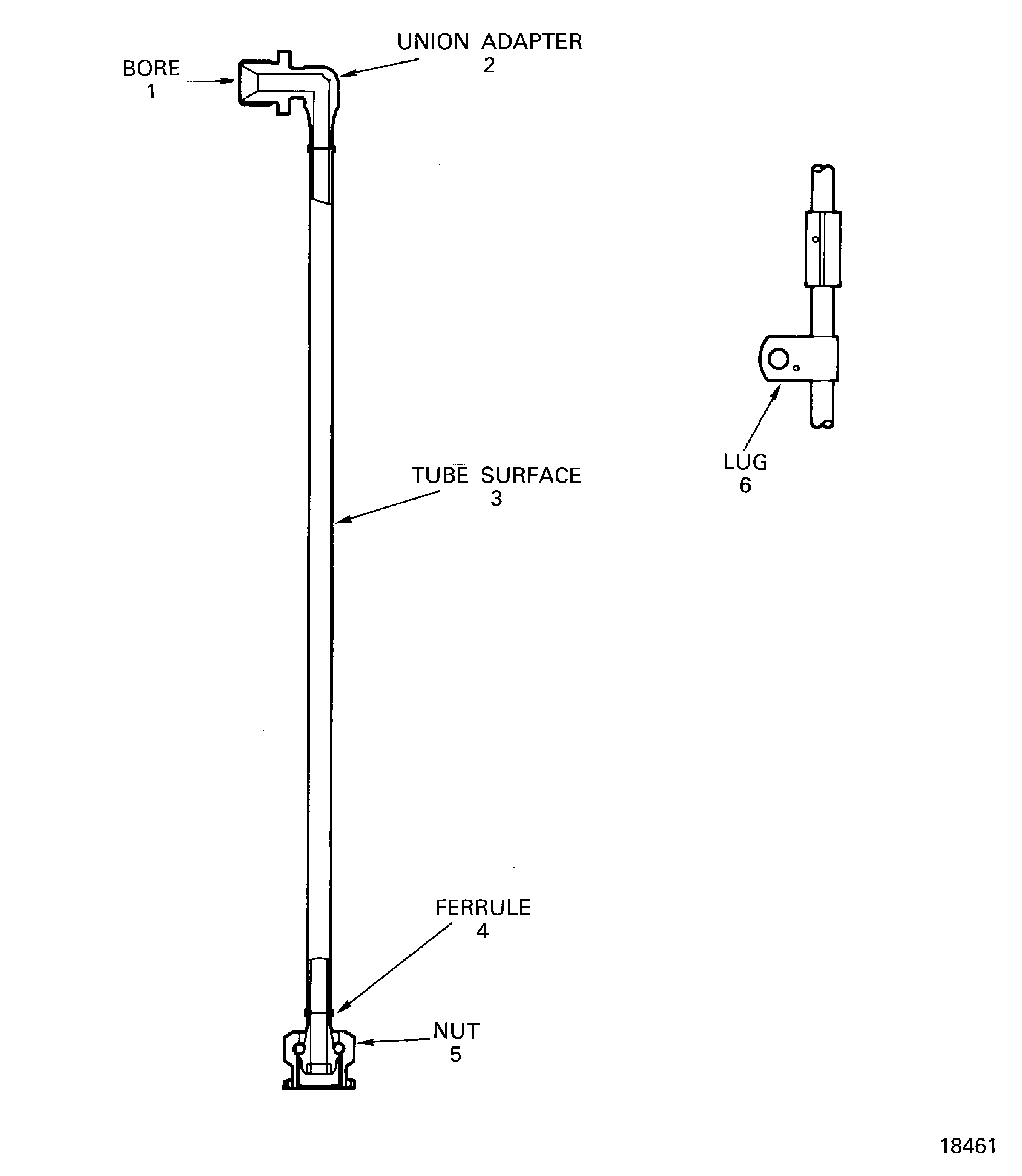
SUBTASK 71-73-49-220-051 Examine the Tube Surfaces (Location 3)
Refer to Figure.
Remove obstructions using air blast.
Clogged.
SUBTASK 71-73-49-220-052 Examine the Tube Bores (Location 1)
Refer to Figure.
Repair, VRS1112 (Repair-001) TASK 71-73-49-300-001.
Slight distortion can be removed, if the original shape is restored and cracks are not caused.
Repair, VRS7001 (Repair-001) SPM TASK 70-35-24-300-501.
Distortion more than Step.
Distorted.
Repair, VRS7001 (Repair-001) SPM TASK 70-35-24-300-501.
Lugs broken or cracked.
Repair, VRS1112 (Repair-001) TASK 71-73-49-300-001.
Bolt hole edges burred.
SUBTASK 71-73-49-220-053 Examine the Tube Lugs (Location 6)
Refer to Figure.
Repair, VRS1112 (Repair-001) TASK 71-73-49-300-001.
Pick-up.
Repair, VRS7001 (Repair-001) SPM TASK 70-35-24-300-501.
Crossed and stripped.
Threads.
Repair, VRS1112 (Repair-001) TASK 71-73-49-300-001.
Galled.
Sealing face.
SUBTASK 71-73-49-220-054 Examine the Tube Union Adapters (Location 2)
Refer to Figure.
Repair, VRS1112 (Repair-001) TASK 71-73-49-300-001.
Galled.
Sealing face.
SUBTASK 71-73-49-220-055 Examine the Tube Ferrules (Location 4)
Refer to Figure.
Repair, VRS1112 (Repair-001) TASK 71-73-49-300-001.
Pick-up.
Repair, VRS7001 (Repair-001) SPM TASK 70-35-24-300-501.
Crossed and stripped.
Threads.
SUBTASK 71-73-49-220-056 Examine the Tube Nuts (Location 5)
Figure: No.4 Bearing Oil Weep Tube
No.4 Bearing Oil Weep Tube

