Export Control
EAR Export Classification: Not subject to the EAR per 15 C.F.R. Chapter 1, Part 734.3(b)(3), except for the following Service Bulletins which are currently published as EAR Export Classification 9E991: SBE70-0992, SBE72-0483, SBE72-0580, SBE72-0588, SBE72-0640, SBE73-0209, SBE80-0024 and SBE80-0025.Copyright
© IAE International Aero Engines AG (2001, 2014 - 2021) The information contained in this document is the property of © IAE International Aero Engines AG and may not be copied or used for any purpose other than that for which it is supplied without the express written authority of © IAE International Aero Engines AG. (This does not preclude use by engine and aircraft operators for normal instructional, maintenance or overhaul purposes.).Applicability
All
Common Information
TASK 72-32-16-200-001 Gearshaft Bearing Housing - Examine, Inspection-001
General
This TASK gives the procedure for the inspection of the gearshaft bearing housing assembly. For the other internal gearbox driven gear assembly parts, refer to TASK 72-32-16-200-000.
Fig/item numbers in parentheses in the procedure agree with those used in the IPC.
The policy that is necessary for inspection is given in the SPM TASK 70-20-00-200-501.
All the parts must be cleaned before any part is examined. Refer to TASK 72-32-16-100-000.
All the parts must be visually examined for damage, corrosion and wear. Any defects that are not identified in the procedure must be referred to IAE.
The procedure for those parts which must have a crack test is given in Step. Do the test before the part is visually examined.
Do not discard any part until you are sure there are no repairs available. Refer to the instructions in Repair before a discarded part is used again or oversize parts are installed.
Parts which should be discarded can be held although no repair is available. The repair of a discarded part could be shown to be necessary at a later date.
All the parts must be examined to make sure that all the repairs have been completed satisfactorily.
The practices and processes referred to in the procedure by the TASK numbers are in the SPM.
References
Refer to the SPM for data on these items.
Definitions of Damage, SPM TASK 70-02-02-350-501
Inspection of Parts, SPM TASK 70-20-00-200-501
Some data on these items is contained in this TASK. For more data on these items refer to the SPM.
Method of Testing for Crack Indications
Chemical Processes
Surface Protection
Preliminary Requirements
Pre-Conditions
NONESupport Equipment
| Name | Manufacturer | Part Number / Identification | Quantity | Remark |
|---|---|---|---|---|
| Fluorescent Penetrant Inspection Equipment | LOCAL | Fluorescent penetrant inspection equipment |
Consumables, Materials and Expendables
NONESpares
NONESafety Requirements
NONEProcedure
Clean the part. Refer to TASK 72-32-16-100-000.
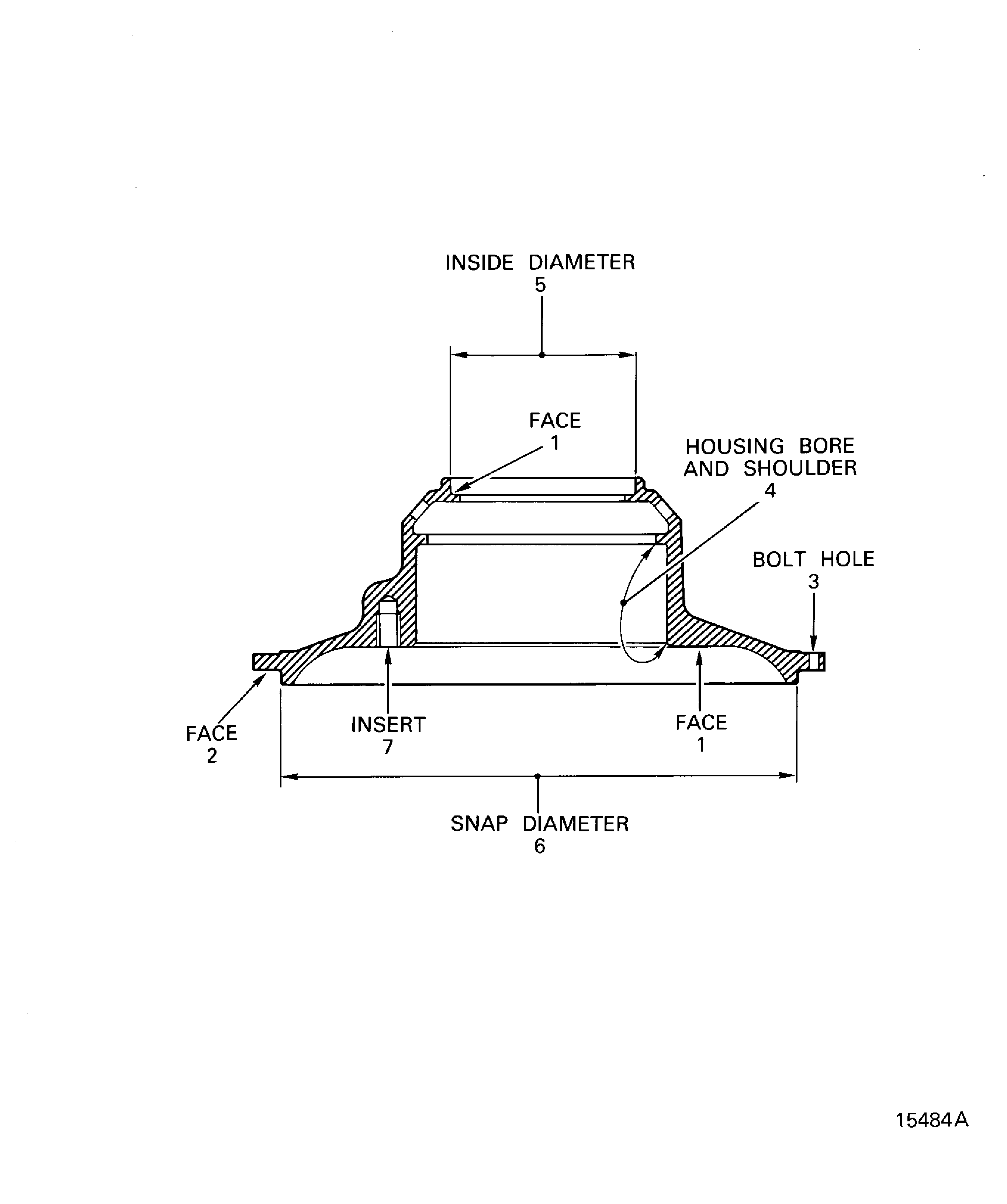
SUBTASK 72-32-16-230-053 Examine the Gearshaft Bearing Housing Assembly (01-150) for Cracks
Refer to Figure.
Repair, VRS1196 TASK 72-32-16-300-009
Scored
Examine the faces at location 1.
SUBTASK 72-32-16-220-073 Examine the Gearshaft Bearing Housing Assembly (01-150) Faces
Refer to Figure.
Repair, VRS1196 TASK 72-32-16-300-009
Galled
Examine the face at location 2.
SUBTASK 72-32-16-220-074 Examine the Gearshaft Bearing Housing Assembly (01-150) Face
Refer to Figure.
Repair, VRS1196 TASK 72-32-16-300-009
Burred
Examine the bolt holes at location 3.
SUBTASK 72-32-16-220-075 Examine the Gearshaft Bearing Housing Assembly (01-150) Bolt Holes
Refer to Figure.
Repair, VRS1197 TASK 72-32-16-300-010
Scored
Repair VRS1197 TASK 72-32-16-300-010
Chipped and cracked
Repair, VRS1197 TASK 72-32-16-300-010
More than 2.9529 in. (75.004 mm)
Worn
Examine the housing bore and shoulder at location 4.
SUBTASK 72-32-16-220-076 Examine the Gearshaft Bearing Housing Assembly (01-150) Housing Bore and Shoulder
Refer to Figure.
Repair, VRS1196 TASK 72-32-16-300-009
Scored
Examine the inside diameter at location 5.
SUBTASK 72-32-16-220-077 Examine the Gearshaft Bearing Housing Assembly (01-150) Inside Diameter
Refer to Figure.
Repair, VRS1196 TASK 72-32-16-300-009
Scored
Examine the snap diameter at location 6.
SUBTASK 72-32-16-220-078 Examine the Gearshaft Bearing Housing Assembly (01-150) Snap Diameter
Refer to Figure.
Repair, VRS1195 TASK 72-32-16-300-011
Loose
Examine the insert at location 7.
SUBTASK 72-32-16-220-079 Examine the Gearshaft Bearing Housing Assembly (01-150) Insert
Figure: Locations on the gearshaft bearing housing
Locations on the gearshaft bearing housing

