Export Control
EAR Export Classification: Not subject to the EAR per 15 C.F.R. Chapter 1, Part 734.3(b)(3), except for the following Service Bulletins which are currently published as EAR Export Classification 9E991: SBE70-0992, SBE72-0483, SBE72-0580, SBE72-0588, SBE72-0640, SBE73-0209, SBE80-0024 and SBE80-0025.Copyright
© IAE International Aero Engines AG (2001, 2014 - 2021) The information contained in this document is the property of © IAE International Aero Engines AG and may not be copied or used for any purpose other than that for which it is supplied without the express written authority of © IAE International Aero Engines AG. (This does not preclude use by engine and aircraft operators for normal instructional, maintenance or overhaul purposes.).Applicability
All
Common Information
TASK 72-32-23-300-007 Rotor Center Ring Seal Carrier Assembly - Replace The Flame Deposition Material, Repair-007 (VRS6111)
Effectivity
FIG/ITEM | PART NO. | |
|---|---|---|
01-720 | 6A2238 | Assembly A |
01-720 | 6A3890 | Assembly A |
01-720 | 6A3902 | Assembly A |
01-720 | 6A3916 | Assembly B |
General
This Repair must only be done when the instruction to do so is given in TASK 72-32-23-200-000 (INSPECTION-000).
This Repair is to replace the lining on the HP Compressor Seal Ring Carrier Assembly by Metal Spray.
The practices and processes referred to in the procedure by the TASK/SUBTASK numbers are in the SPM.
Price and availability - none
Refer to International Aero Engines
Related repairs
HP Compressor Seal Ring Carrier Assembly - Repair or Replace the Surface Protection, refer to Repair VRS6119, TASK 72-32-23-300-012 (REPAIR-012).
NOTE
Equivalent equipment can be used.
More equipment and materials necessary to do this Repair are in TASKS given below:
NOTE
Preliminary Requirements
Pre-Conditions
NONESupport Equipment
| Name | Manufacturer | Part Number / Identification | Quantity | Remark |
|---|---|---|---|---|
| Lathe | LOCAL | Lathe | ||
| Dial test indicators | LOCAL | Dial test indicators | ||
| Standard workshop equipment | LOCAL | Standard workshop equipment | ||
| Non-metallic scraper | LOCAL | Non-metallic scraper | ||
| Chemical strip equipment | LOCAL | Chemical strip equipment | ||
| Penetrant Crack Test Equipment | LOCAL | Penetrant crack test equipment | ||
| Degreasing equipment | LOCAL | Degreasing equipment | ||
| Abrasive blast equipment | LOCAL | Abrasive blast equipment | ||
| Metal spray equipment | LOCAL | Metal spray equipment | ||
| Rockwell A (HRA) tester | LOCAL | Rockwell A (HRA) tester | ||
| Vibrating marking pencil | LOCAL | Vibrating marking pencil | ||
| IAE 3R18725 Turn/Grind Fixture | 0AM53 | IAE 3R18725 | 1 | |
| IAE 3R18729 Clamp plate | 0AM53 | IAE 3R18729 | 1 |
Consumables, Materials and Expendables
| Name | Manufacturer | Part Number / Identification | Quantity | Remark |
|---|---|---|---|---|
| CoMat 02-001 ADHESIVE TAPE (MASKING) | LOCAL | CoMat 02-001 | ||
| CoMat 02-006 ADHESIVE TAPE ALUMINIUM FOIL | K0993 | CoMat 02-006 | ||
| CoMat 03-038 METAL SPRAYING POWDER NICKEL ALUMINIUM (95/5) | IE200 | CoMat 03-038 | ||
| CoMat 03-237 DELETED | 0AM53 | CoMat 03-237 | ||
| CoMat 03-229 METAL SPRAYING POWDER | LOCAL | CoMat 03-229 | ||
| CoMat 05-130 ABRASIVE DELETED | 0AM53 | CoMat 05-130 |
Spares
NONESafety Requirements
NONEProcedure
Refer to Figure.
Use IAE 3R18725 Turn/Grind Fixture 1 off with a Lathe.
Make sure the location surface runs true.
Use a Dial test indicators.
Install the turning fixture on the machine.
Use IAE 3R18729 Clamp plate 1 off.
Make sure the HP Compressor seal ring carrier assembly runs true.
Use a Dial test indicators.
Mount the HP Compressor seal ring carrier assembly on the fixture and clamp in place.
SUBTASK 72-32-23-325-051-A00 Remove the Lining, Assembly A
Refer to Figure.
Use IAE 3R18725 Turn/Grind Fixture 1 off with a Lathe.
Make sure the location surface runs true.
Use a Dial test indicators.
Install the turning fixture on the machine.
Use IAE 3R18729 Clamp plate 1 off.
Make sure the HP Compressor seal ring carrier assembly runs true.
Use a Dial test indicators.
Mount the HP Compressor seal ring carrier assembly on the fixture and clamp in place.
SUBTASK 72-32-23-325-051-B00 Remove the Lining, Assembly B
Refer to Figure
Use a Non-metallic scraper.
Remove the remaining bond coat by hand.
SUBTASK 72-32-23-350-056-A00 Remove the Bond Coat, Assembly A
NOTE
This SUBTASK is an alternative to Step.Refer to Figure.
Use a Non-metallic scraper.
Remove the remaining bond coat by hand.
SUBTASK 72-32-23-350-056-B00 Remove the Bond Coat, Assembly B
NOTE
This SUBTASK is an alternative to Step.Refer to Figure.
Refer to the SPM TASK 70-33-59-300-503.
Use chemical strip equipment.
Remove the remaining bond coat by chemical strip.
SUBTASK 72-32-23-330-051-A00 Remove the Bond Coat, Assembly A
NOTE
This SUBTASK is an alternative to Step.Refer to Figure.
Refer to the SPM TASK 70-33-59-300-503.
Use chemical strip equipment.
Remove the remaining bond coat by chemical strip.
SUBTASK 72-32-23-330-051-B00 Remove the Bond Coat, Assembly B
NOTE
This SUBTASK is an alternative to Step.Refer to Figure.
SUBTASK 72-32-23-220-074-A00 Examine, Assembly A
Refer to Figure.
SUBTASK 72-32-23-220-074-B00 Examine, Assembly B
Refer to the SPM TASK 70-23-04-230-501.
Use penetrant crack test equipment.
Cracks are not permitted.
Do a penetrant crack test.
SUBTASK 72-32-23-230-060 Do a Crack Test
Refer to the SPM TASK 70-11-01-300-503.
Use degreasing equipment.
Chemically clean the seal ring carrier assembly.
SUBTASK 72-32-23-110-056 Clean the HP Compressor Seal Ring Carrier Assembly
Refer to Figure.
Refer to the SPM TASK 70-12-02-120-501.
Use abrasive blast equipment.
Abrasive blast areas to be sprayed.
SUBTASK 72-32-23-120-051-A00 Abrasive Blast, Assembly A
Refer to Figure.
Refer to the SPM TASK 70-12-02-120-501.
Use abrasive blast equipment.
Abrasive blast areas to be sprayed.
SUBTASK 72-32-23-120-051-B00 Abrasive Blast, Assembly B
Refer to Figure
Refer to the SPM TASK 70-34-01-340-501, SUBTASK 70-34-01-340-002 and SUBTASK 70-34-01-340-025.
Apply the coat to a thickness of 0.003 to 0.005 in. (0.076 to 0.128 mm).
Use metal spray equipment.
Apply the bond coat.
Refer to the SPM TASK 70-34-01-340-501, SUBTASK 70-34-01-340-002, SUBTASK 70-34-01-340-004 and SUBTASK 70-34-01-340-031.
Apply the final coat to a thickness.
of 0.013 to 0.017 in. (0.33 to 0.43 mm), sufficient to allow for machining.
Use metal spray equipment.
Apply the final coat.
SUBTASK 72-32-23-340-051-A00 Apply the Sprayed Coat, assembly A
Refer to Figure.
Refer to the SPM TASK 70-34-01-340-501 , SUBTASK 70-34-01-340-002 and SUBTASK 70-34-01-340-025.
Apply the coat to a thickness of 0.003 to 0.005 in. (0.076 to 0.128 mm).
Use metal spray equipment.
Apply the bond coat.
Refer to the SPM TASK 70-34-01-340-501, SUBTASK 70-34-01-340-002, SUBTASK 70-34-01-340-004 and SUBTASK 70-34-01-340-031.
Apply the final coat to a thickness of 0.013 to 0.017 in. (0.33 to 0.43 mm), sufficient to allow for machining.
Use metal spray equipment.
Apply the final coat.
SUBTASK 72-32-23-340-051-B00 Apply the Sprayed Coat, Assembly B
Refer to Figure.
Refer to the SPM TASK 70-34-01-340-501, SUBTASK 70-34-01-340-004.
Average hardness value must be 85 to 95 R15N, outer limits 80 min, 100 max.
Use a hardness tester.
Do a hardness test.
SUBTASK 72-32-23-220-075-A00 Examine the Lining, Assembly A
Refer to Figure.
Refer to the SPM TASK 70-34-01-340-501, SUBTASK 70-34-01-340-004.
Average hardness value must be 85 to 95 R15N, outer limits 80 min, 100 max.
Use a hardness tester.
Do a hardness test.
SUBTASK 72-32-23-220-075-B00 Examine the Lining, Assembly B
Refer to Figure.
Use IAE 3R18725 Turn/Grind Fixture 1 off with a Lathe.
Make sure the location surface runs true.
Use a Dial test indicators.
Install the turning fixture on the machine.
Use IAE 3R18729 Clamp plate 1 off.
Make sure the HP Compressor seal ring carrier assembly runs true.
Use a Dial test indicators.
Mount the HP Compressor seal ring carrier assembly on the fixture and clamp in place.
SUBTASK 72-32-23-325-052-A00 Machine the Sprayed Diameter, Assembly A
Refer to Figure.
Use IAE 3R18725 Turn/Grind Fixture 1 off with a lathe.
Make sure the location surface runs true.
Use a Dial test indicators.
Install the turning fixture on the machine.
Use IAE 3R18729 Clamp plate 1 off.
Make sure the HP Compressor seal ring carrier assembly runs true.
Use a Dial test indicators.
Mount the HP Compressor seal ring carrier assembly on the fixture and clamp in place.
SUBTASK 72-32-23-325-052-B00 Machine the Sprayed Diameter, Assembly B
Refer to the SPM TASK 70-23-04-230-501.
Cracks are not permitted.
Do a penetrant crack test.
SUBTASK 72-32-23-230-061 Do a Crack Test
Refer to Repair VRS6119, TASK 72-32-23-300-012 (REPAIR-012).
Apply the surface protection.
SUBTASK 72-32-23-380-053 Apply Surface Protection
Refer to Figure.
Refer to the SPM TASK 70-09-00-400-501, SUBTASK 70-09-00-400-001.
Make a mark VRS6111 adjacent to the assembly number.
SUBTASK 72-32-23-350-057 Identify the Repair
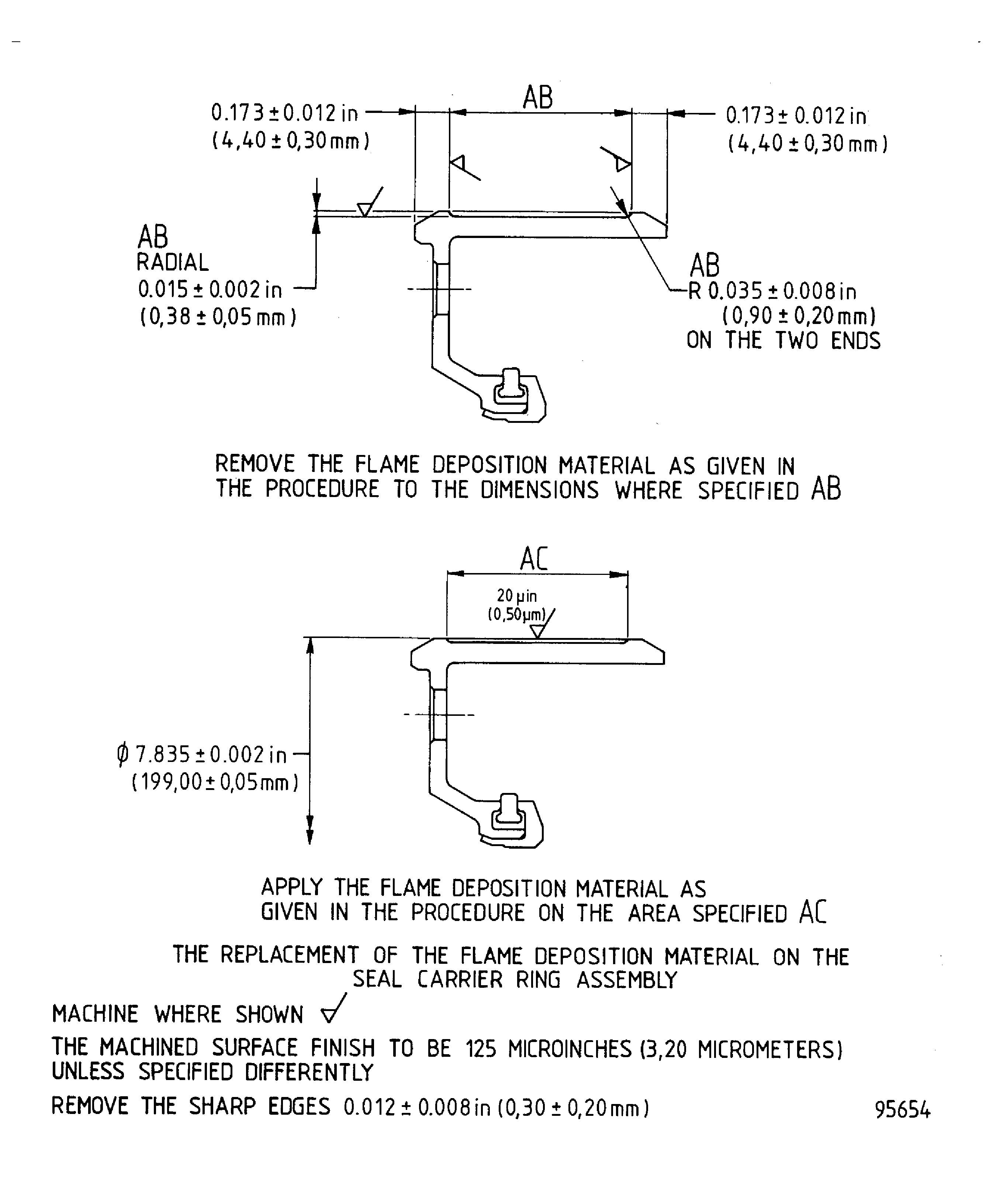
Figure: Repair details and dimensions - Assembly A
Repair details and dimensions - Assembly A

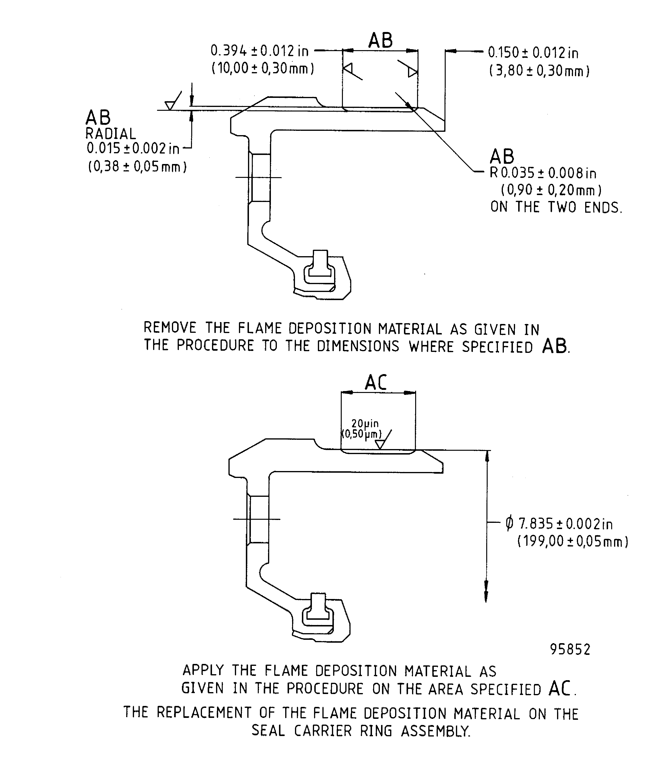
Figure: Repair details and dimensions - Assembly B
Repair details and dimensions - Assembly B

Figure: Repair details and dimensions - Assembly A and B
Repair details and dimensions - Assembly A and B

