Export Control
EAR Export Classification: Not subject to the EAR per 15 C.F.R. Chapter 1, Part 734.3(b)(3), except for the following Service Bulletins which are currently published as EAR Export Classification 9E991: SBE70-0992, SBE72-0483, SBE72-0580, SBE72-0588, SBE72-0640, SBE73-0209, SBE80-0024 and SBE80-0025.Copyright
© IAE International Aero Engines AG (2001, 2014 - 2021) The information contained in this document is the property of © IAE International Aero Engines AG and may not be copied or used for any purpose other than that for which it is supplied without the express written authority of © IAE International Aero Engines AG. (This does not preclude use by engine and aircraft operators for normal instructional, maintenance or overhaul purposes.).Applicability
All
Common Information
TASK 72-32-36-200-404-A00 No. 2 and 3 Bearing Oil Distributor And Tubes - Related Parts - Examine The Oil Restrictor, Inspection-004
General
This TASK gives the procedure for the inspection of the oil restrictor. For the other No.2 and 3 bearing oil distributor and tube parts, refer to Inspection-000 TASK 72-32-36-200-400.
The policy that is necessary for inspection is given in the SPM TASK 70-20-01-200-501.
All the parts must be cleaned before any part is examined. Refer to Cleaning-000 TASK 72-32-36-100-400.
All parts must be visually examined for damage, corrosion and wear. Any defects that are not identified in the procedure must be referred to IAE.
The procedure for those parts which must have a crack test is given in Step. Do the test before the part is visually examined.
Do not discard any part until you are sure there are no repairs available. Refer to the instructions in Repair before a discarded part is used again or oversize parts are installed.
Parts which should be discarded can be held although no repair is available. The repair of a discarded part could be shown to be necessary at a later date.
All parts must be examined to make sure that all the repairs have been completed satisfactorily.
The practices and processes referred to in the procedure by the TASK numbers are in the SPM.
References
Refer to the SPM for data on these items.
Definitions of Damage, SPM TASK 70-02-02-350-501.
Inspection of Parts, SPM TASK 70-20-01-200-501.
Some data on these items is contained in this TASK. For more data on these items refer to the SPM.
Method of Testing for Crack Indications
Chemical Processes
Surface Protection
Preliminary Requirements
Pre-Conditions
NONESupport Equipment
| Name | Manufacturer | Part Number / Identification | Quantity | Remark |
|---|---|---|---|---|
| Fluorescent Penetrant Inspection Equipment | LOCAL | Fluorescent Penetrant Inspection Equipment |
Consumables, Materials and Expendables
NONESpares
NONESafety Requirements
NONEProcedure
Reject
Cracked
Oil restrictor. Refer to SPM TASK 70-23-02-230-501.
Do the test for cracks on the parts that are given below.
Clean the parts. Refer to Cleaning-000 TASK 72-32-36-100-400.
NOTE
For the method to clean the parts, refer to the SPM TASK 70-11-14-300-503.
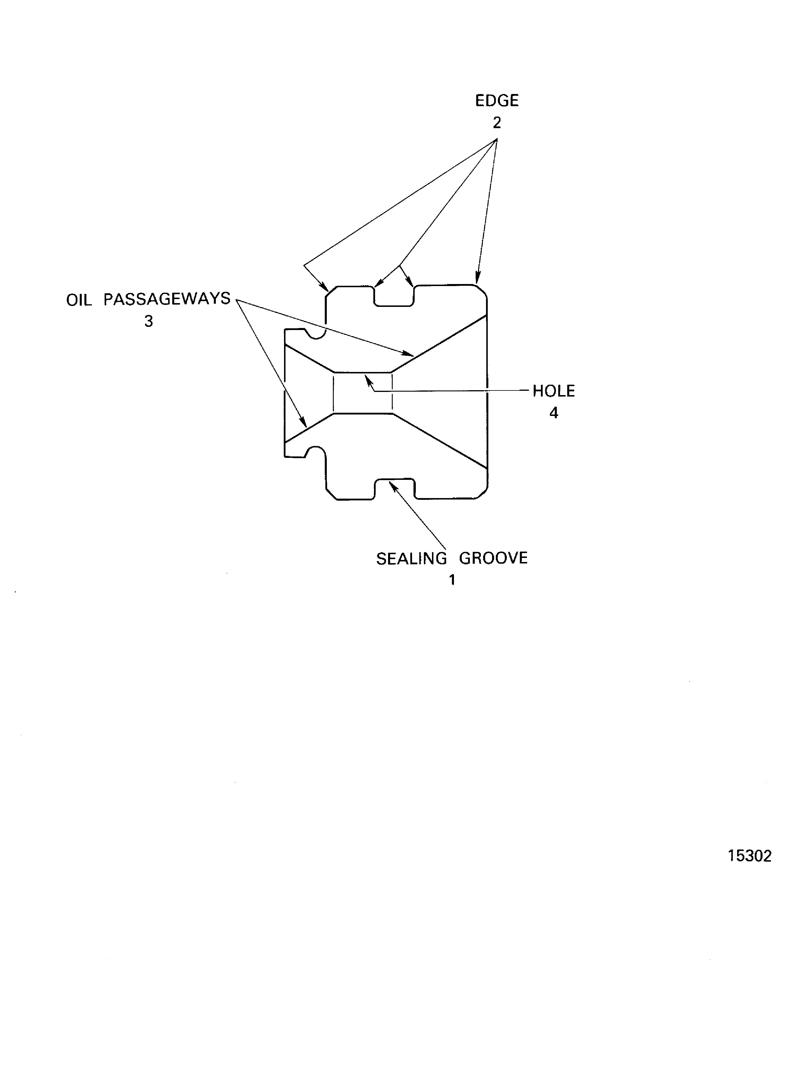
SUBTASK 72-32-36-230-060 Examine the Oil Restrictor (01-500) for Cracks
Refer to Figure.
Repair, VRS1930 (Repair-006) TASK 72-32-36-300-006.
Any nicks or scratches.
Nicked and scratched
Examine the sealing groove surface at location 1.
SUBTASK 72-32-36-220-082 Examine the Oil Restrictor (01-500) Sealing Groove Surface
Refer to Figure.
Repair, VRS1930 (Repair-006) TASK 72-32-36-300-006.
Burrs.
Examine the edges at location 2.
SUBTASK 72-32-36-220-083 Examine the Oil Restrictor (01-500) Edge
Refer to Figure.
Repair, VRS1930 (Repair-006) TASK 72-32-36-300-006.
Burrs.
Examine the oil passageways at location 3.
SUBTASK 72-32-36-220-084 Examine the Oil Restrictor (01-500) Oil Passageways
Refer to Figure.
Repair, VRS1930 (Repair-006) TASK 72-32-36-300-006.
Any nicks or scratches.
Nicked and scratched.
Examine the remaining surfaces which does not include the identified locations.
SUBTASK 72-32-36-220-086 Examine the Oil Restrictor (01-500) Remaining Surfaces
Figure: Locations on the Oil Restrictor
Locations on the Oil Restrictor

