Export Control
EAR Export Classification: Not subject to the EAR per 15 C.F.R. Chapter 1, Part 734.3(b)(3), except for the following Service Bulletins which are currently published as EAR Export Classification 9E991: SBE70-0992, SBE72-0483, SBE72-0580, SBE72-0588, SBE72-0640, SBE73-0209, SBE80-0024 and SBE80-0025.Copyright
© IAE International Aero Engines AG (2001, 2014 - 2021) The information contained in this document is the property of © IAE International Aero Engines AG and may not be copied or used for any purpose other than that for which it is supplied without the express written authority of © IAE International Aero Engines AG. (This does not preclude use by engine and aircraft operators for normal instructional, maintenance or overhaul purposes.).Applicability
All
Common Information
TASK 72-32-51-300-016 LP Rotor Center Shaft - Repair By Plasma Spraying The Bearing Journal, Repair-016 (VRS1280)
Material of component
RR | ||
|---|---|---|
DESCRIPTION | SYMBOL | MATERIAL |
Rotor center shaft coating | Titanium alloy | |
tungsten carbide/cobalt |
General
Price and availability
Refer to IAE
The practices and processes referred to in the procedure by the TASK numbers are in the SPM.
This TASK gives the procedure for plasma spraying the bearing journal of the rotor center shaft.
The use of clean gloves is necessary to carefully prevent contamination by perspiration of by salts.
NOTE
NOTE
Preliminary Requirements
Pre-Conditions
NONESupport Equipment
| Name | Manufacturer | Part Number / Identification | Quantity | Remark |
|---|---|---|---|---|
| Lathe | LOCAL | Lathe | ||
| Grinding machine | LOCAL | Grinding machine | ||
| Fluorescent Penetrant Inspection Equipment | LOCAL | Fluorescent Penetrant Inspection Equipment | ||
| Magnifying glass | LOCAL | Magnifying glass |
Consumables, Materials and Expendables
| Name | Manufacturer | Part Number / Identification | Quantity | Remark |
|---|---|---|---|---|
| CoMat 02-003 ADHESIVE TAPE BLACK WATERPROOF | LOCAL | CoMat 02-003 | ||
| CoMat 02-006 ADHESIVE TAPE ALUMINIUM FOIL | K0993 | CoMat 02-006 | ||
| CoMat 02-051 HIGH TEMPERATURE GLASS CLOTH TAPE | 0AM53 | CoMat 02-051 | ||
| CoMat 03-300 METAL SPRAYING POWDER,WC/Co | 0AM53 | CoMat 03-300 | ||
| CoMat 03-320 METAL SPRAYING POWDER,WC/Co | LOCAL | CoMat 03-320 | ||
| CoMat 05-031 CAST STEEL SHOT DELETED | 0AM53 | CoMat 05-031 | ||
| CoMat 05-130 ABRASIVE DELETED | 0AM53 | CoMat 05-130 | ||
| CoMat 07-102 STOPPING-OFF LACQUER | 0AM53 | CoMat 07-102 |
Spares
NONESafety Requirements
NONEProcedure
Refer to Figure.
Refer to the SPM TASK 70-33-59-300-503.
Strip the plasma coating.
SUBTASK 72-32-51-330-059 Strip the Plasma Coating
Refer to Figure
SUBTASK 72-32-51-325-052 Machine the Bearing Journal that is Plasma Sprayed
Refer to the SPM TASK 70-21-01-220-501.
Do a visual inspection for the machined area.
SUBTASK 72-32-51-220-111 Inspect the Rotor center Shaft
Refer to the SPM TASK 70-23-03-230-501.
No cracks permitted.
Do a crack test.
SUBTASK 72-32-51-230-061 Examine the Rotor center Shaft for Cracks
Refer to Figure.
Do the procedure given in the SPM TASK 70-38-04-300-503.
Complete coverage is required.
Shot peen the bearing journal to an intensity of 6.A.
SUBTASK 72-32-51-380-058 Shot Peen the Rotor Center Shaft
Refer to Figure.
Refer to the SPM TASK 70-34-01-340-501.
Amount of dimensional change by blasting is negligible and does not affect subsequent procedure.
Abrasive blast the rotor center shaft surface to be plasma sprayed.
SUBTASK 72-32-41-120-054 Abrasive Blast the Rotor Center Shaft
Refer to Figure
Refer to the SPM TASK 70-34-01-340-501.
Apply plasma spray, a diameter of 8.679 in. (220.45 mm) to 8.676 in. (220.35 mm) is required after plasma spraying.
SUBTASK 72-32-51-340-054 Apply Plasma Spray on the Bearing Journal
Refer to Figure.
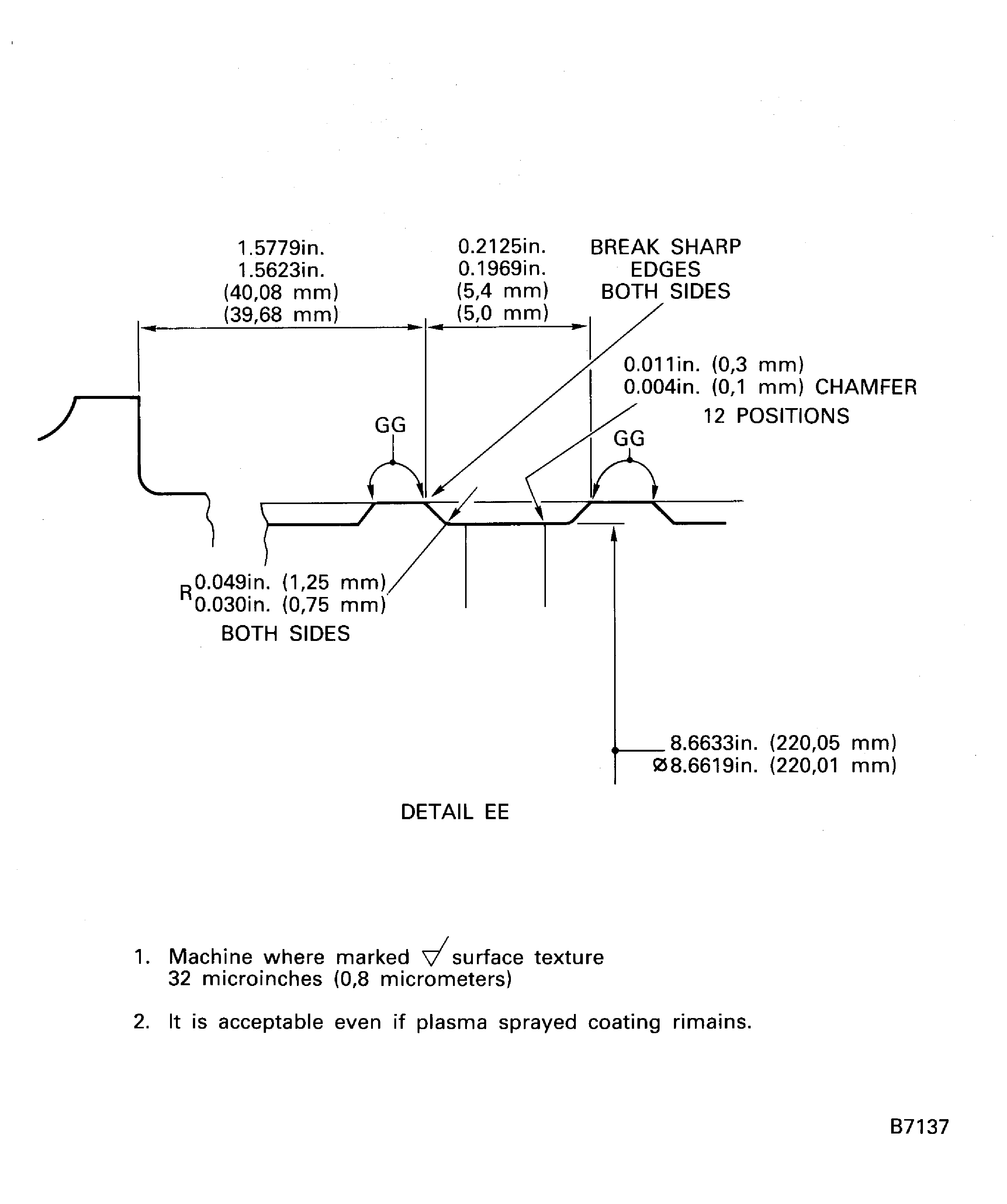
SUBTASK 72-32-51-324-059 Grind the Bearing Journal
Refer to the SPM TASK 70-23-03-230-501.
No cracks permitted.
Do a crack test.
SUBTASK 72-32-51-230-062 Examine the Rotor Center Shaft for Cracks
Refer to Figure.
Make a permanent mark by the procedure given in the SPM TASK 70-09-00-400-501.
Use electrolytic permanent mark.
Make a beehive symbol mark with the letters PS inside the beehive and mark VRS1280 adjacent to part number as shown.
SUBTASK 72-32-51-350-053 Identify the Repair
Machining Data | |
Machine speed .. .. .. 65.62 ft (20 m) per minute | |
Rate of feed .. .. .. 2.54in. (0.1 mm) per revolution | |
Machining Data is for guidance only. | |
NOTEHold the diameter to a maximum to allow for subsequent repairs. However any previous coating and damage must be removed. If less than 8.6483 in. (219.666 mm), reject the rotor center. |
Figure: Rotor center Shaft
Rotor center Shaft

Figure: Machine the bearing journal
Machine the bearing journal

Figure: Shot peening and abrasive blast
Shot peening and abrasive blast

Figure: Apply plasma spraying
Apply plasma spraying

Figure: Grind the plasma sprayed bearing journal
Grind the plasma sprayed bearing journal

Figure: Grind the oil hole portion
Grind the oil hole portion

