Export Control
EAR Export Classification: Not subject to the EAR per 15 C.F.R. Chapter 1, Part 734.3(b)(3), except for the following Service Bulletins which are currently published as EAR Export Classification 9E991: SBE70-0992, SBE72-0483, SBE72-0580, SBE72-0588, SBE72-0640, SBE73-0209, SBE80-0024 and SBE80-0025.Copyright
© IAE International Aero Engines AG (2001, 2014 - 2021) The information contained in this document is the property of © IAE International Aero Engines AG and may not be copied or used for any purpose other than that for which it is supplied without the express written authority of © IAE International Aero Engines AG. (This does not preclude use by engine and aircraft operators for normal instructional, maintenance or overhaul purposes.).Applicability
All
Common Information
TASK 72-32-81-300-007 LPC Stage 1.5 - 2.5 Drum Disk - Repair The Snap Diameter By Plasma Spray , Repair-007 (VRS1872)
General
Price and avialability
Refer to IAE for any of these items.
Tools
Repair parts
Repair of spares
The practices and processes referred to in the procedure by the TASK numbers in the SPM.
This Repair scheme gives the procedure for plasma spraying the snap diameter of the disc.
The use of clean gloves is necessary to prevent contamination, by prespiration or by salts.
NOTE
NOTE
NOTE
Preliminary Requirements
Pre-Conditions
NONESupport Equipment
| Name | Manufacturer | Part Number / Identification | Quantity | Remark |
|---|---|---|---|---|
| Lathe | LOCAL | Lathe | ||
| Abrasive blasting facility | LOCAL | Abrasive blasting facility | ||
| Fluorescent Penetrant Inspection Equipment | LOCAL | Fluorescent penetrant inspection equipment | ||
| Plasma spray equipment | LOCAL | Plasma spray equipment | ||
| Shot peening equipment | LOCAL | Shot peening equipment | ||
| Magnifying glass | LOCAL | Magnifying glass | ||
| Vibration peen | LOCAL | Vibration peen | ||
| IAE 3J1370 Fixture, machining | 0AM53 | IAE 3J1370 |
Consumables, Materials and Expendables
| Name | Manufacturer | Part Number / Identification | Quantity | Remark |
|---|---|---|---|---|
| CoMat 02-003 ADHESIVE TAPE BLACK WATERPROOF | LOCAL | CoMat 02-003 | ||
| CoMat 02-006 ADHESIVE TAPE ALUMINIUM FOIL | K0993 | CoMat 02-006 | ||
| CoMat 03-038 METAL SPRAYING POWDER NICKEL ALUMINIUM (95/5) | IE200 | CoMat 03-038 | ||
| CoMat 05-031 CAST STEEL SHOT DELETED | 0AM53 | CoMat 05-031 | ||
| CoMat 05-130 ABRASIVE DELETED | 0AM53 | CoMat 05-130 |
Spares
NONESafety Requirements
NONEProcedure
Use IAE 3J1370 Fixture, machining 1 off and lathe.
Locate the disc on a lathe and set the disc to run true. Secure the disc.

CAUTION
TITANIUM COMPONENTS.SILICONE CARBIDE TYPE WHEELS, STONES AND ABRASIVE PAPERS ARE TO BE USED FOR THIS REPAIR.ALUMINIUM OXIDE TYPES MUST NOT BE USED.THE MATERIAL WILL OXIDIZE AND CRACK IF MECHANICAL CUTTERS ARE USED HEAVILY. THIS HAS OCCURED IF THE COMPONENT SHOWS DARK STRAW TO BLUE DISCOLOURATION. IF AT ANY TIME THIS COLORATION OCCURS THE DISC MUST BE REJECTED.NOTE
Hold the diameter to a minimum, to allow for subsequent repairs. Any previous coating and damage must be removed. If any worn area, reject the disc.Machine the snap diameter between 11.882 in. (300.3 mm) and 11.812 in. (300.0 mm) to remove the worn area.
Table 3. Machine Data Machine speed: .. ..
65.62 ft. (20 m) per minute
Ratchet feed: .. ..
0.0039 in. (0.1 mm) per revolution
NOTE
Machining data is for guidance only.
SUBTASK 72-32-81-320-054 Machine the Worn Snap Diameter
Refer to Figure.
Refer to the SPM TASK 70-21-01-220-501.
Do a visual inspection of the machined area.
SUBTASK 72-32-81-220-077 Inspect the Disc
No cracks are permitted.
Refer to the SPM TASK 70-23-04-230-501.
Do a crack test.
SUBTASK 72-32-81-230-061 Examine the Disc for Cracks
Refer to Figure.
Apply the adhesive tape to the areas which are not to be given shot-peen treatment. Use CoMat 02-003 ADHESIVE TAPE BLACK WATERPROOF.
Apply the adhesive tape.
Do the procedure given in the SPM TASK 70-38-04-300-503. Use CoMat 05-031 CAST STEEL SHOT DELETED. Complete coverage is required.
Shot-peen the snap diameter to an intensity of 6A.
SUBTASK 72-32-81-380-052 Shot-Peen the Snap Diameter
Refer to the SPM TASK 70-34-01-340-501. Use CoMat 05-130 ABRASIVE DELETED.
Mask off areas that are not to be plasma sprayed.
SUBTASK 72-32-81-120-052 Abrasive Blast the Disc
Refer to Figure.
Refer to the SPM TASK 70-34-01-340-501. Use CoMat 03-038 METAL SPRAYING POWDER NICKEL ALUMINIUM (95/5).
Apply the plasma spray. A minimum diameter of 11.799 in. (299.7 mm) is required after plasma spraying.
SUBTASK 72-32-81-340-052 Apply Plasma Spray to the Snap Diameter
Refer to Figure.
Use IAE 3J1370 Fixture, machining 1 off and lathe.
Table 4. Machine Data Machine speed: .. ..
65.62 ft. (20 m) per minute
Ratchet feed: .. ..
0.0039 in. (0.1 mm) per revolution
NOTE
Machining data is for guidance only.
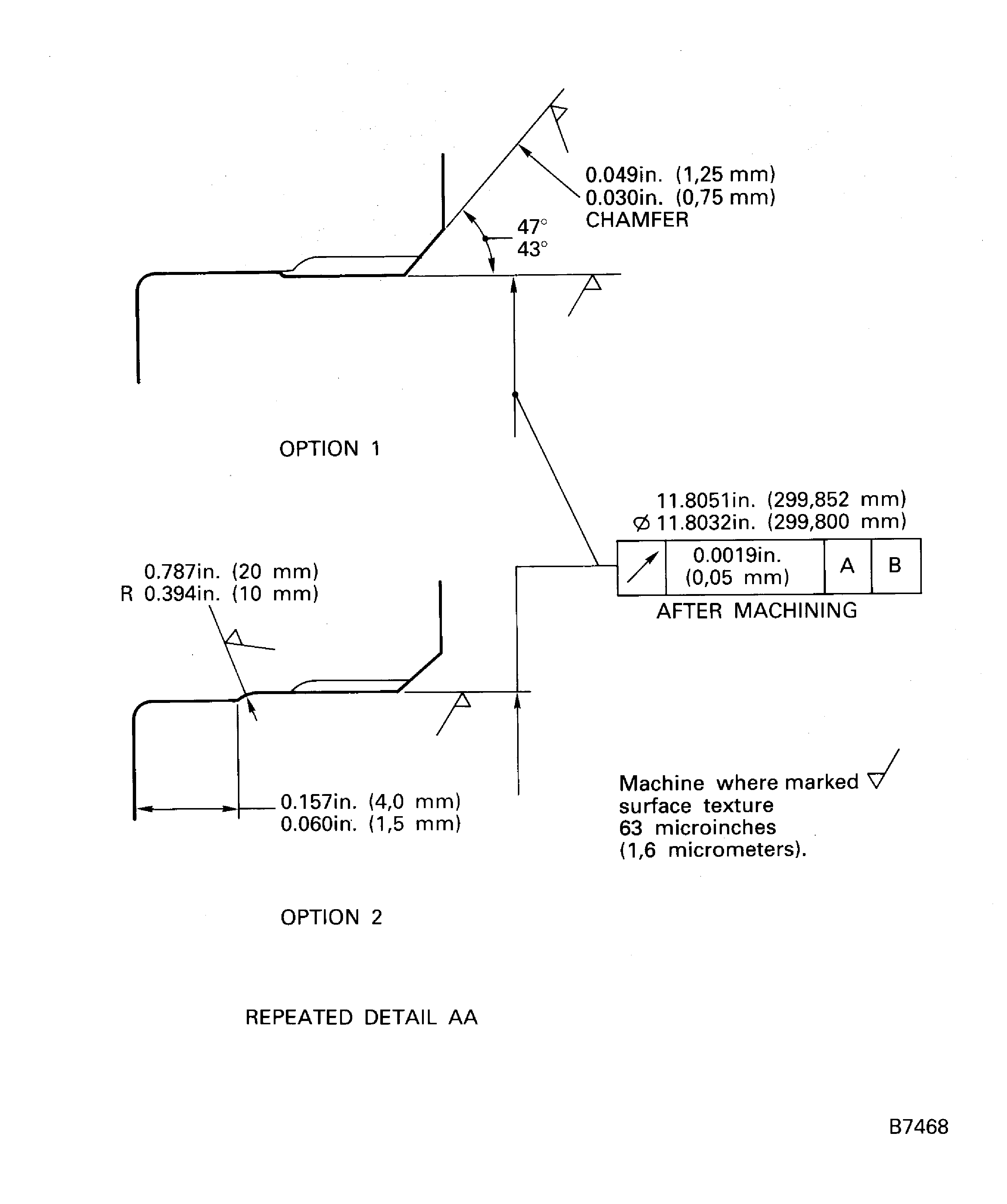
Machine the plasma sprayed snap diameter to between 11.8032 in. (299.800 mm) and 11.8051 in. (299.852 mm).
SUBTASK 72-32-81-320-055 Machine the Snap Diameter
Refer to Figure.
Make a permanent mark by the procedure given in the SPM TASK 70-09-00-400-501. Use the vibration-peening method.
Make a beehive symbol mark, with the letters PS inside the beehive, and mark VRS1872 on the top surface of the dovetail.
SUBTASK 72-32-81-350-062 Identify the Repair
Figure: LPC Disc
LPC Disc

Figure: Before Application of Plasma Spraying
Before Application of Plasma Spraying

Figure: After Application of Plasma Spraying
After Application of Plasma Spraying

Figure: Final Machining for the Snap Diameter
Final Machining for the Snap Diameter

Figure: LPC Disc
LPC Disc

