Export Control
EAR Export Classification: Not subject to the EAR per 15 C.F.R. Chapter 1, Part 734.3(b)(3), except for the following Service Bulletins which are currently published as EAR Export Classification 9E991: SBE70-0992, SBE72-0483, SBE72-0580, SBE72-0588, SBE72-0640, SBE73-0209, SBE80-0024 and SBE80-0025.Copyright
© IAE International Aero Engines AG (2001, 2014 - 2021) The information contained in this document is the property of © IAE International Aero Engines AG and may not be copied or used for any purpose other than that for which it is supplied without the express written authority of © IAE International Aero Engines AG. (This does not preclude use by engine and aircraft operators for normal instructional, maintenance or overhaul purposes.).Applicability
All
Common Information
TASK 72-32-83-300-044 LPC Stage 1.5 Stator - Replace The Vane, Repair-044 (VRS1763)
General
This Repair TASK gives the procedure for the replacement of the LPC stage 1.5 vane.
Material of component
PART IDENT | SYMBOL | MATERIAL |
|---|---|---|
LPC Stage 1.5 stator assembly | Vane: Titanium alloy Inner ring: Aluminum alloy |
Price and availability - none
The practices and processes referred to in this procedure by TASK numbers are in SPM.
NOTE
NOTE
Preliminary Requirements
Pre-Conditions
NONESupport Equipment
| Name | Manufacturer | Part Number / Identification | Quantity | Remark |
|---|---|---|---|---|
| Injector | LOCAL | Injector | (Air pressure type) | |
| Plastic chisel type tool | LOCAL | Plastic chisel type tool | ||
| Spatula | LOCAL | Spatula | ||
| Vacuum pump | LOCAL | Vacuum pump | ||
| IAE 3J12807 Molding fixture | 0AM53 | IAE 3J12807 |
Consumables, Materials and Expendables
| Name | Manufacturer | Part Number / Identification | Quantity | Remark |
|---|---|---|---|---|
| CoMat 01-124 ISOPROPYL ALCOHOL | LOCAL | CoMat 01-124 | ||
| CoMat 02-001 ADHESIVE TAPE (MASKING) | LOCAL | CoMat 02-001 | ||
| CoMat 02-005 ADHESIVE TAPE (MASKING) | LOCAL | CoMat 02-005 | ||
| CoMat 02-099 LINT-FREE CLOTH | LOCAL | CoMat 02-099 | ||
| CoMat 05-123 SILICON CARBIDE GRIT | IAE72 | CoMat 05-123 | ||
| CoMat 05-124 SILICON CARBIDE GRIT | IAE72 | CoMat 05-124 | ||
| CoMat 08-014 PRIMER, SILICONE ADHESIVE/SEALANT | LOCAL | CoMat 08-014 | ||
| CoMat 08-036 SILICONE RUBBER COMPOUND | LOCAL | CoMat 08-036 | ||
| CoMat 08-042 SILICONE RUBBER COMPOUND | IAE55 | CoMat 08-042 |
Spares
| Name | Manufacturer | Part Number / Identification | Quantity | Remark |
|---|---|---|---|---|
| Vane, STG 1,5 LPC | 5A0437 | 57 A/R | ||
| Vane, STG 1.5 LPC | 5A0438 | 57 A/R |
Safety Requirements
NONEProcedure
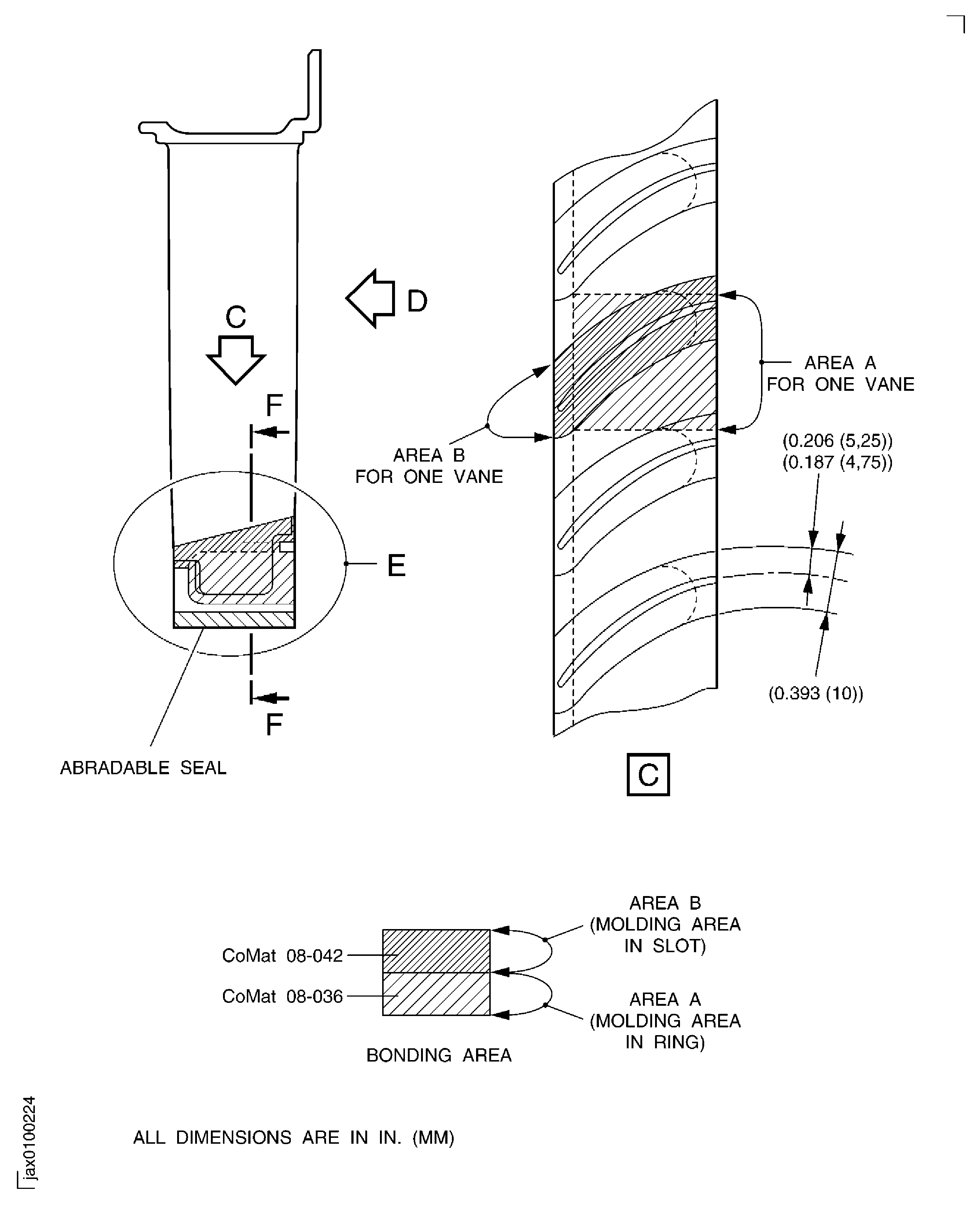
Refer to Figure.
Remove the remaining molding rubber from the remove vane if it is serviceable. Refer to Repair, VRS1765 TASK 72-32-83-300-047 (Repair-047). If the rubber is serviceable then it should be protected from possible damage during this repair by installing protective shield.
NOTE
If abradable seal silicone rubber on inner ring is to be replaced, remove rubber after vanes are removed. New rubber should be installed and cured after new vanes are installed and bonded.Apply adhesive tape for masking to the areas which do not require removing the remaining rubber.
Refer to SPM TASK 70-12-07-120-501.
Use dry plastic blast to remove the remaining rubber.
Remove adhesive tape for masking.
Remove the remaining molding rubber from AREA A, AREA B and/or the removed vane, if the remaining rubber is not fully removed in Step or Step.
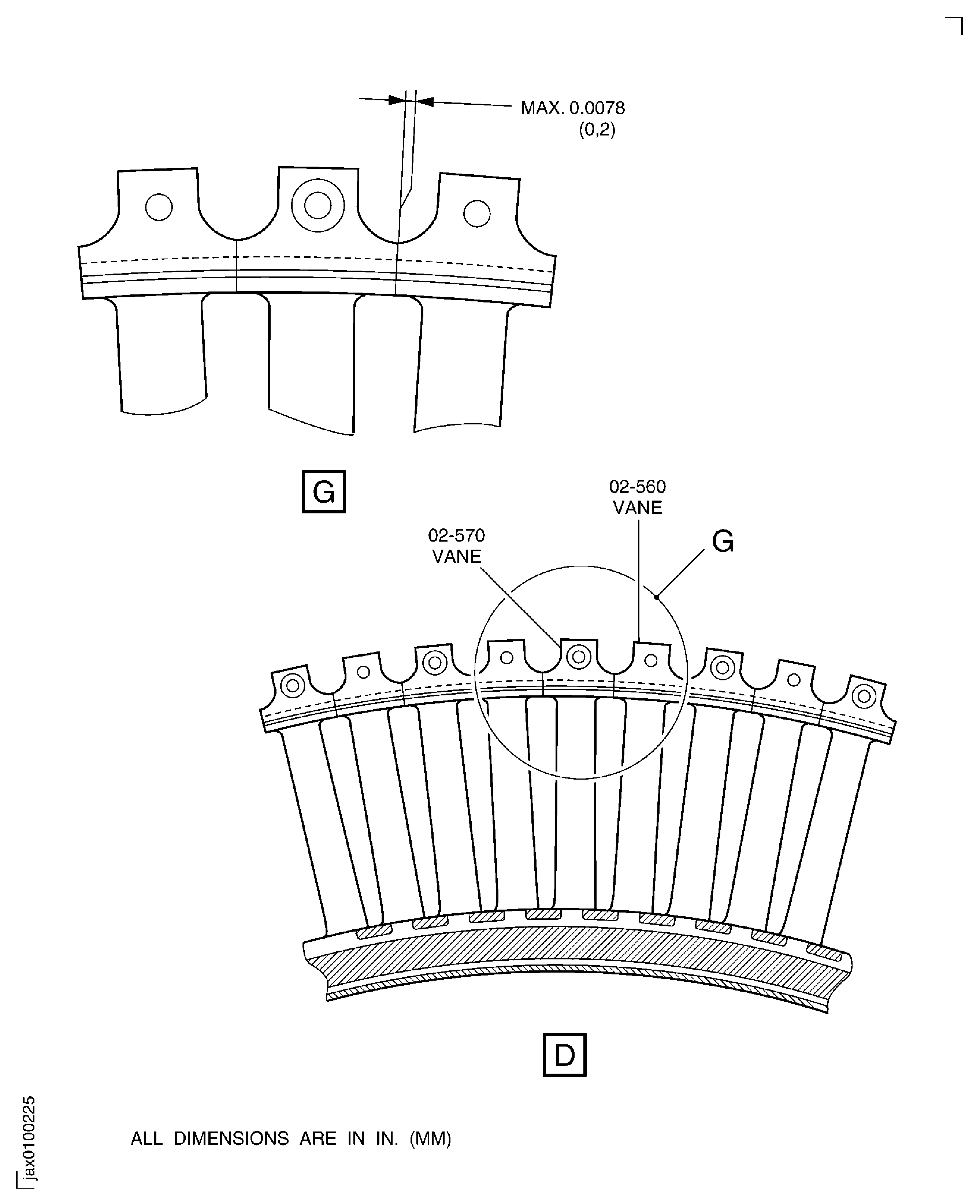
SUBTASK 72-32-83-350-090 Remove Identified Vane from the LPC Stage 1.5 Stator Assembly
Refer to Figure.
SUBTASK 72-32-83-110-066 Prepare the Bonding Area
Refer to Figure.
SUBTASK 72-32-83-360-112 Apply the Primer to the Bonding Area
Use CoMat 08-042 SILICONE RUBBER COMPOUND, and a clean spatula or equivalent.
NOTE
When mixed, the life of the silicone rubber compound is a maximum of 1.5 hours at room temperature.Mix 9.5 to 10.5 parts by weight of the base material with 0.8 to 1.2 parts by weight of the curing agent in 8 to 10 minutes at 70 to 80 deg F (21 to 27 deg C) until the material is a constant color.
SUBTASK 72-32-83-360-113 Make up of CoMat 08-042 Silicone Rubber Compound
Use IAE 3J12807 Molding fixture 1 off.
Set up the mold with the molding fixture and install the new or serviceable blade vane in position.
SUBTASK 72-32-83-360-114 Apply CoMat 08-042 Silicone Rubber Compound
Refer to the SPM TASK 70-36-04-360-501.
Mix the base material and the curing agent.
Refer to the SPM TASK 70-36-04-360-501.
Remove all air from the mixture.
SUBTASK 72-32-83-360-116 Make up of CoMat 08-036 Silicone Rubber Compound
Figure: Replace the stator vane of the LPC stage 1.5 stator assembly
Replace the stator vane of the LPC stage 1.5 stator assembly

Figure: Replace the stator vane of the LPC stage 1.5 stator assembly
Replace the stator vane of the LPC stage 1.5 stator assembly

Figure: Replace the stator vane of the LPC stage 1.5 stator assembly
Replace the stator vane of the LPC stage 1.5 stator assembly

Figure: Replace the stator vane of the LPC stage 1.5 stator assembly
Replace the stator vane of the LPC stage 1.5 stator assembly

