Export Control
EAR Export Classification: Not subject to the EAR per 15 C.F.R. Chapter 1, Part 734.3(b)(3), except for the following Service Bulletins which are currently published as EAR Export Classification 9E991: SBE70-0992, SBE72-0483, SBE72-0580, SBE72-0588, SBE72-0640, SBE73-0209, SBE80-0024 and SBE80-0025.Copyright
© IAE International Aero Engines AG (2001, 2014 - 2021) The information contained in this document is the property of © IAE International Aero Engines AG and may not be copied or used for any purpose other than that for which it is supplied without the express written authority of © IAE International Aero Engines AG. (This does not preclude use by engine and aircraft operators for normal instructional, maintenance or overhaul purposes.).Applicability
All
Common Information
TASK 72-32-85-300-056 Fan Case - Repair Worn Or Damaged Countersunk Bolthole At Flange FA, Repair-056 (VRS1512)
Effectivity
FIG/ITEM | PART No. |
|---|---|
01-100 | 5W0069 |
01-100 | 5W0072 |
01-100 | 5W0081 |
01-100 | 5W0093 |
01-100 | 5W0094 |
01-100 | 5W0100 |
01-100 | 5W0124 |
01-100 | 5W0144 |
01-100 | 5W0149 |
01-100 | 5W0154 |
01-100 | 5W0168 |
01-100 | 5W0169 |
01-100 | 5W0171 |
01-100 | 5W0172 |
01-100 | 5W0184 |
01-100 | 5W0186 |
01-100 | 5W0187 |
01-100 | 5W0188 |
01-100 | 5W0189 |
01-100 | 5W0190 |
01-100 | 5W0191 |
01-100 | 5W0192 |
01-100 | 5W0193 |
01-100 | 5W0194 |
01-100 | 5W0195 |
01-100 | 5W0196 |
01-100 | 5W0197 |
01-100 | 5W0198 |
01-100 | 5W0199 |
01-100 | 5W0200 |
01-100 | 5W0201 |
01-100 | 5W0202 |
01-100 | 5W0203 |
01-100 | 5W0204 |
01-100 | 5W0205 |
01-100 | 5W0206 |
01-100 | 5W0207 |
01-100 | 5W0208 |
01-100 | 5W0209 |
01-100 | 5W0210 |
01-100 | 5W0211 |
01-100 | 5W0212 |
01-100 | 5W0213 |
01-100 | 5W0214 |
01-100 | 5W0215 |
01-100 | 5W0216 |
01-100 | 5W0217 |
01-100 | 5W0218 |
01-100 | 5W0219 |
01-100 | 5W0220 |
01-100 | 5W0221 |
01-100 | 5W0222 |
01-100 | 5W0223 |
01-100 | 5W0224 |
01-100 | 5W0225 |
01-100 | 5W0226 |
01-100 | 5W0306 |
01-100 | 5W0307 |
01-100 | 5W0313 |
General
This Repair scheme gives the procedure for re-shaping the bolt holes by filling repair for worn or damaged countersunk hole in the Fan Case Assembly.
Material of Components
PART IDENT | SYMBOL | MATERIAL |
|---|---|---|
Fan Case Assembly | Titanium alloy |
The practices and processes referred to in the procedure by the TASK numbers are in SPM.
Preliminary Requirements
Pre-Conditions
NONESupport Equipment
| Name | Manufacturer | Part Number / Identification | Quantity | Remark |
|---|---|---|---|---|
| Penetrant Crack Test Equipment | LOCAL | Penetrant crack test equipment | ||
| Portable blending equipment | LOCAL | Portable blending equipment | ||
| Standard Workshop Equipment | LOCAL | Standard Workshop Equipment | ||
| Vibro-engraving equipment | LOCAL | Vibro-engraving equipment | ||
| Vacuum cleaner | LOCAL | Vacuum cleaner | ||
| Workshop inspection equipment | LOCAL | Workshop inspection equipment |
Consumables, Materials and Expendables
| Name | Manufacturer | Part Number / Identification | Quantity | Remark |
|---|---|---|---|---|
| CoMat 01-031 ACETONE (CH3)2CO | LOCAL | CoMat 01-031 | ||
| CoMat 02-097 LINT-FREE GLOVES | X111X | CoMat 02-097 | ||
| CoMat 02-100 GLOVES, LINT-FREE | LOCAL | CoMat 02-100 | ||
| CoMat 05-020 WATERPROOF SILICON CARBIDE | 1E1X8 | CoMat 05-020 | ||
| CoMat 05-021 WATERPROOF SILICON CARBIDE | 1E1X8 | CoMat 05-021 | ||
| CoMat 05-075 WATERPROOF SILICON CARBIDE | 1E1X8 | CoMat 05-075 | ||
| CoMat 05-076 WATERPROOF SILICON CARBIDE | 1E1X8 | CoMat 05-076 | ||
| CoMat 05-084 WATERPROOF SILICON CARBIDE | 1E1X8 | CoMat 05-084 | ||
| CoMat 05-085 WATERPROOF SILICON CARBIDE | 1E1X8 | CoMat 05-085 | ||
| CoMat 06-063 FLUORESCENT PENETRANT (POST-EMULSIFIED MEDIUM SENSITIVITY) | X222X | CoMat 06-063 | ||
| CoMat 06-064 FLUORESCENT PENETRANT (WATER WASHABLE MEDIUM SENSITIVITY) | X222X | CoMat 06-064 | ||
| CoMat 08-147 FILLER, METAL FILLED | LOCAL | CoMat 08-147 | ||
| CoMat 08-165 SURFACE REPLICATING MATERIAL,QUICK SET THIXOTROPIC | 2R260 | CoMat 08-165 |
Spares
NONESafety Requirements
NONEProcedure
Refer to SPM TASK 70-11-26-300-503.
Clean the fan case.
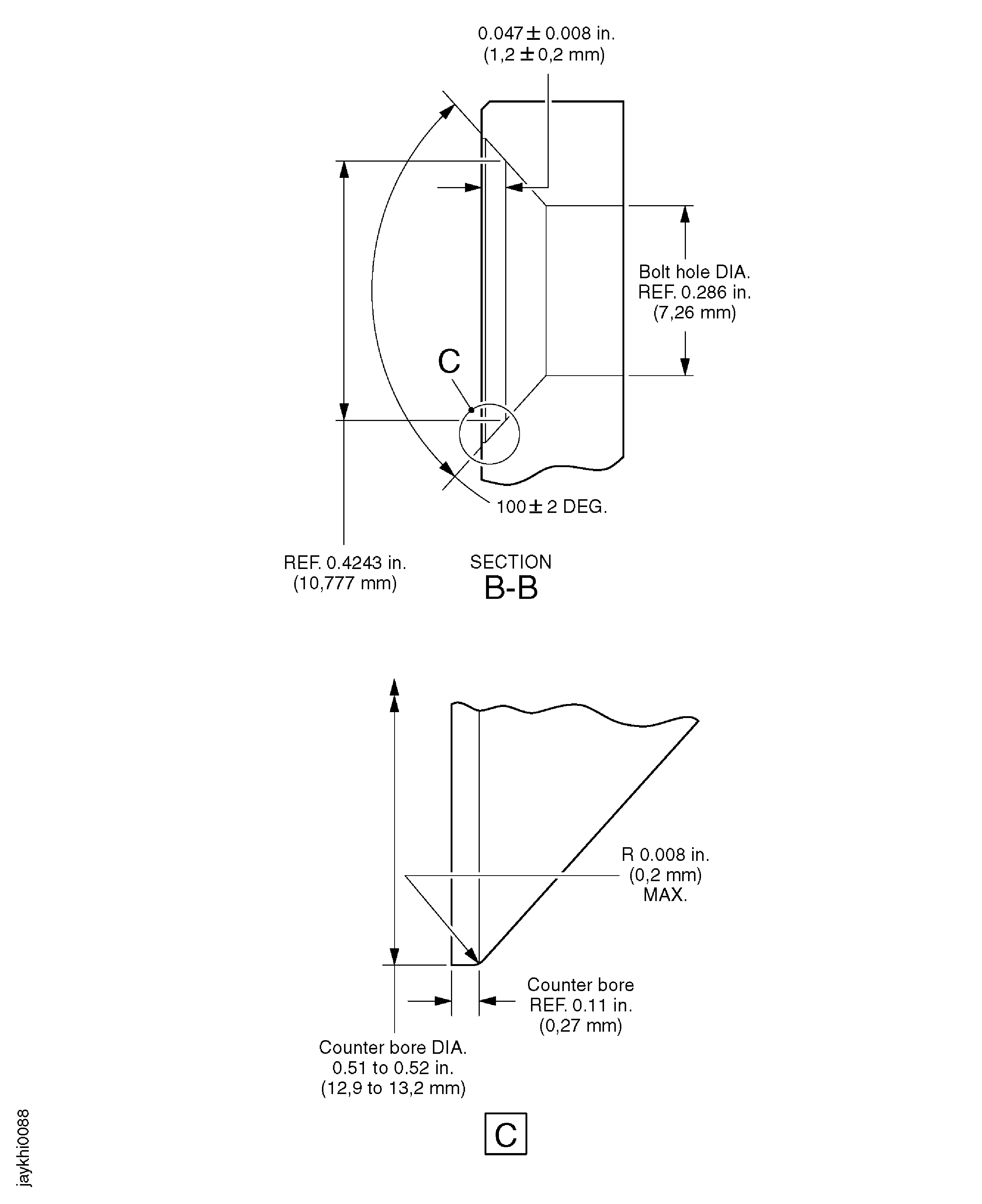
Measure the dimensions of the damaged areas. The damaged area must satisfy dimension given in Figure, Figure, Figure and Figure.
Use CoMat 08-165 SURFACE REPLICATING MATERIAL,QUICK SET THIXOTROPIC or equivalent.
If more than dimensional limits, do bush repair, refer to repair, VRS1565 TASK 72-32-85-300-057 (REPAIR-057).
Examine the damaged area dimensionally.
Refer to SPM TASK 70-23-05-230-501.
Use CoMat 06-063 FLUORESCENT PENETRANT (POST-EMULSIFIED MEDIUM SENSITIVITY) fluorescent penetrant or CoMat 06-064 FLUORESCENT PENETRANT (WATER WASHABLE MEDIUM SENSITIVITY) fluorescent penetrant.
Crack test on the damaged area.
SUBTASK 72-32-85-220-198 Examine the Fan case Assembly (01-100) for Damaged Area

WARNING
ALWAYS MAKE SURE THAT THERE IS SUFFICIENT VENTILATION IN THE WORK AREA. PROTECTIVE CLOTHING, FACE MASKS AND EYE PROTECTION MUST ALWAYS BE USED. DO NOT LET THE SOLVENT CLEANER OR ITS VAPOR TOUCH YOUR EYES OR SKIN. ALWAYS KEEP OPEN FLAMES AWAY FROM THE WORK AREA.NOTE
Dull tools and worn or loaded abrasive equipments generate heat rapidly and should be checked frequently and replaced when necessary.
Remove the minimum quantity of material necessary to remove the damage. All blends must be smooth and continuous.
Keep the material removal to the minimum necessary to remove damage.
Use CoMat 05-021 WATERPROOF SILICON CARBIDE or CoMat 05-020 WATERPROOF SILICON CARBIDE to remove damage.
Remove all raised materials and sudden changes the contour of the fan case.
Remove only the minimum amount of material.
Blend the fan case assembly at fretted surfaces.
SUBTASK 72-32-85-350-158 Blend the Worn or Damaged Fan Case Assembly (01-100)

CAUTION
TITANIUM COMPONENT - YOU MUST USE SILICON CARBIDE TYPE ABRASIVE WHEELS, STONES AND PAPERS TO DRESS, BLEND AND POLISH THIS COMPONENT. IF MECHANICAL CUTTERS ARE USED, ONLY LIGHT CUTS MUST BE MADE TO AVOID OVERHEATING THE MATERIAL.
CAUTION
TITANIUM COMPONENT - AVOID BUILD UP OF HEAT BY APPLYING ONLY GENTLE PRESSURE AND KEEPING THE TOOL SPEED AS LOW AS POSSIBLE. USE TECHNIQUES WHICH ALLOW FOR PROGRESSIVE WEAR OF THE DRESSING MEDIA TO PRESENT A CONTINUALLY FRESH CUTTING SURFACE TO THE WORK PIECE. DO NOT DWELL ON ONE AREA OF THE COMPONENT. DRESS, WHERE POSSIBLE, IN A CIRCULAR MOTION; TAKING LIGHT CUTS TO AVOID OVERHEATING.
CAUTION
TITANIUM COMPONENT - YOU MUST MAKE SURE THAT WHEN YOU REMOVE MATERIAL, BLEND AND POLISH, TO MAKE SMOOTH, THAT NO SPARKS ARE PRODUCED AND THE ADJACENT AREA IS MASKED OFF.
CAUTION
TITANIUM COMPONENT - IF THE MATERIAL SHOWS A CHANGE IN COLOUR DURING DRESSING, TO DARKER THAN A LIGHT STRAW COLOUR, THE COMPONENT IS TO BE REJECTED.
CAUTION
POWER BLENDING TOOLS MAY BE USED IF DAMAGED TITANIUM PART IS PERIODICALLY CHECKED FOR HEAT BUILD-UP BY TOUCHING OCCASIONALLY WITH UNGLOVED HAND. IF TITANIUM PART BECOMES TOO HOT TO TOUCH, ALLOW MATERIAL TO COOL BEFORE CONTINUING REPAIR.
CAUTION
THE FAN CASE IS MADE FROM TITANIUM ALLOY AND IS THIN IN SOME AREAS. IF YOU BLEND TOO MUCH, THE PART CANNOT BE SERVICEABLE AND WILL HAVE TO BE REPLACED.
CAUTION
DO NOT OPERATE WITHOUT SAFETY GOGGLES AND OTHER GUARDS EQUIPMENT. FLYING PARTICLES CAN CAUSE INJURY.Refer to SPM TASK 70-11-08-300-503, SUBTASK 70-11-08-300-002.
Use chemical cleaning equipment.
Swab etch the blended area.
SUBTASK 72-32-85-110-092 Do a Swab Etch
No cracks are permitted.
Refer to SPM TASK 70-23-05-230-501.
Do the test for cracks.
If more than dimensional limits, do bush repair, refer to repair, VRS1565 TASK 72-32-85-300-057 (REPAIR-057).
Measure the dimensions of the blended areas.
Examine the blended area.
SUBTASK 72-32-85-230-070 Examine the Blended Area of the Fan Case Assembly (01-100)
Make the repaired area rough with CoMat 05-084 WATERPROOF SILICON CARBIDE or CoMat 05-085 WATERPROOF SILICON CARBIDE.
Make the roughed surface for better adhesion on fretted (repaired) surfaces.
Use CoMat 01-031 ACETONE (CH3)2CO, refer to SPM TASK 70-11-26-300-503.
Remove all remaining unwanted material with a vacuum cleaner or oil free dry air blast.
Clean the roughed area.
SUBTASK 72-32-85-350-159 Prepare the Repair Area

WARNING
ALWAYS MAKE SURE THERE IS SUFFICIENT VENTILATION IN THE WORK AREA. EYE PROTECTION MUST ALWAYS BE USED. DO NOT LET THE SOLVENT CLEANER OR ITS VAPOR TOUCH THE EYES OR SKIN. PROTECTIVE CLOTHING AND FACE MASKS MUST ALWAYS BE USED. ALWAYS KEEP OPEN FLAMES AWAY FROM THE WORK AREA. IT IS THE RESPONSIBILITY OF THE OPERATOR TO OBTAIN AND OBSERVE THE MANUFACTURERS MATERIAL SAFETY DATA SHEETS FOR CONSUMABLE MATERIALS INFORMATION SUCH AS, HAZARDOUS INGREDIENTS, PHYSICAL/CHEMICAL CHARACTERISTICS, FIRE EXPLOSION, REACTIVITY, HEALTH HAZARD DATA, PRECAUTIONS FOR SAFE HANDLING, USE AND CONTROL MEASURES AND ALSO TO TAKE LOCAL REGULATIONS INTO CONSIDERATION.
WARNING
DO NOT OPERATE WITHOUT SAFETY GOGGLES AND OTHER GUARDS EQUIPMENT. FLYING PARTICLES CAN CAUSE INJURY.
CAUTION
YOU MUST USE OIL FREE DRY AIR ONLY.Use CoMat 08-147 FILLER, METAL FILLED. Weigh out 43 parts of base compound and ten parts of curing compound.
Mix the two parts by kneading until the color of compound is constant quality. No streaks permitted.
NOTE
Wear CoMat 02-097 LINT-FREE GLOVES or CoMat 02-100 GLOVES, LINT-FREE before you touch the parts.The life of the mixed filling material is approximately 20 minutes at 77 deg F (25 deg C).
Prepare the filler.
Allow the CoMat 08-147 FILLER, METAL FILLED to cure for four hours at ambient temperature 75 deg F (24 deg C). Refer to attached technical data sheet.
NOTE
Make sure the full cure time is used and hold the correct temperature.
Cure the filler.
Remove all unwanted filler.
Use files or CoMat 05-020 WATERPROOF SILICON CARBIDE.
NOTE
Allow material to cure for at least four hours before machining, but wait no longer than 24 hours.
Remove unwanted filler.
Use CoMat 05-075 WATERPROOF SILICON CARBIDE or CoMat 05-076 WATERPROOF SILICON CARBIDE. Polish the repaired area to smooth surface. Make sure that the surface finish is the same as the adjacent surface.
Polish the area of the repair.
SUBTASK 72-32-85-360-106 Apply the Filler
Figure: Repair Details and Dimensions
Repair Details and Dimensions

Figure: Repair Details and Dimensions
Repair Details and Dimensions

Figure: Repair Details and Dimensions
Repair Details and Dimensions

Figure: Repair Details and Dimensions
Repair Details and Dimensions

Figure: Repair Details and Dimensions
Repair Details and Dimensions

Figure: Repair Details and Dimensions
Repair Details and Dimensions

Figure: Repair Details and Dimensions
Repair Details and Dimensions

