Export Control
EAR Export Classification: Not subject to the EAR per 15 C.F.R. Chapter 1, Part 734.3(b)(3), except for the following Service Bulletins which are currently published as EAR Export Classification 9E991: SBE70-0992, SBE72-0483, SBE72-0580, SBE72-0588, SBE72-0640, SBE73-0209, SBE80-0024 and SBE80-0025.Copyright
© IAE International Aero Engines AG (2001, 2014 - 2021) The information contained in this document is the property of © IAE International Aero Engines AG and may not be copied or used for any purpose other than that for which it is supplied without the express written authority of © IAE International Aero Engines AG. (This does not preclude use by engine and aircraft operators for normal instructional, maintenance or overhaul purposes.).Applicability
All
Common Information
TASK 72-32-87-300-004 Fan Case Front Liner Panel - Repair Surface Erosion, Repair-004 (VRS1804)
Effectivity
FIG/ITEM | PART NO. | |
|---|---|---|
03-100 | 5A0807 | Assembly B |
03-100 | 5A1086 | Assembly A |
03-100 | 5A1615 | Assembly B |
03-100 | 5A1627 | Assembly A |
03-150 | 5A0807 | Assembly B |
03-150 | 5A1086 | Assembly A |
03-150 | 5A1615 | Assembly B |
03-150 | 5A1627 | Assembly A |
03-200 | 5A0807 | Assembly B |
03-200 | 5A1086 | Assembly A |
03-200 | 5A1615 | Assembly B |
03-200 | 5A1627 | Assembly A |
03-250 | 5A0807 | Assembly B |
03-250 | 5A1086 | Assembly A |
03-250 | 5A1615 | Assembly B |
03-250 | 5A1627 | Assembly A |
03-300 | 5A0807 | Assembly B |
03-300 | 5A1086 | Assembly A |
03-300 | 5A1615 | Assembly B |
03-300 | 5A1627 | Assembly A |
03-350 | 5A0807 | Assembly B |
03-350 | 5A1086 | Assembly A |
03-350 | 5A1615 | Assembly B |
03-350 | 5A1627 | Assembly A |
03-400 | 5A0807 | Assembly B |
03-400 | 5A1086 | Assembly A |
03-400 | 5A1615 | Assembly B |
03-400 | 5A1627 | Assembly A |
03-450 | 5A0807 | Assembly B |
03-450 | 5A1086 | Assembly A |
03-450 | 5A1615 | Assembly B |
03-450 | 5A1627 | Assembly A |
03-500 | 5A0807 | Assembly B |
03-500 | 5A1086 | Assembly A |
03-500 | 5A1615 | Assembly B |
03-500 | 5A1627 | Assembly A |
03-550 | 5A0807 | Assembly B |
03-550 | 5A1086 | Assembly A |
03-550 | 5A1615 | Assembly B |
03-550 | 5A1627 | Assembly A |
General
NOTE
Preliminary Requirements
Pre-Conditions
NONESupport Equipment
| Name | Manufacturer | Part Number / Identification | Quantity | Remark |
|---|---|---|---|---|
| Standard workshop equipment | LOCAL | Standard workshop equipment |
Consumables, Materials and Expendables
| Name | Manufacturer | Part Number / Identification | Quantity | Remark |
|---|---|---|---|---|
| CoMat 01-124 ISOPROPYL ALCOHOL | LOCAL | CoMat 01-124 | ||
| CoMat 02-005 ADHESIVE TAPE (MASKING) | LOCAL | CoMat 02-005 | ||
| CoMat 02-099 LINT-FREE CLOTH | LOCAL | CoMat 02-099 | ||
| CoMat 05-016 GARNET PAPER, 80-GRIT | LOCAL | CoMat 05-016 | ||
| CoMat 05-017 GARNET PAPER, 60 GRIT | LOCAL | CoMat 05-017 | ||
| CoMat 07-080 TWO-PACK EPOXY PRIMER AND CATALYST | LOCAL | CoMat 07-080 | ||
| CoMat 07-081 EPOXY PRIMER CATALYST | 0AM53 | CoMat 07-081 | ||
| CoMat 07-082 THINNER | LOCAL | CoMat 07-082 | ||
| CoMat 08-015 RESIN | LOCAL | CoMat 08-015 | ||
| CoMat 08-016 HARDENER | LOCAL | CoMat 08-016 | ||
| CoMat 08-049 FIBREGLASS CLOTH | K6835 | CoMat 08-049 | ||
| CoMat 07-153 POLYURETHANE PAINT GLOSSBLACK | LOCAL | CoMat 07-153 | ||
| CoMat 07-154 POLYURETHANE PAINT CATALYSTX-501 | LOCAL | CoMat 07-154 |
Spares
NONESafety Requirements
NONEProcedure
Refer to the SPM TASK 70-11-26-300-503.
Clean the area that is to be repaired.
Use CoMat 05-016 GARNET PAPER, 80-GRIT or 05-017 garnet paper.
Lightly make rough the area that is to be repaired.
Repeat Step.
SUBTASK 72-32-87-110-054 Prepare the Panel Liner for Repair
Refer to the SPM TASK 70-36-02-360-501, SUBTASK 70-36-02-360-021.
Use CoMat 08-015 RESIN and CoMat 08-016 HARDENER.

WARNING
DURING THE OPERATION, WEAR PROTECTIVE GLOVES AND GOGGLES.
WARNING
MAKE SURE THERE IS SUFFICIENT VENTILATION DURING THE OPERATION.Make up the epoxy resin from the two parts.
SUBTASK 72-32-87-380-051 Apply Epoxy Resin to the Damaged Area
Use CoMat 05-016 GARNET PAPER, 80-GRIT or 05-017 Garnet paper.
Remove excess resin to make surface smooth.
SUBTASK 72-32-87-380-052 Cure the Repaired Area
NOTE
If necessary, the CoMat 07-082 THINNER can be added. Up to 10 percent by volume.NOTE
The mixture must be allowed to stand for 30 minutes before it is used.NOTE
The pot life of the mixture is eight hours. If you do not use the mixture within eight hours, discard it.Use CoMat 07-080 TWO-PACK EPOXY PRIMER AND CATALYST and CoMat 07-081 EPOXY PRIMER CATALYST in equal parts.
Mix the primer base and the catalyst.
SUBTASK 72-32-87-380-053 Make up the Epoxy Primer
Use CoMat 07-153 POLYURETHANE PAINT GLOSSBLACK and CoMat 07-154 POLYURETHANE PAINT CATALYSTX-501 in equal parts.
NOTE
If necessary, the CoMat 07-082 THINNER can be added. Up to 10 percent by volume.NOTE
The mixture must be allowed to stand for 30 minutes before it is used.NOTE
The pot life of the mixture is eight hours. If you do not use the mixture within eight hours, discard it.Mix the primer base and the catalyst.
SUBTASK 72-32-87-380-055 Make up the Polyurethane Paint
Nicks, dents, scratches, delamination or other damages are not permitted.
Refer to TASK 72-32-87-200-000 (INSPECTION-000).
Visually examine the repaired area.
Visually examine the panel.
SUBTASK 72-32-87-220-069 Examine the Panel Liner
Refer to the SPM TASK 70-09-00-400-501.
Use the ink method.
Make a mark VRS 1804 with permanent ink adjacent to the part number.
SUBTASK 72-32-87-350-056 Mark Repair Number on Panel Liner
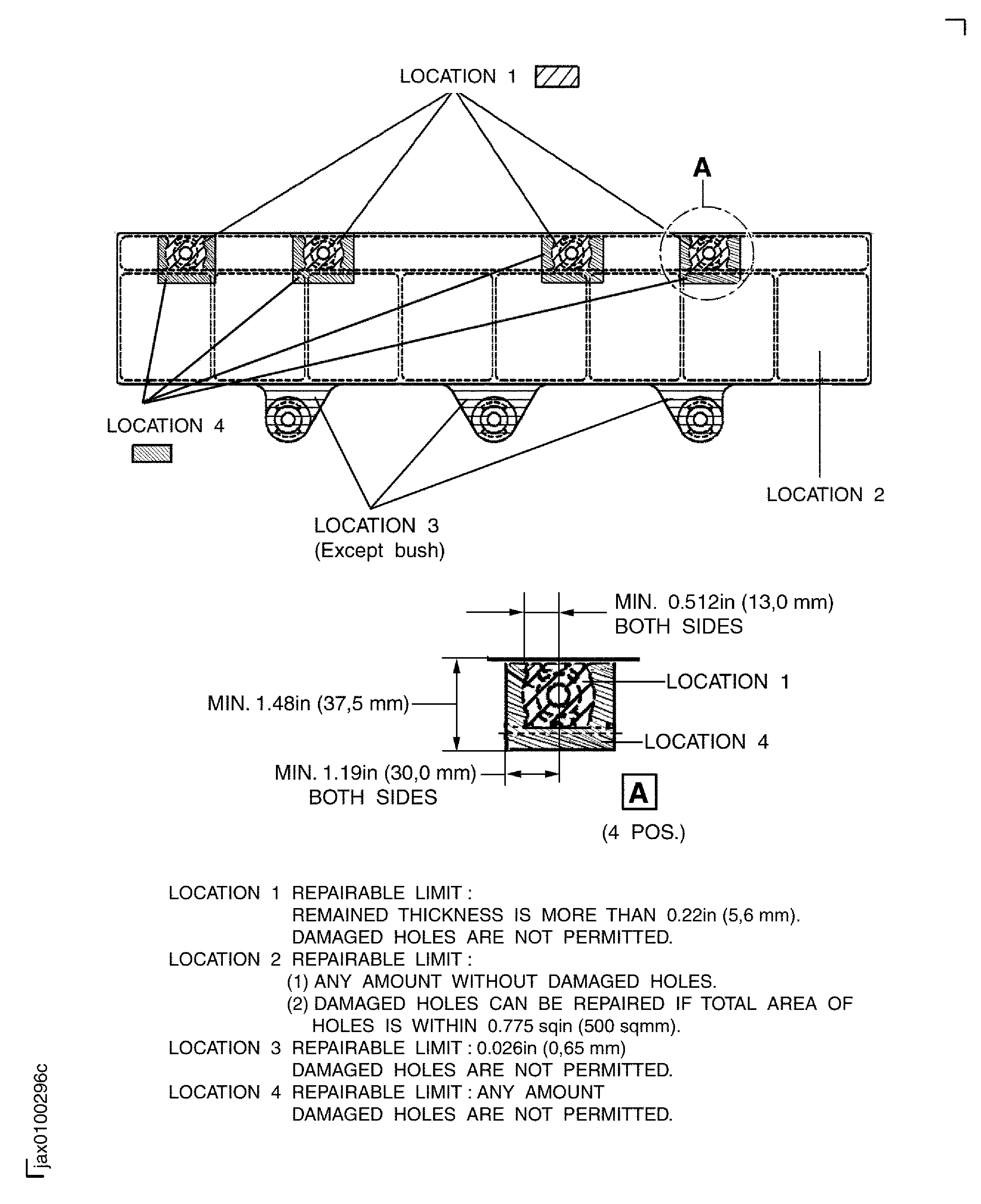
Figure: Repairable limit - Assembly A
Repairable limit - Assembly A

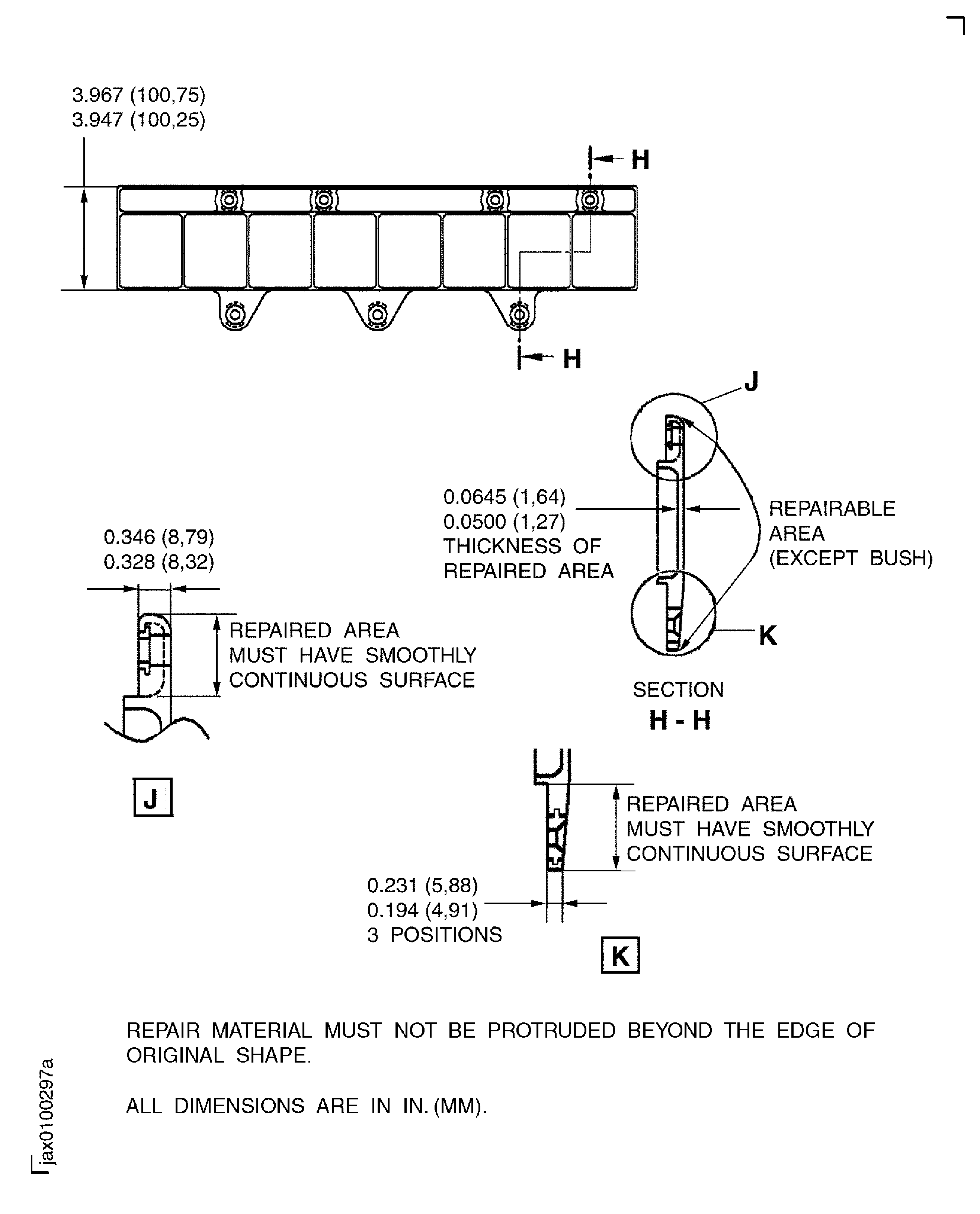
Figure: In process dimension before painting Polyurethane paint - Assembly A
In process dimension before painting Polyurethane paint - Assembly A

Figure: Detail dimension - Assembly A
Detail dimension - Assembly A

Figure: Repairable limit - Assembly B
Repairable limit - Assembly B

Figure: In process dimension before painting Polyurethane paint - Assembly B
In process dimension before painting Polyurethane paint - Assembly B

Figure: Detail dimension - Assembly B
Detail dimension - Assembly B

