Export Control
EAR Export Classification: Not subject to the EAR per 15 C.F.R. Chapter 1, Part 734.3(b)(3), except for the following Service Bulletins which are currently published as EAR Export Classification 9E991: SBE70-0992, SBE72-0483, SBE72-0580, SBE72-0588, SBE72-0640, SBE73-0209, SBE80-0024 and SBE80-0025.Copyright
© IAE International Aero Engines AG (2001, 2014 - 2021) The information contained in this document is the property of © IAE International Aero Engines AG and may not be copied or used for any purpose other than that for which it is supplied without the express written authority of © IAE International Aero Engines AG. (This does not preclude use by engine and aircraft operators for normal instructional, maintenance or overhaul purposes.).Applicability
All
Common Information
TASK 72-38-25-200-001-B00 Bifurcation Panel - Examine, Inspection-001 - SBE 79-0087 And SBE 79-0088
General
This TASK gives the procedure for the inspection of the bifurcation panel. For the other bifurcation panel parts refer to TASK 72-38-25-200-000.
Fig/item numbers in parentheses in the procedure agree with those used in the EIPC. Only the primary Fig/item numbers are used. For the service bulletin alpha variants refer to the EIPC.
The policy that is necessary for Inspection/Check is given in the SPM TASK 70-20-01-200-501.
All the parts must be cleaned before they are examined. Refer to TASK 72-38-25-100-000.
All the parts must be visually examined for damage, corrosion and wear. Defects that are not identified in the procedure must be referred to IAE.
Do not discard a part until you are sure there are no repairs available. Refer to the instructions in repair before a discarded part is used again or oversize parts are installed.
Parts which must be discarded can be held although no repair is available. The repair of a discarded part could be shown to be necessary at a subsequent date.
All parts must be examined to make sure that all the repairs are completed satisfactorily.
Practices and processes referred to by the TASK/SUBTASK number in the procedure, are in the SPM.
References
Refer to the SPM for data on these items.
Definitions of Damage, SPM TASK 70-02-02-350-501
Inspection of Parts, SPM TASK 70-20-01-200-501
Some data on these items is contained in this TASK. For more data on these items refer to the SPM.
Method of Testing for Crack Indications
Chemical processes
Surface protection
Preliminary Requirements
Pre-Conditions
NONESupport Equipment
NONEConsumables, Materials and Expendables
NONESpares
NONESafety Requirements
NONEProcedure
Refer to Figure.
Repair, VRS6373, TASK 72-38-25-300-001 (REPAIR-001)
More than in Step
Nicked.
More than in Step
Dented.
Refer to VRS6373, TASK 72-38-25-300-001 (REPAIR-001)
More than in Step
Scratched.
Examine all the surface.
SUBTASK 72-38-25-220-052 Examine the Surface of the Bifurcation Panel (01-300)
Refer to Figure.
Refer to VRS9669, TASK 72-38-25-300-002 (Repair-002).
Torn, split or cut through to fibrous layer.
Refer to VRS9669, TASK 72-38-25-300-002 (Repair-002).
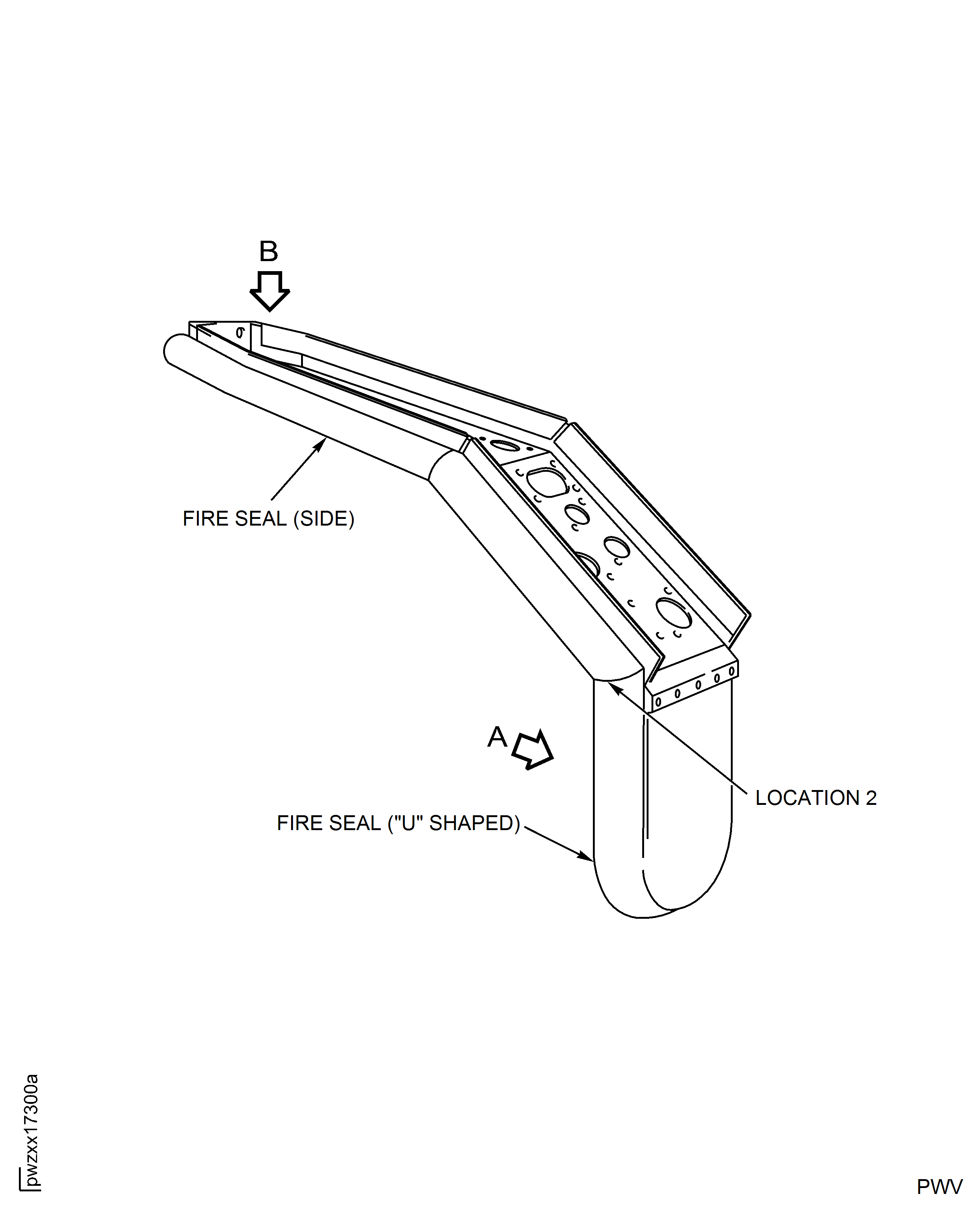
Missing sealant at location 2.
Accept
Scuffed surface, nicks or cuts that do not penetrate through to the fibrous layer.
Examine the "U" Seal.
Refer to VRS9536, TASK 72-38-25-300-003 (Repair-003).
Torn, split or cut through to fibrous layer.
Refer to VRS9536, TASK 72-38-25-300-003 (Repair-003).
Missing sealant at location 2.
Accept
Scuffed surface, nicks or cuts that do not penetrate through to the fibrous layer.
Clear with dry compressed air.

WARNING
BE CAREFUL WHEN YOU USE COMPRESSED AIR. PUT ON PROTECTIVE CLOTHING AND GOGGLES. MAKE SURE THAT ALL PERSONS ARE AT A SAFE DISTANCE.Holes in fireseals plugged.
Examine the side seals.
SUBTASK 72-38-25-220-053 Examine the Bifurcation Panel Fireseals
Figure: Inspection of the Bifurcation Panel
Inspection of the Bifurcation Panel

