Export Control
EAR Export Classification: Not subject to the EAR per 15 C.F.R. Chapter 1, Part 734.3(b)(3), except for the following Service Bulletins which are currently published as EAR Export Classification 9E991: SBE70-0992, SBE72-0483, SBE72-0580, SBE72-0588, SBE72-0640, SBE73-0209, SBE80-0024 and SBE80-0025.Copyright
© IAE International Aero Engines AG (2001, 2014 - 2021) The information contained in this document is the property of © IAE International Aero Engines AG and may not be copied or used for any purpose other than that for which it is supplied without the express written authority of © IAE International Aero Engines AG. (This does not preclude use by engine and aircraft operators for normal instructional, maintenance or overhaul purposes.).Applicability
All
Common Information
TASK 72-41-10-200-001-A00 HPC Rotor Assembly - Examine The Stage 3 To 12 Disk Assembly, Inspection-001
General
This TASK defines the Special Procedure to examine the HP rotor assembly when no further disassembly is required.
Preliminary Requirements
Pre-Conditions
NONESupport Equipment
NONEConsumables, Materials and Expendables
NONESpares
NONESafety Requirements
NONEProcedure
Do the Step again around the remaining adjacent rotor blades inserting feeler gage where possible.
Repair VRS6236, TASK 72-41-15-300-035 (REPAIR-035)
If more than in Step
Examine the stage 3 blade assembly, porcupine check at zone B.
Replace the damaged blades. Refer to Repair VRS6523, TASK 72-00-41-300-005 (REPAIR-005)
More than Step
Nicked and torn blades quantity.
Replace the damaged blades. Refer to Repair VRS6523, TASK 72-00-41-300-005 (REPAIR-005)
In the limits given in Repair VRS6523
More than Step
Cracked.
Repair VRS6524, TASK 72-00-41-300-004 (REPAIR-004)
If more than Step and in the limits given in Repair VRS6524
Replace the damaged blades. Refer to Repair VRS6523, TASK 72-00-41-300-005 (REPAIR-005)
If more than the limits given in Repair VRS6524 and in the limits given in Repair VRS6523
Nicked or torn.
Repair VRS6524, TASK 72-00-41-300-004 (REPAIR-004)
More than Step
Eroded.
Zone A.
Replace the damaged blades. Refer to Repair VRS6523, TASK 72-00-41-300-005 (REPAIR-005)
In the limits given in Repair VRS6523
More than Step
Nicked, cracked or torn.
Zone B.
Replace the damaged blades. Refer to Repair VRS6523, TASK 72-00-41-300-005 (REPAIR-005)
In the limits given in Repair VRS6523
More than Step
Less than 50 percent clapper face contact abutment area E.
Replace the damaged blades. Refer to Repair VRS6523, TASK 72-00-41-300-005 (REPAIR-005)
In the limits given in Repair VRS6523
More than Step
Clapper overlap C.
Replace the damaged blades. Refer to Repair VRS6523, TASK 72-00-41-300-005 (REPAIR-005)
In the limits given in Repair VRS6523
More than Step
Clapper face irregular wear B and C.
Clapper face contact.
Replace the damaged blades. Refer to Repair VRS6523, TASK 72-00-41-300-005 (REPAIR-005)
In the limits given in Repair VRS6523
More than Step
Chipped.
Clapper hard coating at B and C.
Replace the damaged blades. Refer to Repair VRS6523, TASK 72-00-41-300-005 (REPAIR-005)
In the limits given in Repair VRS6523
More than Step
Cracked.
Repair VRS6524, TASK 72-00-41-300-004 (REPAIR-004)
If more than Step and in the limits given in Repair VRS6524
Replace the damaged blades. Refer to Repair VRS6523, TASK 72-00-41-300-005 (REPAIR-005)
If more than the limits given in VRS6524 and in the limits given in VRS6523
Nicked or torn.
Repair VRS6524, TASK 72-00-41-300-004 (REPAIR-004)
More than Step
Eroded.
Zone C.
Replace the damaged blades. Refer to Repair VRS6523, TASK 72-00-41-300-005 (REPAIR-005)
In the limits given in Repair VRS6523
More than Step
Nicked, cracked, dented or torn.
Zone D.
Replace the damaged blades. Refer to Repair VRS6523, TASK 72-00-41-300-005 (REPAIR-005)
In the limits given in Repair VRS6523
More than Step
Missing piece or cracked.
Replace the damaged blades. Refer to Repair VRS6523, TASK 72-00-41-300-005 (REPAIR-005)
In the limits given in Repair VRS6523
More than Step
Discoloration (related to tip rub).
Blade tips.
SUBTASK 72-41-10-220-101 Examine the Stage 3 HP Compressor Rotor Blades
Replace the damaged blades. Refer to Repair VRS6523, TASK 72-00-41-300-005 (REPAIR-005)
More than Step
Stage 4.
Replace the damaged blades. Refer to Repair VRS6523, TASK 72-00-41-300-005 (REPAIR-005)
More than Step
Stage 5.
Nicked and torn blades quantity.
Replace the damaged blades. Refer to Repair VRS6523, TASK 72-00-41-300-005 (REPAIR-005)
In the limits given in Repair VRS6523
More than Step
Cracked.
Repair VRS6524 TASK 72-00-41-300-004 (REPAIR-004)
If more than Step and in the limits given in Repair VRS6524
Replace the damaged blades. Refer to Repair VRS6523, TASK 72-00-41-300-005 (REPAIR-005)
If more than the limits given in Repair VRS6524 and in the limits in VRS6523
Nicked or torn.
Repair VRS6524, TASK 72-00-41-300-004 (REPAIR-004)
More than Step
Eroded.
Zone A - stage 4 and stage 5 rotor blades.
Replace the damaged blades. Refer to Repair VRS6523, TASK 72-00-41-300-005 (REPAIR-005)
In the limits given in Repair VRS6523
More than Step
Cracked.
Repair VRS6524, TASK 72-00-41-300-004 (REPAIR-004)
If more than Step and in the limits given in Repair VRS6524
Replace the damaged blades. Refer to Repair VRS6523, TASK 72-00-41-300-005 (REPAIR-005)
If more than the limits given in Repair VRS6524 and in the limits given in Repair VRS6523
Nicked or torn.
Repair VRS6524, TASK 72-00-41-300-004 (REPAIR-004)
More than Step
Eroded.
Zone B - stage 4 and stage 5 rotor blades.
Replace the damaged blades. Refer to Repair VRS6523, TASK 72-00-41-300-005 (REPAIR-005)
In the limits given in Repair VRS6523
More than Step
Nicked, cracked, dented or torn.
Zone C - stage 4 and stage 5 rotor blades.
Replace the damaged blades. Refer to Repair VRS6523, TASK 72-00-41-300-005 (REPAIR-005)
In the limits given in Repair VRS6523
More than Step
Missing piece or cracked.
Replace the damaged blades. Refer to Repair VRS6523, TASK 72-00-41-300-005 (REPAIR-005)
In the limits given in Repair VRS6523
More than Step
Discoloration (related to tip rub).
Replace the damaged blades. Refer to Repair VRS6523, TASK 72-00-41-300-005 (REPAIR-005)
In the limits given in Repair VRS6523
More than Step
Bent or curled (not related to cracks or tears) not more than five percent of dimension X or Y.
Replace the damaged blades. Refer to Repair VRS6523, TASK 72-00-41-300-005 (REPAIR-005)
In the limits given in Repair VRS6523
More than Step
Tip rub.
Blade tips - stage 4 rotor blades.
Replace the damaged blades. Refer to Repair VRS6523, TASK 72-00-41-300-005 (REPAIR-005)
In the limits given in Repair VRS6523
More than Step
Missing piece or cracked.
Blade tips - stage 5 rotor blades.
SUBTASK 72-41-10-220-103 Examine the Stage 4 and Stage 5 HP Compressor Rotor Blades
More than Step
Cracked, nicked or torn.
Zone A.
Replace the damaged blades. Refer to Repair VRS6523, TASK 72-00-41-300-005 (REPAIR-005)
In the limits given in Repair VRS6523
More than Step
Cracked, nicked or torn.
Zone B.
Replace the damaged blades. Refer to Repair VRS6523, TASK 72-00-41-300-005 (REPAIR-005)
In the limits given in Repair VRS6523
More than Step
Nicked, cracked, dented or torn.
Zone C.
Replace the damaged blades. Refer to Repair VRS6523, TASK 72-00-41-300-005 (REPAIR-005)
In the limits given in Repair VRS6523
More than Step
Missing piece or cracked.
Blade tips - stage 6 rotor blades.
SUBTASK 72-41-10-220-107 Examine the Stage 6 HP Compressor Rotor Blades
Replace the damaged blades. Refer to Repair VRS6523, TASK 72-00-41-300-005 (REPAIR-005)
More than Step
Stage 7.
Replace the damaged blades. Refer to Repair VRS6523, TASK 72-00-41-300-005 (REPAIR-005)
More than Step
Stage 8.
Replace the damaged blades. Refer to Repair VRS6523, TASK 72-00-41-300-005 (REPAIR-005)
More than Step
Stage 9.
Replace the damaged blades. Refer to Repair VRS6523, TASK 72-00-41-300-005 (REPAIR-005)
More than Step
Stage 10.
Replace the damaged blades. Refer to Repair VRS6523, TASK 72-00-41-300-005 (REPAIR-005)
More than Step
Stage 11.
Replace the damaged blades. Refer to Repair VRS6523, TASK 72-00-41-300-005 (REPAIR-005)
More than Step
Stage 12.
Nicked and torn blades quantity.
Replace the damaged blades. Refer to Repair VRS6523, TASK 72-00-41-300-005 (REPAIR-005)
In the limits given in Repair VRS6523
More than Step
Cracked.
Repair VRS6524, TASK 72-00-41-300-004 (REPAIR-004)
If more than Step and in the limits given in Repair VRS6524
Replace the damaged blades. Refer to Repair VRS6523, TASK 72-00-41-300-005 (REPAIR-005)
If more than the limits given in Repair VRS6524 and in the limits given in VRS6523
Nicked and torn.
Repair VRS6524, TASK 72-00-41-300-004 (REPAIR-004)
More than Step
Eroded.
Zone A - stage 7 to stage 12 rotor blades.
Replace the damaged blades. Refer to Repair VRS6523, TASK 72-00-41-300-005 (REPAIR-005)
In the limits given in Repair VRS6523
More than Step
Cracked.
Repair VRS6524, TASK 72-00-41-300-004 (REPAIR-004)
If more than Step and in the limits given in VRS6524
Replace the damaged blades. Refer to Repair VRS6523, TASK 72-00-41-300-005 (REPAIR-005)
If more than the limits given in Repair VRS6524 and in the limits given in VRS6523
Nicked and torn.
Repair VRS6524, TASK 72-00-41-300-004 (REPAIR-004)
If more than Step
Eroded.
Zone B - stage 7 to stage 12 rotor blades.
Replace the damaged blades. Refer to Repair VRS6523, TASK 72-00-41-300-005 (REPAIR-005)
In the limits given in VRS6523
More than Step
Nicked, cracked, dented or torn.
Zone C - stage 7 to stage 12 rotor blades.
Replace the damaged blades. Refer to Repair VRS6523, TASK 72-00-41-300-005 (REPAIR-005)
In the limits given in VRS6523
More than Step
Missing piece or cracked.
Blade tips.
SUBTASK 72-41-10-220-104 Examine the Stage 7 to Stage 12 HP Compressor Rotor Blades
Figure: HP Compressor Blades
Sheet 1

Figure: HP Compressor Blades
Sheet 2

Figure: HP Compressor Blades
Sheet 3

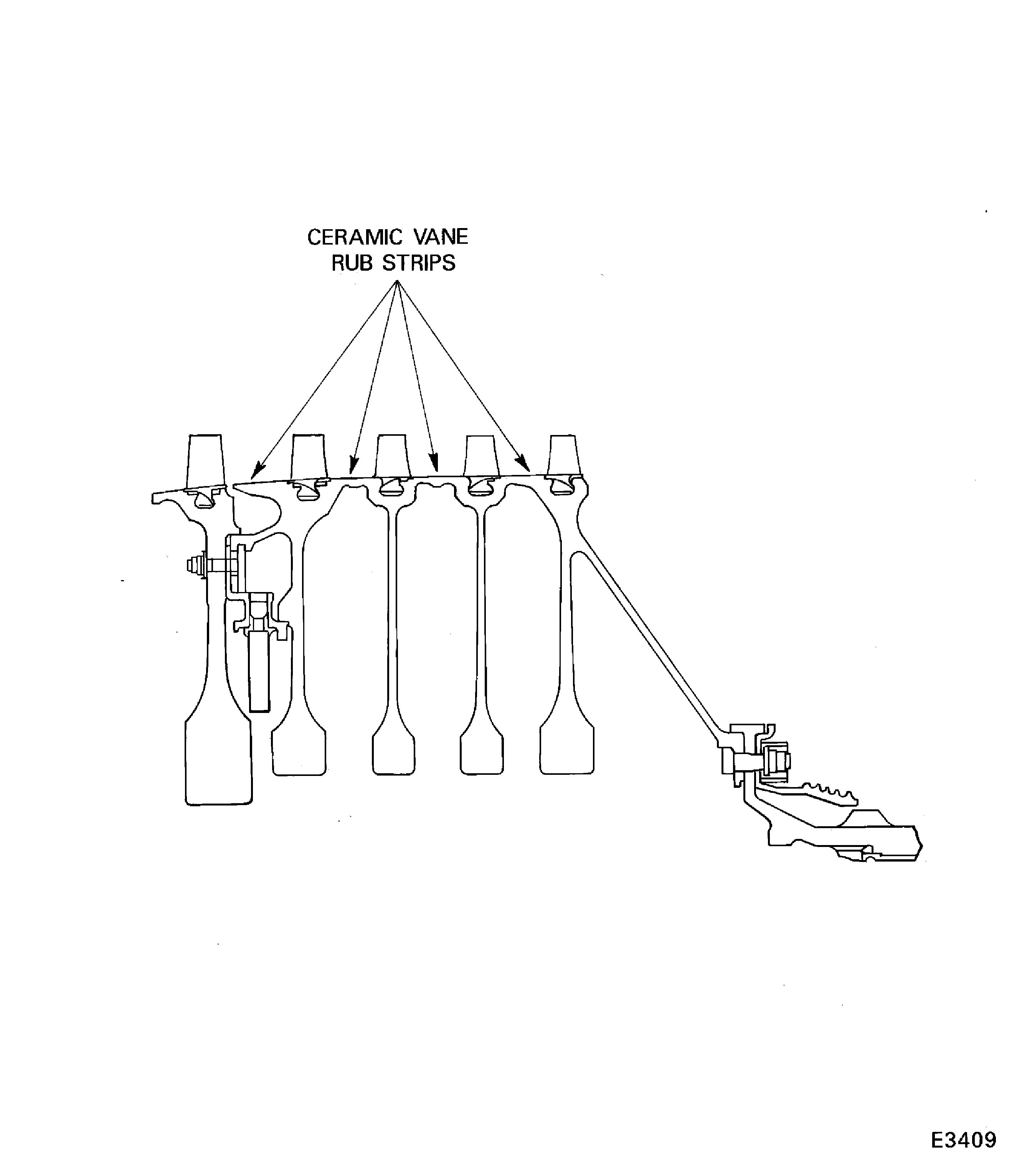
Figure: Stages 8, 9, 10 and 11 Ceramic Vane Rub Strips
Stages 8, 9, 10 and 11 Ceramic Vane Rub Strips

