Export Control
EAR Export Classification: Not subject to the EAR per 15 C.F.R. Chapter 1, Part 734.3(b)(3), except for the following Service Bulletins which are currently published as EAR Export Classification 9E991: SBE70-0992, SBE72-0483, SBE72-0580, SBE72-0588, SBE72-0640, SBE73-0209, SBE80-0024 and SBE80-0025.Copyright
© IAE International Aero Engines AG (2001, 2014 - 2021) The information contained in this document is the property of © IAE International Aero Engines AG and may not be copied or used for any purpose other than that for which it is supplied without the express written authority of © IAE International Aero Engines AG. (This does not preclude use by engine and aircraft operators for normal instructional, maintenance or overhaul purposes.).Applicability
All
Common Information
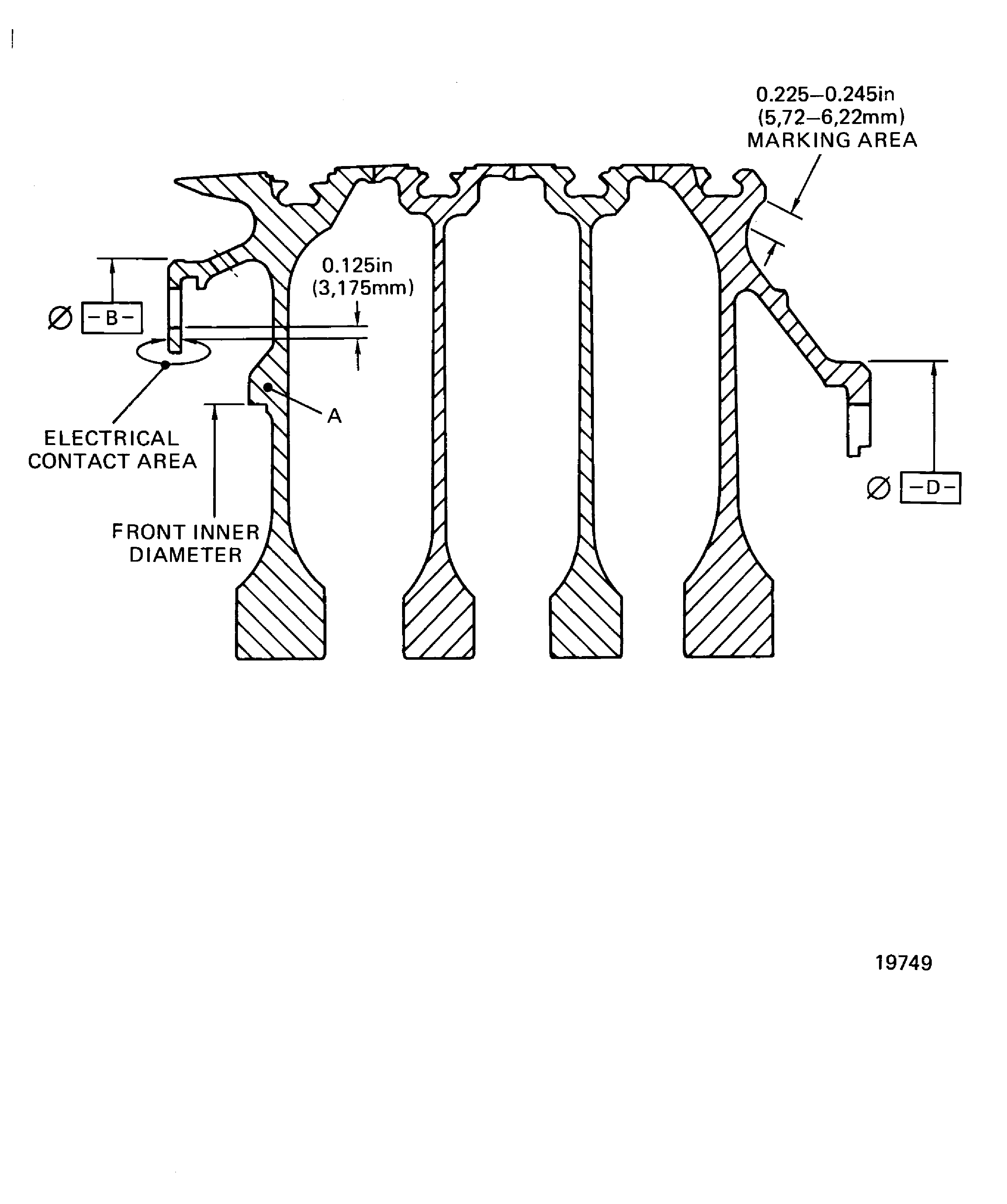
TASK 72-41-12-300-011 HPC Stage 9 - 12 Drum Disk - Repair The Front Inner Diameter Coating, Repair-011 (VRS3443)
Effectivity
FIG/ITEM | PART NO. |
|---|---|
01-600 | 2A2100-01 |
01-600 | 2A2200-01 |
01-600 | 2A2600-01 |
01-600 | 2A3200-01 |
01-600 | 2A3300-01 |
01-600 | 2A3400-01 |
01-600 | 2A3500-01 |
General
The practices and processes referred to in the procedure by TASK number are in the SPM.
Price and availability - none
NOTE
NOTE
Preliminary Requirements
Pre-Conditions
NONESupport Equipment
| Name | Manufacturer | Part Number / Identification | Quantity | Remark |
|---|---|---|---|---|
| Workshop inspection equipment | LOCAL | Workshop inspection equipment | ||
| Grinding machine | LOCAL | Grinding machine | ||
| Magnifying glass, 7x | LOCAL | Magnifying glass, 7x | ||
| IAE 3P16263 Machine fixture | 0AM53 | IAE 3P16263 | 1 |
Consumables, Materials and Expendables
| Name | Manufacturer | Part Number / Identification | Quantity | Remark |
|---|---|---|---|---|
| CoMat 02-097 LINT-FREE GLOVES | LOCAL | CoMat 02-097 | ||
| CoMat 03-089 METAL SPRAYING POWDER Ni/Al (95/5) | 00741 | CoMat 03-089 | ||
| CoMat 03-090 METAL SPRAYING POWDER Ni/Al (95/5) | 0AM53 | CoMat 03-090 | ||
| CoMat 05-032 CAST STEEL SHOT, S170 | 42736 | CoMat 05-032 | ||
| CoMat 05-033 CAST STEEL SHOT DELETED | 0AM53 | CoMat 05-033 | ||
| CoMat 05-034 CAST STEEL SHOT DELETED | 0AM53 | CoMat 05-034 | ||
| CoMat 05-027 ALUMINUM OXIDE ABRASIVEGRIT DELETED | 0AM53 | CoMat 05-027 | ||
| CoMat 05-049 ALUMINUM OXIDE GRIT DELETED | 0AM53 | CoMat 05-049 |
Spares
NONESafety Requirements
NONEProcedure
Refer to Figure.
Examine the front inner diameter.
SUBTASK 72-41-12-220-059 Do the Pre Repair Inspection
Install the disk assembly in the IAE 3P16263 Machine fixture 1 off.
Set-up and machine the front inner diameter to between 12.518 and 12.530 in. (317.96 and 318.26 mm). Hold to the minimum diameter.
SUBTASK 72-41-12-320-051 Machine the Front Inner Diameter
Do the penetrant procedure given in the SPM TASK 70-23-04-230-501 (dip or spray).
No cracks permitted.
Refer to Figure.
Do a penetrant test on the front inner diameter.
SUBTASK 72-41-12-230-054 Do a Crack Test on the Front Inner Diameter
Refer to Figure.
Do the procedure given in the SPM TASK 70-38-13-380-501.
Use CoMat 05-032 CAST STEEL SHOT, S170, CoMat 05-033 CAST STEEL SHOT DELETED and CoMat 05-034 CAST STEEL SHOT DELETED with a hardness of 45-55 HRC or equivalent.
Shot peen the front inner diameter to an intensity of 4A to 6A (No masking permitted when you do the shot peen).
SUBTASK 72-41-12-380-051 Shot Peen the Front Inner Diameter
Refer to Figure.
Do the procedure given in the SPM TASK 70-11-03-300-503 or SPM TASK 70-11-01-300-503.
After the cleaning, handle the part with clean CoMat 02-097 LINT-FREE GLOVES.
Wipe remaining solvent from the part with a clean lint free cloth.
Moderately clean or vapor degrease the disk assembly.
Refer to Figure.
Mask the areas given in the Figure.
This also includes the radius adjacent to the front inner diameter. Do the procedure given in the SPM TASK 70-38-24-300-503.
Mask the disk assembly.
Refer to Figure.
Grit blast the repair area to get a constant rough surface.
Do the procedure given in the SPM TASK 70-12-09-120-501.
Grit blast the repair area.
Refer to Figure.
Apply the plasma spray to a sufficient thickness which will permit the final machining of the 12.510 to 12.512 in. (317.754 to 317.804 mm) diameter.
The maximum thickness of plasma spray to be applied is 0.015 in. (0.381 mm).
Do the procedure given in the SPM TASK 70-34-03-340-501.
No overspray permitted.
Plasma spray the front inner diameter.
SUBTASK 72-41-12-340-051 Plasma Spray the Front Inner Diameter
Refer to Figure.
Use a 7X magnification glass or less.
Visually examine the coated area for chips, cracks, lifted material and coating that is not attached to the base metal. Surfaces that show heat cracks are not acceptable.
SUBTASK 72-41-12-220-060 Examine the Repair
Refer to Figure.
Make a permanent mark by the procedures given in the SPM TASK 70-09-00-400-501.
Use the shallow etch method.
See the Figure for the electrical contact area.
No burning, pitting or selective attack permitted from the electrical contact.
Make a beehive symbol mark with the letters PS inside the beehive and mark VRS3443 adjacent to the part number.
SUBTASK 72-41-12-350-052 Identify the Repair
Figure: Stages 9 - 12 HP compressor disk repair locations
Stages 9 - 12 HP compressor disk repair locations

Figure: Stages 9 - 12 HP compressor disk repair locations
Stages 9 - 12 HP compressor disk repair locations

Figure: Stages 9 - 12 HP compressor disk repair locations
Stages 9 - 12 HP compressor disk repair locations

