Export Control
EAR Export Classification: Not subject to the EAR per 15 C.F.R. Chapter 1, Part 734.3(b)(3), except for the following Service Bulletins which are currently published as EAR Export Classification 9E991: SBE70-0992, SBE72-0483, SBE72-0580, SBE72-0588, SBE72-0640, SBE73-0209, SBE80-0024 and SBE80-0025.Copyright
© IAE International Aero Engines AG (2001, 2014 - 2021) The information contained in this document is the property of © IAE International Aero Engines AG and may not be copied or used for any purpose other than that for which it is supplied without the express written authority of © IAE International Aero Engines AG. (This does not preclude use by engine and aircraft operators for normal instructional, maintenance or overhaul purposes.).Applicability
All
Common Information
TASK 72-41-12-300-015 HPC Stage 9 - 12 Drum Disk - Repair The Stage 8 to 11 Linings By Replacement, Repair-015 (VRS6008)
Material of component
PART IDENT | SYMBOL | MATERIAL |
|---|---|---|
HP compressor stage 9-12 disk shaft assembly | QZD | Inconel 718 nickel base alloy |
General
This repair must only be done when the instruction to do so is given in 72-41-12 Inspection (INSPECTION). This repair replaces the stage 8 to 11 linings on the HP compressor stage 9 to 12 disks shaft assembly.
Pre SBE 72-0347
If the Stage 8 to 11 linings are to be replaced, on Pre SBE 72-0347 parts, you must do SBE 72-0347 in full and re-number accordingly in accordance with SBE 72-0347.
The practices and processes referred to in the procedure by the TASK/SUBTASK numbers are in the SPM. This is a Source Demonstration Repair that can only be done by approved vendors.
Price and availability
Refer to International Aero Engines.
NOTE
NOTE
Preliminary Requirements
Pre-Conditions
NONESupport Equipment
NONEConsumables, Materials and Expendables
| Name | Manufacturer | Part Number / Identification | Quantity | Remark |
|---|---|---|---|---|
| CoMat 01-025 NITRIC ACID HNO3, TECHNICAL GRADE | LOCAL | CoMat 01-025 | ||
| CoMat 02-198 ADHESIVE TAPE (MASKING METAL SPRAY) | LOCAL | CoMat 02-198 | ||
| CoMat 03-037 METAL SPRAYING POWDER,Ni Al | 08662 | CoMat 03-037 | ||
| CoMat 03-043 METAL SPRAYING POWDER,Al OXIDE | LOCAL | CoMat 03-043 | ||
| CoMat 03-416 METAL SPRAYING POWDERNi, Al (95/5) | LOCAL | CoMat 03-416 | ||
| CoMat 05-001 ABRASIVE MEDIUM, ALUMINIUM OXIDE, 20/30 GRADE | LOCAL | CoMat 05-001 |
Spares
NONESafety Requirements
NONEProcedure
The designation by IAE of an authorised repair vendor indicates that the repair vendor has demonstrated the necessary capability to enable it to carry out the listed repair work.However, IAE makes no warranties or representations concerning the qualification or quality standards of the repair vendors to carry out the repair work and accepts no responsibility whatsoever for any work that may be carried out by a repair vendor other than when IAE is listed as the repair vendor. Authorised repair vendors do not act as agents or representatives of IAE.
Authorised repair vendors for Repair VRS6008 are listed below:
GENERAL PLASMA INC.
12 THOMPSON ROAD,
EAST WINDSOR, CT 06088
ATTN. DIRECTOR, QUALITY ASSURANCE
MTU MAINTENANCE GMBH
FLUGHAFEN HANNOVER
MUNCHNER STRASSE 31
POSTFACH 1720
D3012 LANGENHAGEN
GERMANY
ATTN. MANAGER, QUALITY ASSURANCE
ROLLS-ROYCE PLC
AERO, REPAIR AND OVERHAUL
MAVOR AVENUE
NERSTON
EAST KILBRIDE
GLASGOW
G74 4PY
SCOTLAND
ATTN. BUSINESS MANAGER, COMPONENT REFURBISHMENT
MTU MAINTENANCE ZHUHAI CO. LTD
NO. 1 TIANKE ROAD
FREE TRADE ZONE
ZHUHAI, GUANGDONG
PC: 519030 P.R.CHINA
ATTN. MANAGER, PARTS REPAIR
CHRISTCHURCH ENGINE CENTRE-CHCEC
634 MEMORIAL AVENUE
CHRISTCHURCH INTERNATIONAL AIRPORT
CHRISTCHURCH
NEW ZEALAND
IHI Corporation
229 Tonogaya, Mizuho-Machi
Nishitama-gun
Tokyo 190-1297
JAPAN
Lufthansa Technik AG
HAM WR 420
PO Box 63 03 00
D-22313 Hamburg-Airport
Germany
Rolls-Royce Inchinnan
Inchinnan Drive
Inchinnan Business Park
Inchinnan, PA4 9AF
Scotland
The Source Demonstration requirements of this repair means that any facility not authorised to accomplish this repair, either utilise the Authorised Repair Vendors listed below or contact the IAE Repair Services Group to determine if a qualification program can be initiated at their facility
IAE International Aero Engines AG
400 Main Street
M/S 121-10
East Hartford CT 06118
USA
Attn: Manager Technical Services
Repair Facilities
Refer to TASK 72-41-12-100-000 (CLEANING-000).
Use chemical cleaning equipment.
Chemically clean.
SUBTASK 72-41-12-110-061 Clean the Assembly

CAUTION
REMOVE THE TOP COAT ONLY. THE BLAST OPERATION MUST STOP WHEN THE WHITE TOP COAT IS REMOVED. FAILURE TO STOP THE BLAST OPERATION AS SPECIFIED CAN RESULT IN SUBSEQUENT ENGINE FAILURE.NOTE
It is permitted to loosen the top coat lining in part, to allow the Nitric Acid by capillary action, to release both top and bond coats at each stage.Refer to Figure.
Use CoMat 02-198 ADHESIVE TAPE (MASKING METAL SPRAY) or equivalent masking listed in the SPM TASK 70-34-18-380-501 or refer to Step. Repair Facilities for approved vendor tools.
Seal all surfaces not to be blasted.
Refer to the SPM TASK 70-12-02-120-501.
Lightly dry blast to loosen the top coat lining at each stage.
SUBTASK 72-41-12-120-053-A00 Loosen the Top Coat Lining at Each Stage, Assembly A

CAUTION
REMOVE THE TOP COAT ONLY. THE BLAST OPERATION MUST STOP WHEN THE WHITE TOP COAT IS REMOVED. FAILURE TO STOP THE BLAST OPERATION AS SPECIFIED MAY RESULT IN SUBSEQUENT ENGINE FAILURE.NOTE
It is permitted to loosen the top coat lining in part, to allow the Nitric Acid by capillary action, to release both top and bond coats at each stage for chemical strip step. This step is optional when using water jet to remove linings.Refer to Figure.
Use CoMat 02-198 ADHESIVE TAPE (MASKING METAL SPRAY) or equivalent masking listed in the SPM TASK 70-34-18-380-501 or refer to Step. Repair facilities for approved vendor tools.
Seal all surfaces not to be blasted.
Refer to the SPM TASK 70-12-02-120-501.
Lightly dry blast to loosen top coat lining at each stage.
SUBTASK 72-41-12-120-053-B00 Loosen the Top Coat Lining at Each Stage, Assembly B
Refer to the SPM TASK 70-33-59-300-503.
Use CoMat 01-025 NITRIC ACID HNO3, TECHNICAL GRADE. Put the assembly into nitric acid solution and keep below surface until bubbles stop.
Remove the lining at each stage.
SUBTASK 72-41-12-330-052-A00 Chemically Remove the Linings at Each Stage, Assembly A
Waterjet blasting permitted in areas labeled AZ only.
Blasting outside of repair area is not allowed.
Hard mask required in areas labeled AG.
Refer to SPM TASK 70-15-01-160-501.
Make sure the liner is completely removed.
0.0005 in. (0.0127 mm) maximum erosion from waterjet allowed.
Overspray permitted in areas labeled AJ.
Remove the abradable lining.
Remove the lining at each stage by high pressure water blasting.
NOTE
This is a source demonstration processes which can only be done by approved vendors.NOTE
This method is applicable to PNs 6A7546 only.NOTE
This step is an alternative to Step.
SUBTASK 72-41-12-350-178-B00-001 Remove the Linings at Each Stage by Water Jet, Assembly B (PN 6A7546 only)
Refer to the SPM TASK 70-33-59-300-503.
Use CoMat 01-025 NITRIC ACID HNO3, TECHNICAL GRADE. Put the assembly into nitric acid solution and keep below surface until bubbles stop.
Remove the lining at each stage.
SUBTASK 72-41-12-330-052-B00-002 Chemically Remove the Linings at Each Stage, Assembly B
Refer to the SPM TASK 70-23-04-230-501.
No cracks allowed, reject part if found.
Do a penetrant crack test.
SUBTASK 72-41-12-230-061 Do a Crack Test
Refer to Figure.
NOTE
The adhesive tape (metal masking spray) permits the blasting and sprayed coating to be done in one operation.Use CoMat 02-198 ADHESIVE TAPE (MASKING METAL SPRAY) or equivalent tape listed in the SPM TASK 70-34-18-380-501.
Alternatively refer to step 4. Repair Facilities for approved vendor tools.
Seal applicable surfaces.
SUBTASK 72-41-12-350-064-A00 Seal all Surfaces not to be Repaired, Assembly A
Refer to Figure.
NOTE
The adhesive tape (metal masking spray) permits the blasting and sprayed coating to be done in one operation.Use CoMat 02-198 ADHESIVE TAPE (MASKING METAL SPRAY) or equivalent masking in the SPM TASK 70-34-18-380-501.
Alternatively refer to 4. Repair Facilities for approved vendor tools.
Seal applicable surfaces.
SUBTASK 72-41-12-350-064-B00 Seal all Surfaces not to be Repaired, Assembly B
Refer to the SPM TASK 70-12-02-120-501.

CAUTION
DO NOT TOUCH SURFACE(S) TO BE REPAIRED AFTER THEY ARE CLEANED.
CAUTION
TOO MUCH ABRASIVE BLAST CAN CAUSE DETERIORATION OF THE PREPARED SURFACE CONDITION AND MUST BE PREVENTED.Lightly dry blast to prepare surfaces for the lining.
SUBTASK 72-41-12-120-054 Prepare Surfaces for Repair
Refer to SPM TASK 70-34-01-340-501, SUBTASK 70-34-01-340-007 or SUBTASK 70-34-01-340-025.
Apply a thickness of 0.0080 to 0.0100 in. (0.203 to 0.254 mm).
NOTE
Pre SBE 72-0347.If the stage 8 to 11 linings are to be replaced, on Pre SBE 72-0347 parts, you must do SBE 72-0347 in full and re-number accordingly in accordance with SBE 72-0347.Apply the bond coat at each stage.
Refer to TASK SPM TASK 70-34-01-340-501, SUBTASK 70-34-01-340-013.
Apply a layer of sufficient thickness to get the correct dimensions after assembly is machined.
Apply the top coat at each stage.
SUBTASK 72-41-12-340-054-A00 Apply the New Linings, Assembly A
Refer to the SPM TASK 70-34-01-340-501 SUBTASK 70-34-01-340-007 or SUBTASK 70-34-01-340-025.
Apply a thickness of 0.008 to 0.010 in. (0.203 to 0.254 mm).
NOTE
Pre SBE 72-0347.If the stage 8 to 11 linings are to be replaced, on Pre SBE 72-0347 parts, you must do SBE 72-0347 in full and re-number accordingly in accordance with SBE 72-0347.Apply the bond coat at each stage.
Refer to the SPM TASK 70-34-01-340-501 SUBTASK 70-34-01-340-013.
Apply a layer of sufficient thickness to get the correct dimensions after assembly is machined.
Apply the top coat at each stage.
SUBTASK 72-41-12-340-054-B00 Apply the new Linings, Assembly B
Refer to the SPM TASK 70-34-01-340-501, SUBTASK 70-34-01-340-002.
Visually examine the new linings.
SUBTASK 72-41-12-220-088 Visually Examine
Refer to Step. Repair Facilities for approved vendor tools.
Set up the disk assembly to be machined.
SUBTASK 72-41-12-325-051-A00 Machine the Linings, Assembly A
Refer to the SPM TASK 70-34-01-340-501, SUBTASK 70-34-01-340-002.
Visually examine repaired area.
SUBTASK 72-41-12-220-089-A00 Visually and Dimensionally Examine the Repair, Assembly A
Refer to the SPM TASK 70-34-01-340-501, SUBTASK 70-34-01-340-002.
Visually examine repaired area.
SUBTASK 72-41-12-220-089-B00 Visually and Dimensionally Examine the Repair, Assembly B
Refer to TASK 72-41-00-100-000.
Chemically clean.
SUBTASK 72-41-12-110-062 Clean the Assembly
Refer to Figure.
Refer to the SPM TASK 70-09-00-400-501, SUBTASK 70-09-00-400-001.
NOTE
Pre SBE 72-0347.If the stage 8 to 11 linings are to be replaced, on Pre SBE 72-0347 parts, you must do SBE 72-0347 in full and re-number accordingly in accordance with SBE 72-0347.Vibro-engrave VRS6008 adjacent to the part number.
SUBTASK 72-41-12-350-066 Identify the Repair
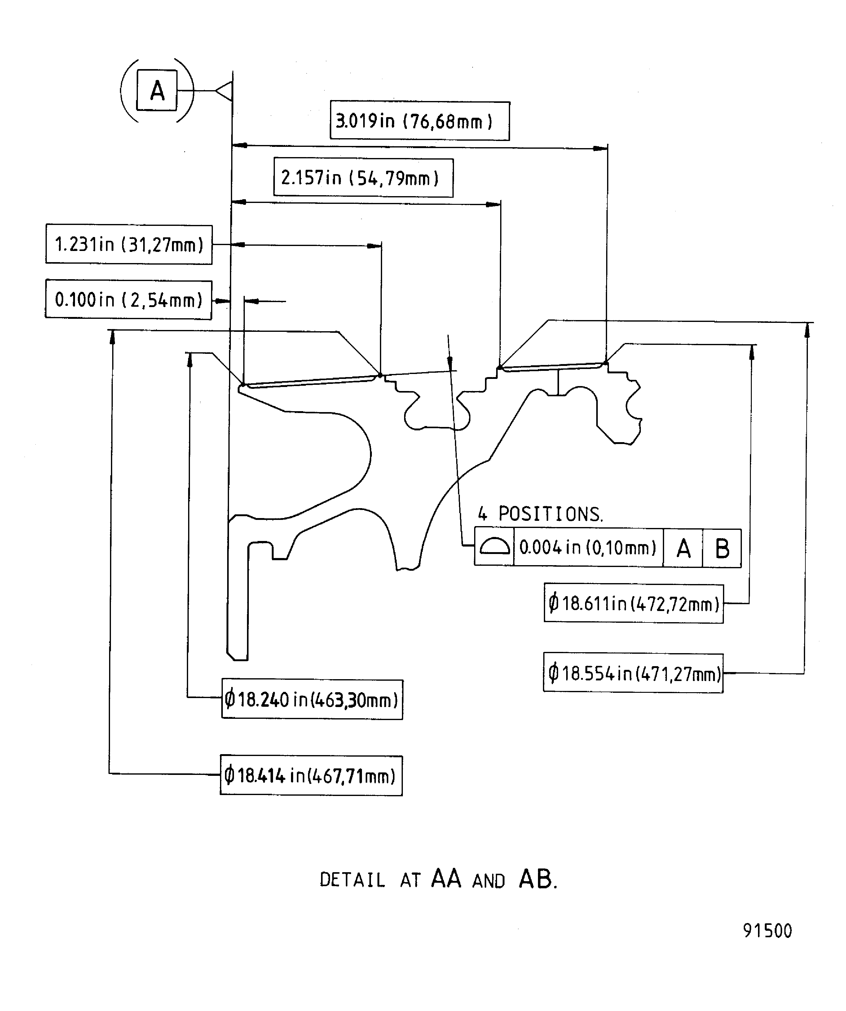
Figure: Repair details and dimensions - Assy A
Repair details and dimensions - Assy A

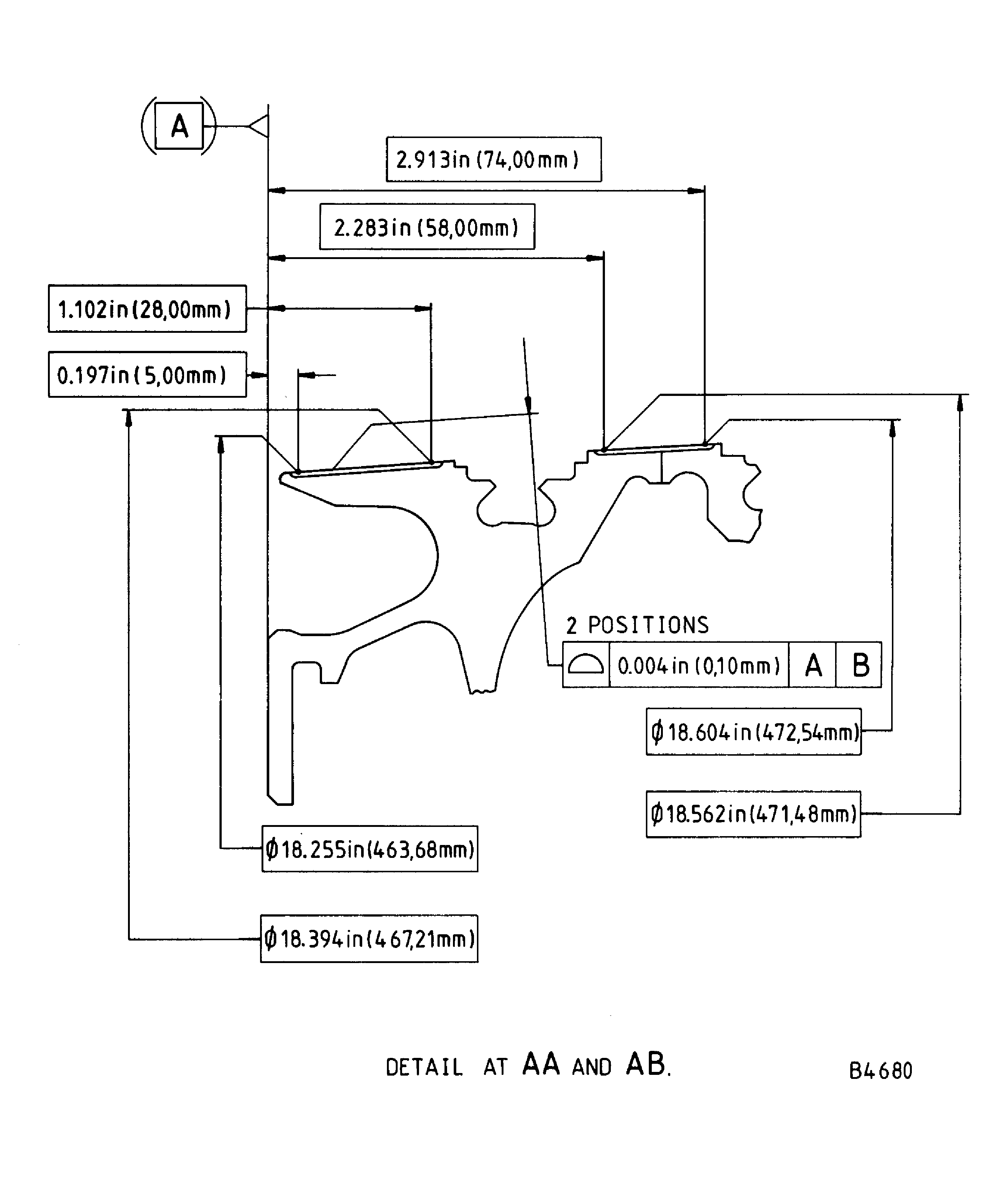
Figure: Repair details and dimensions Assy B
Repair details and dimensions Assy B

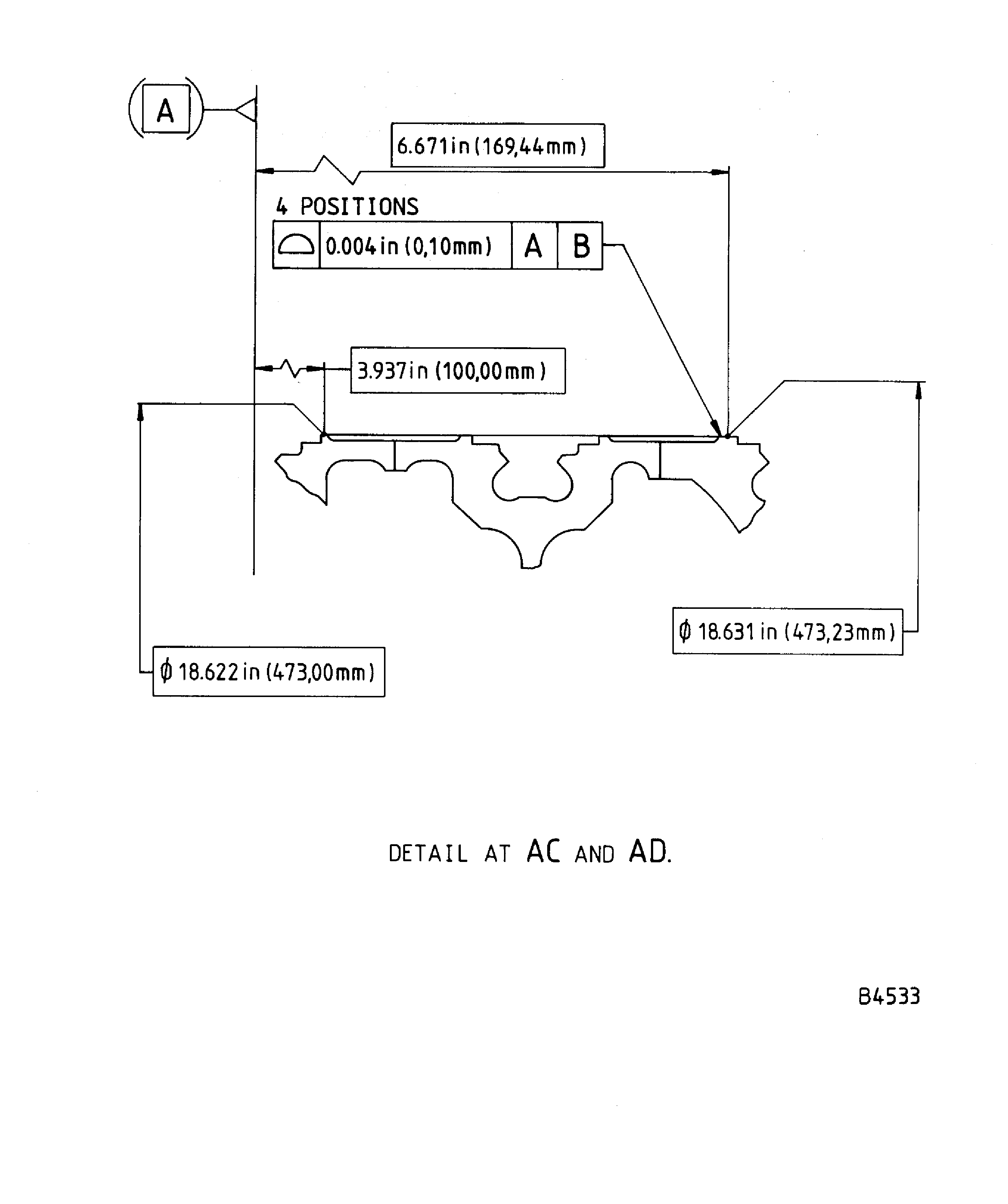
Figure: Repair details and dimensions - Assy A and Assy B
Repair details and dimensions - Assy A and Assy B

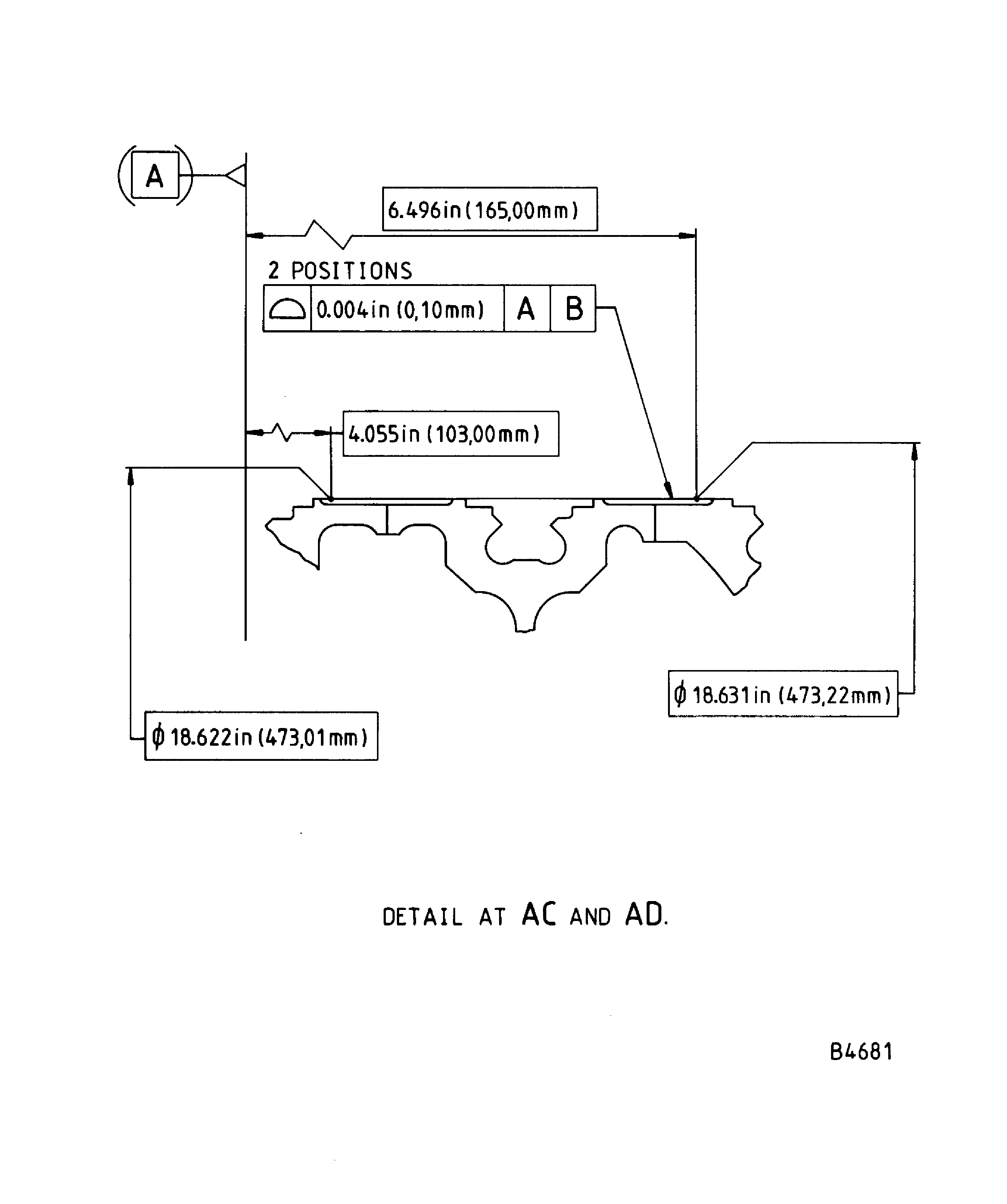
Figure: Repair details and dimensions - Assy A and Assy B
Repair details and dimensions - Assy A and Assy B

Figure: Repair details and dimensions - Assy A
Repair details and dimensions - Assy A

Figure: Repair details and dimensions - Assy B
Repair details and dimensions - Assy B

Figure: Repair details and dimensions - Assy A
Repair details and dimensions - Assy A

Figure: Repair details and dimensions - Assy B
Repair details and dimensions - Assy B

Figure: Repair details and dimensions - Assy A and Assy B
Repair details and dimensions - Assy A and Assy B

Figure: Repair details and dimensions - Assy A
Repair details and dimensions - Assy A

Figure: Repair details and dimensions - Assy A
Repair details and dimensions - Assy A

Figure: Repair details and dimensions - Assy A
Repair details and dimensions - Assy A

Figure: Repair details and dimensions - Assy A and Assy B
Repair details and dimensions - Assy A and Assy B

