Export Control
EAR Export Classification: Not subject to the EAR per 15 C.F.R. Chapter 1, Part 734.3(b)(3), except for the following Service Bulletins which are currently published as EAR Export Classification 9E991: SBE70-0992, SBE72-0483, SBE72-0580, SBE72-0588, SBE72-0640, SBE73-0209, SBE80-0024 and SBE80-0025.Copyright
© IAE International Aero Engines AG (2001, 2014 - 2021) The information contained in this document is the property of © IAE International Aero Engines AG and may not be copied or used for any purpose other than that for which it is supplied without the express written authority of © IAE International Aero Engines AG. (This does not preclude use by engine and aircraft operators for normal instructional, maintenance or overhaul purposes.).Applicability
All
Common Information
TASK 72-41-13-300-011 HPC Rear Shaft - Repair The Knife-Edge Seal Mating Diameter By Plasma Spray, Repair-011(VRS3450)
General
Price and availability - refer to IAE
The practices and processes referred to in this procedure by TASK numbers are in the SPM.
NOTE
Preliminary Requirements
Pre-Conditions
NONESupport Equipment
| Name | Manufacturer | Part Number / Identification | Quantity | Remark |
|---|---|---|---|---|
| Grit blast equipment | LOCAL | Grit blast equipment | ||
| Machining equipment | LOCAL | Machining equipment | ||
| Plasma spray equipment | LOCAL | Plasma spray equipment | ||
| Shot peening equipment | LOCAL | Shot peening equipment | ||
| Workshop inspection equipment | LOCAL | Workshop inspection equipment |
Consumables, Materials and Expendables
| Name | Manufacturer | Part Number / Identification | Quantity | Remark |
|---|---|---|---|---|
| CoMat 02-097 LINT-FREE GLOVES | LOCAL | CoMat 02-097 | ||
| CoMat 03-096 PLASMA SPRAY POWDER | LOCAL | CoMat 03-096 |
Spares
NONESafety Requirements
NONEProcedure
Refer to Figure.
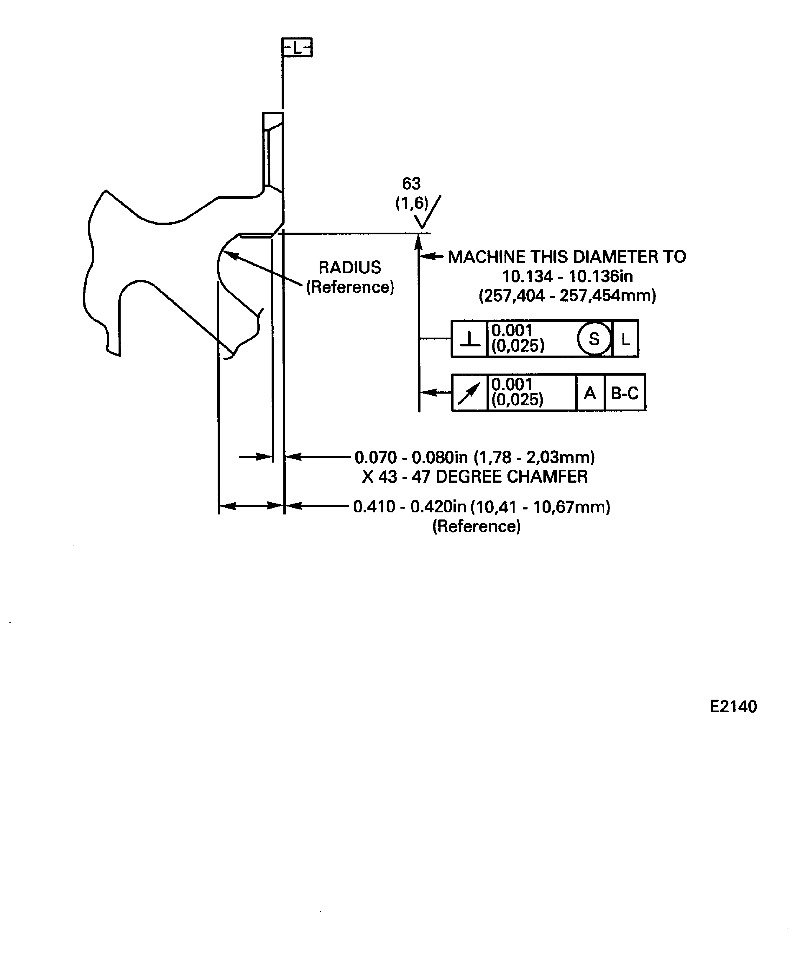
SUBTASK 72-41-13-320-059 Machine the Knife-Edge Seal Mating Diameter before Coating
Refer to Figure.
No cracks permitted.
Do the penetrant procedure given in the SPM TASK 70-23-04-230-501.
Examine the machined area for cracks.
SUBTASK 72-41-13-230-073 Examine the Knife-Edge Seal Mating Diameter for Cracks
Refer to Figure.
Do the procedure given in the SPM TASK 70-38-13-380-501.
Shot peen the knife-edge seal mating diameter at an intensity of 6A.
SUBTASK 72-41-13-380-057 Shot Peen the Knife-Edge Seal Mating Diameter
Refer to Figure.
Refer to SPM TASK 70-34-18-380-501.
Prepare the surface for coating.
SUBTASK 72-41-13-380-058 Prepare the Knife-Edge Seal Mating Diameter for Plasma Spray Coat
Refer to Figure.
Use CoMat 03-096 PLASMA SPRAY POWDER or equivalent.
Apply the plasma spray coating to a sufficient thickness which will permit the final machining.
The maximum thickness of the plasma spray is 0.015 in. (0.341 mm).
No overspray is permitted in the fillet area.
Do the procedure given in TASK 70-34-03-340-501.
Plasma spray the knife-edge seal mating diameter.
SUBTASK 72-41-13-340-052 Plasma Spray Coat the Knife-Edge Seal Mating Diameter
Refer to Figure.
SUBTASK 72-41-13-320-060 Machine the Knife-Edge Seal Mating Diameter after Plasma Spray
Do the inspection procedure given in the SPM TASK 70-34-03-340-501.
Examine the coated area for chips, cracks, lifted material, coating that is not attached to the base metal and surfaces that show heat cracks.
SUBTASK 72-41-13-220-146 Examine the Repair
Refer to Figure.
Electrical contact is permitted only in the area given in the figure.
In this area no burns, pits or selective attack is permitted.
Use the shallow electrolytic etch method.
Mark the part by the procedures given in the SPM TASK 70-09-00-400-501.
NOTE
If the VRS repair number is marked on the part, do not mark the repair number again.Make a mark of the repair number VRS3450 adjacent to the part number at the location given in the figure.
SUBTASK 72-41-13-350-068 Mark the Part
Refer to Figure.
SUBTASK 72-41-13-350-069 Install the Clinch Nuts on the HPC Shaft
Figure: Repair Details and Dimensions
Repair Details and Dimensions

Figure: Repair Details and Dimensions
Repair Details and Dimensions

Figure: Repair Details and Dimensions
Repair Details and Dimensions

Figure: Repair Details and Dimensions
Sheet 1

Figure: Repair Details and Dimensions
Sheet 2

