Export Control
EAR Export Classification: Not subject to the EAR per 15 C.F.R. Chapter 1, Part 734.3(b)(3), except for the following Service Bulletins which are currently published as EAR Export Classification 9E991: SBE70-0992, SBE72-0483, SBE72-0580, SBE72-0588, SBE72-0640, SBE73-0209, SBE80-0024 and SBE80-0025.Copyright
© IAE International Aero Engines AG (2001, 2014 - 2021) The information contained in this document is the property of © IAE International Aero Engines AG and may not be copied or used for any purpose other than that for which it is supplied without the express written authority of © IAE International Aero Engines AG. (This does not preclude use by engine and aircraft operators for normal instructional, maintenance or overhaul purposes.).Applicability
All
Common Information
TASK 72-41-15-200-011-B00 HPC Rotor Blades Remaining Parts - Examine The Locking Nuts And Jacking Screws (Matched Pairs), Inspection-011
Effectivity
FIG/ITEM | PART NO. |
|---|---|
02-165 | 6A4108 |
02-265 | 6A4109 |
02-265 | 6A4304 |
02-365 | 6A4110 |
02-365 | 6B1088 |
02-465 | 6A4110 |
02-565 | 6A4110 |
02-665 | 6A4110 |
02-765 | 6A4110 |
General
This TASK gives the procedure for the inspection of the HP Compressor Rotor Blades Locking Nuts and Jacking Screws (matched pair type) SBE 70-0064 V2500/A1 series, E.I.S. V2500/A5 series and SBE 72-0560 V2500/Select series. Refer to TASK 72-41-15-200-000 for the other remaining parts.
Fig/item numbers in parentheses in the procedure agree with those given in the EIPC. Only the primary Fig/item numbers are used. For the service bulletin alpha variants refer to the EIPC.
The policy that is necessary for inspection is given in the SPM TASK 70-20-01-200-501.
All the parts must be cleaned before any part is examined. Refer to TASK 72-41-15-100-000.
All the parts must be visually examined for damage, corrosion and wear. Any defects that are not identified in the procedure must be referred to IAE.
Do not discard any part until you are sure there are no repairs available. Refer to the instructions in repair before a discarded part is used again or oversize parts are installed.
Parts which must be discarded can be held although no repair is available. The repair of a discarded part can be shown to be necessary at a subsequent date.
All the parts must be examined to make sure that all the repairs have been completed satisfactorily.
The practices and processes referred to in the procedure by the TASK/SUBTASK number are in the SPM.
References
Refer to the SPM for data on these items:
Definition of Damage, SPM TASK 70-02-02-350-501,
Record and Control of the Lives of Parts, SPM TASK 70-05-00-220-501,
Inspection of Parts, SPM TASK 70-20-01-200-501.
NOTE
Preliminary Requirements
Pre-Conditions
NONESupport Equipment
NONEConsumables, Materials and Expendables
| Name | Manufacturer | Part Number / Identification | Quantity | Remark |
|---|---|---|---|---|
| CoMat 01-001 SOLVENT, DELETED | 0AM53 | CoMat 01-001 | ||
| CoMat 01-002 SOLVENT, DELETED. | 0AM53 | CoMat 01-002 | ||
| CoMat 10-070 ANTI-SEIZE COMPOUND | LOCAL | CoMat 10-070 |
Spares
NONESafety Requirements
NONEProcedure
NOTE
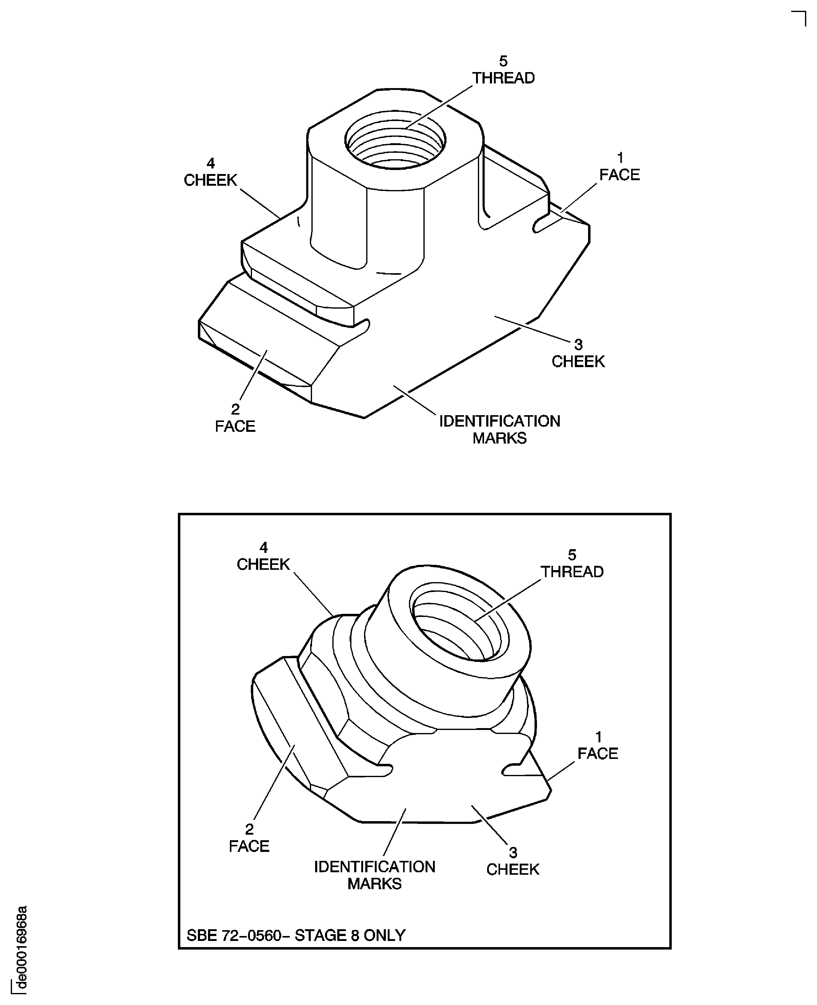
The locking nuts and jacking screws are matched pairs and must be kept together during inspection.Refer to Figure.
More than in Step
Galled.
Examine the cheeks at locations 3 and 4.
Examine the locking nuts.
SUBTASK 72-41-15-220-125 Examine the HP Compressor Stages 6 thru 12 Locking Nuts and Jacking Screw Assemblies (02-165, 02-265, 02-365, 02-465, 02-565, 02-665 and 02-765)
Use CoMat 01-001 SOLVENT, DELETED or CoMat 01-002 SOLVENT, DELETED. and a cloth to clean the threads of the jacking screw and locknut assemblies.

CAUTION
WHEN YOU USE CoMat 01-001 SOLVENT, DELETED OR CoMat 01-002 SOLVENT, DELETED. YOU MUST USE THE CORRECT PROTECTIVE CLOTHING. DO NOT GET THE SOLVENT ON YOUR SKIN OR IN YOUR EYES. YOU MUST NOT SMOKE WHEN YOU USE THE SOLVENT AS THE VAPOUR CHANGES AND BECOMES TOXIC.NOTE
The locking nuts and jacking screws are matched pairs and must be kept together during inspection.Clean the assemblies.
Use a brush to apply CoMat 10-070 ANTI-SEIZE COMPOUND to the threads of the jacking screw and locknut assemblies.
Check the locking torque.
SUBTASK 72-41-15-220-402 Do a Locking Torque Check on the HP Compressor Stages 6 to 12 Locking Nuts and Jacking Screw Assemblies (02-165, 02-265, 02-365, 02-465, 02-565, 02-665 and 02-765)
Figure: Pre SBE 72-0560 and SBE 72-0560: Stages 6 thru 12 Locking Nuts Inspection Locations
Pre SBE 72-0560 and SBE 72-0560: Stages 6 thru 12 Locking Nuts Inspection Locations

Figure: Stages 6 thru 12 jacking screws - inspection locations
Stages 6 thru 12 jacking screws - inspection locations

