Export Control
EAR Export Classification: Not subject to the EAR per 15 C.F.R. Chapter 1, Part 734.3(b)(3), except for the following Service Bulletins which are currently published as EAR Export Classification 9E991: SBE70-0992, SBE72-0483, SBE72-0580, SBE72-0588, SBE72-0640, SBE73-0209, SBE80-0024 and SBE80-0025.Copyright
© IAE International Aero Engines AG (2001, 2014 - 2021) The information contained in this document is the property of © IAE International Aero Engines AG and may not be copied or used for any purpose other than that for which it is supplied without the express written authority of © IAE International Aero Engines AG. (This does not preclude use by engine and aircraft operators for normal instructional, maintenance or overhaul purposes.).Applicability
All
Common Information
TASK 72-41-21-300-038 HPC Stage 8 Case - Replace The Boroscope Access Port And/or Rivets, Repair-038 (VRS6249)
Material of component
PART IDENT | SYMBOL | MATERIAL |
|---|---|---|
Stage 8 Compressor Case Assembly | QRK | Nickel cobalt alloy |
Boroscope access port | EAK | Corrosion resistant steel |
Rivet | Heat resistant alloy |
General
This repair must only be done when the instruction to do so is given in 72-41-21 Inspection/Check.
When any of the rivet(s) which secure the boroscope access port require to be replaced, go to SUBTASK 72-41-21-350-137.
When the boroscope access port requires to be replaced, go to Step.
The practices and processes referred to in the procedure by the TASK/SUBTASK numbers are in the SPM.
Price and availability
Refer to International Aero Engines
Related repairs - none
NOTE
DELETED
More equipment and materials necessary to do this Repair are given in the SPM TASKS that follow: SPM TASK 70-09-00-400-501,
SPM TASK 70-09-01-400-501,,
and SPM TASK 70-39-03-390-501.
Preliminary Requirements
Pre-Conditions
NONESupport Equipment
| Name | Manufacturer | Part Number / Identification | Quantity | Remark |
|---|---|---|---|---|
| Chemical cleaning equipment | LOCAL | Chemical cleaning equipment | ||
| Penetrant Crack Test Equipment | LOCAL | Penetrant crack test equipment | ||
| Vertical drilling machine | LOCAL | Vertical drilling machine | ||
| Workshop inspection equipment | LOCAL | Workshop inspection equipment | ||
| Standard workshop equipment | LOCAL | Standard workshop equipment | ||
| Dial indicator | LOCAL | Dial indicator | ||
| Drill | LOCAL | Drill | ||
| Cold squeeze riveting equipment | LOCAL | Cold squeeze riveting equipment | ||
| Vibrating marking pencil | LOCAL | Vibrating marking pencil |
Consumables, Materials and Expendables
| Name | Manufacturer | Part Number / Identification | Quantity | Remark |
|---|---|---|---|---|
| CoMat 02-121 TEMPORARY MARKER PENCIL/CRAYON | IE304 | CoMat 02-121 | ||
| CoMat 02-122 TEMPORARY MARKER PENCIL/CRAYON | K6835 | CoMat 02-122 | ||
| CoMat 06-022 FLUORESCENT PENETRANT (POST-EMULSIFIED ULTRA HIGH SENSITIVITY) | LOCAL | CoMat 06-022 |
Spares
| Name | Manufacturer | Part Number / Identification | Quantity | Remark |
|---|---|---|---|---|
| Rivet, solid CSK head | AS16688 | 4 | ||
| Rivet, solid CSK head | AS16729 | 4 | (oversize) | |
| Boss, boroscope access port | 6A4187 | 1 | (Assembly A) | |
| Adaptor, boroscope access port | 6A5870 | 1 | (Assembly B, Assembly C and Assembly D) |
Safety Requirements
NONEProcedure
Refer to SPM TASK 70-09-01-400-501.
Identify the damaged holes.
SUBTASK 72-41-21-220-349-A00 Examine the Rivet Holes on the HP Compressor Stage 8 Case Assembly, Assembly A
Refer to SPM TASK 70-09-01-400-501.
Identify the damaged holes.
SUBTASK 72-41-21-220-349-B00 Examine the Rivet Holes on the HP Compressor Stage 8 Case Assembly, Assembly B
Refer to SPM TASK 70-09-01-400-501.
Identify the damaged holes.
SUBTASK 72-41-21-220-349-C00 Examine the Rivet Holes on the HP Compressor Stage 8 Case Assembly, Assembly C and Assembly D
Refer to SPM TASK 70-23-05-230-501.
Use CoMat 06-022 FLUORESCENT PENETRANT (POST-EMULSIFIED ULTRA HIGH SENSITIVITY) with penetrant test equipment.
Cracks are not permitted.
Do a local penetrant crack test of the drilled holes.
SUBTASK 72-41-21-230-142 Do a Crack Test
Refer to SPM TASK 70-23-05-230-501.
Use CoMat 06-022 FLUORESCENT PENETRANT (POST-EMULSIFIED ULTRA HIGH SENSITIVITY) with penetrant test equipment.
Cracks are not permitted.
Do a penetrant crack test on the rivets.
SUBTASK 72-41-21-230-143 Do a Crack Test
Refer to SPM TASK 70-39-03-390-501, SUBTASK 70-39-03-390-005.
Use workshop inspection equipment.
Visually examine and measure the dimensions of the assembly.
SUBTASK 72-41-21-220-450-B00 Examine the HP Compressor Stage 8 Case Assembly, Assembly B
Refer to SPM TASK 70-39-03-390-501, SUBTASK 70-39-03-390-005.
Useworkshop inspection equipment.
Visually examine and measure the dimensions of the assembly.
SUBTASK 72-41-21-220-450-C00 Examine the HP Compressor Stage 8 Case Assembly, Assembly C and Assembly D
Refer to SPM TASK 70-09-00-400-501.
Use vibro-engraving equipment.
Make a mark VRS6249/1 adjacent to the assembly number when the boroscope access port has been replaced.
SUBTASK 72-41-21-350-139 Identify the Repair
Refer to TASK 72-41-21-100-000.
Use chemical cleaning equipment.
Chemically clean the assembly.
SUBTASK 72-41-21-110-165 Chemically Clean
Refer to TASK 72-41-21-200-000.
Use penetrant crack test equipment.
Do a penetrant crack test.
SUBTASK 72-41-21-230-188 Do a Crack Test
Refer to SPM TASK 70-09-01-400-501.
Identify damaged hole(s).
SUBTASK 72-41-21-220-351-A00 Examine the Rivet Hole(s) on the HP Compressor Stage 8 Case Assembly and Boroscope Access Port, Assembly A
Refer to SPM TASK 70-09-01-400-501.
Identify damaged hole(s).
SUBTASK 72-41-21-220-351-B00 Examine the Rivet Hole(s) on the HP Compressor Stage 8 Case Assembly and Boroscope Access Port, Assembly B
Refer to SPM TASK 70-09-01-400-501.
Identify damaged hole(s).
SUBTASK 72-41-21-220-351-C00 Examine the Rivet Hole(s) on the HP Compressor Stage 8 Case Assembly and Boroscope Access Port, Assembly C and Assembly D
Refer to SPM TASK 70-09-01-400-501.
Identify which holes have been drilled for the larger rivets.
SUBTASK 72-41-21-220-352-A00 Examine the Rivet Hole(s), Assembly A
Refer to SPM TASK 70-09-01-400-501.
Identify which holes have been drilled for the larger rivets.
SUBTASK 72-41-21-220-352-B00 Examine the Rivet Hole(s), Assembly B
Refer to SPM TASK 70-09-01-400-501.
Identify which holes have been drilled for the larger rivets.
SUBTASK 72-41-21-220-352-C00 Examine the Rivet Hole(s), Assembly C and Assembly D
Refer to SPM TASK 70-23-05-230-501.
Use CoMat 06-022 FLUORESCENT PENETRANT (POST-EMULSIFIED ULTRA HIGH SENSITIVITY) with penetrant crack test equipment.
Cracks are not permitted.
Do a local penetrant crack test on the rivet hole(s).
SUBTASK 72-41-21-230-144 Do a Crack Test
Refer to SPM TASK 70-39-03-390-501.
Use cold squeeze riveting equipment.
Cold squeeze the rivets.
SUBTASK 72-41-21-390-054-A00 Install the Rivet(s), Assembly A
Refer to SPM TASK 70-39-03-390-501.
Use cold squeeze riveting equipment.
Cold squeeze the rivets.
SUBTASK 72-41-21-390-054-B00 Install the Rivet(s), Assembly B
Refer to SPM TASK 70-39-03-390-501.
Use cold squeeze riveting equipment.
Cold squeeze the rivets.
SUBTASK 72-41-21-390-054-C00 Install the Rivet(s), Assembly C and Assembly D
Refer to SPM TASK 70-23-05-230-501.
Use CoMat 06-022 FLUORESCENT PENETRANT (POST-EMULSIFIED ULTRA HIGH SENSITIVITY) with penetrant crack test equipment.
Cracks are not permitted.
Do a local penetrant crack test on the rivets.
SUBTASK 72-41-21-230-145 Do a Crack Test
Refer to SPM TASK 70-39-03-390-501, SUBTASK 70-39-03-390-005.
Use workshop inspection equipment.
Visually examine and measure the dimensions of the assembly.
SUBTASK 72-41-21-220-451-A00 Examine the HP Compressor Stage 8 Case Assembly, Assembly A
Refer to SPM TASK 70-39-03-390-501, SUBTASK 70-39-03-390-005.
Use workshop inspection equipment.
Visually examine and measure the dimensions of the assembly.
SUBTASK 72-41-21-220-451-B00 Examine the HP Compressor Stage 8 Case Assembly, Assembly B
Refer to SPM TASK 70-39-03-390-501, SUBTASK 70-39-03-390-005.
Use workshop inspection equipment.
Visually examine and measure the dimensions of the assembly.
SUBTASK 72-41-21-220-451-C00 Examine the HP Compressor Stage 8 Case Assembly, Assembly C and Assembly D
Refer to SPM TASK 70-09-00-400-501, SUBTASK 70-09-00-400-001.
Use vibro-engraving equipment.
Make a mark VRS6249/2 adjacent to the assembly number when the damaged rivet(s) have been replaced.
SUBTASK 72-41-21-350-142 Identify the Repair
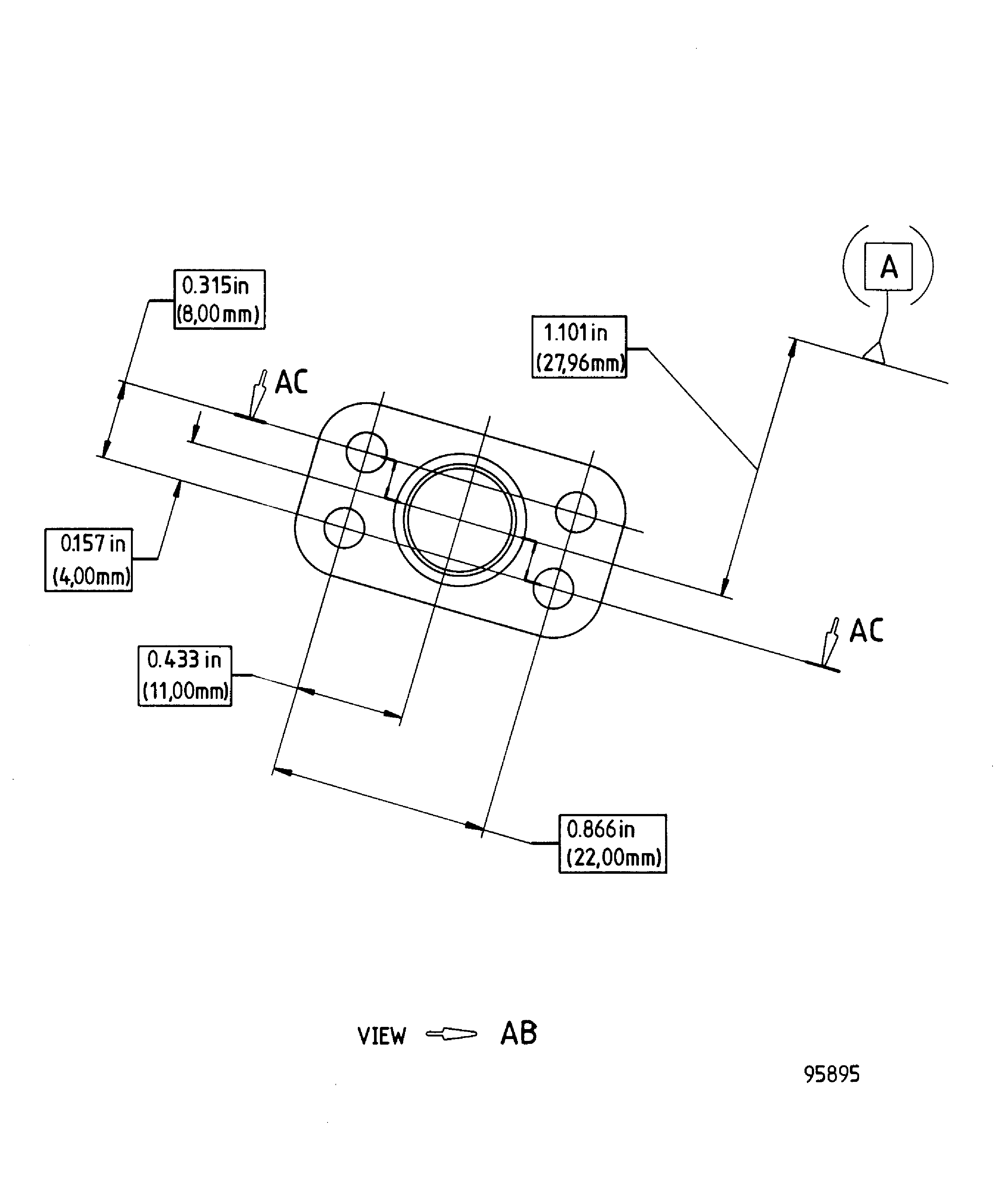
Figure: Repair Details And Dimensions - Assembly A
Repair Details And Dimensions - Assembly A

Figure: Repair Details And Dimensions - Assembly B And Assembly C
Repair Details And Dimensions - Assembly B And Assembly C

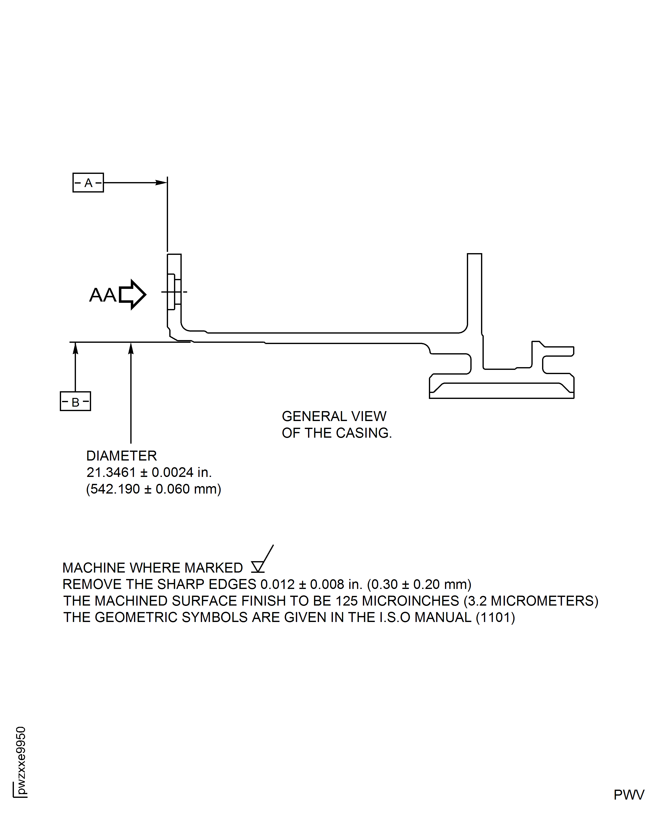
Figure: Repair Details And Dimensions - Assembly A And Assembly B
Repair Details And Dimensions - Assembly A And Assembly B

Figure: Repair Details And Dimensions - Assembly A
Repair Details And Dimensions - Assembly A

Figure: Repair Details And Dimensions - Assembly B
Repair Details And Dimensions - Assembly B

Figure: Repair Details And Dimensions - Assembly C And Assembly D
Repair Details And Dimensions - Assembly C And Assembly D

Figure: Repair Details And Dimensions - Assembly A
Repair Details And Dimensions - Assembly A

Figure: Repair Details And Dimensions - Assembly B, Assembly C And Assembly D
Repair Details And Dimensions - Assembly B, Assembly C And Assembly D

Figure: Repair Details And Dimensions - Assembly A, Assembly B, Assembly C And Assembly D
Repair Details And Dimensions - Assembly A, Assembly B, Assembly C And Assembly D

Figure: Repair Details And Dimensions - Assembly A
Repair Details And Dimensions - Assembly A

Figure: Repair Details And Dimensions - Assembly B And Assembly C
Repair Details And Dimensions - Assembly B And Assembly C

Figure: Repair Details And Dimensions - Assembly C
Repair Details And Dimensions - Assembly C

Figure: Repair Details And Dimensions - Assembly D
Repair Details And Dimensions - Assembly D

Figure: Repair Details And Dimensions - Assembly D
Repair Details And Dimensions - Assembly D

Figure: Repair Details And Dimensions - Assembly D
Repair Details And Dimensions - Assembly D

