Export Control
EAR Export Classification: Not subject to the EAR per 15 C.F.R. Chapter 1, Part 734.3(b)(3), except for the following Service Bulletins which are currently published as EAR Export Classification 9E991: SBE70-0992, SBE72-0483, SBE72-0580, SBE72-0588, SBE72-0640, SBE73-0209, SBE80-0024 and SBE80-0025.Copyright
© IAE International Aero Engines AG (2001, 2014 - 2021) The information contained in this document is the property of © IAE International Aero Engines AG and may not be copied or used for any purpose other than that for which it is supplied without the express written authority of © IAE International Aero Engines AG. (This does not preclude use by engine and aircraft operators for normal instructional, maintenance or overhaul purposes.).Applicability
All
Common Information
TASK 72-41-32-200-003 HPC Stage 4 Variable Stator Vane - Examine, Inspection-003
Effectivity
FIG/ITEM | PART NO. |
|---|---|
03-500 | 6A3816 |
03-500 | 6A3880 |
03-500 | 6A4370 |
03-500 | 6A5679 |
03-500 | 6A7478 |
03-500 | 6A7558 |
03-500 | 6A8069 |
03-500 | 6A8064 |
General
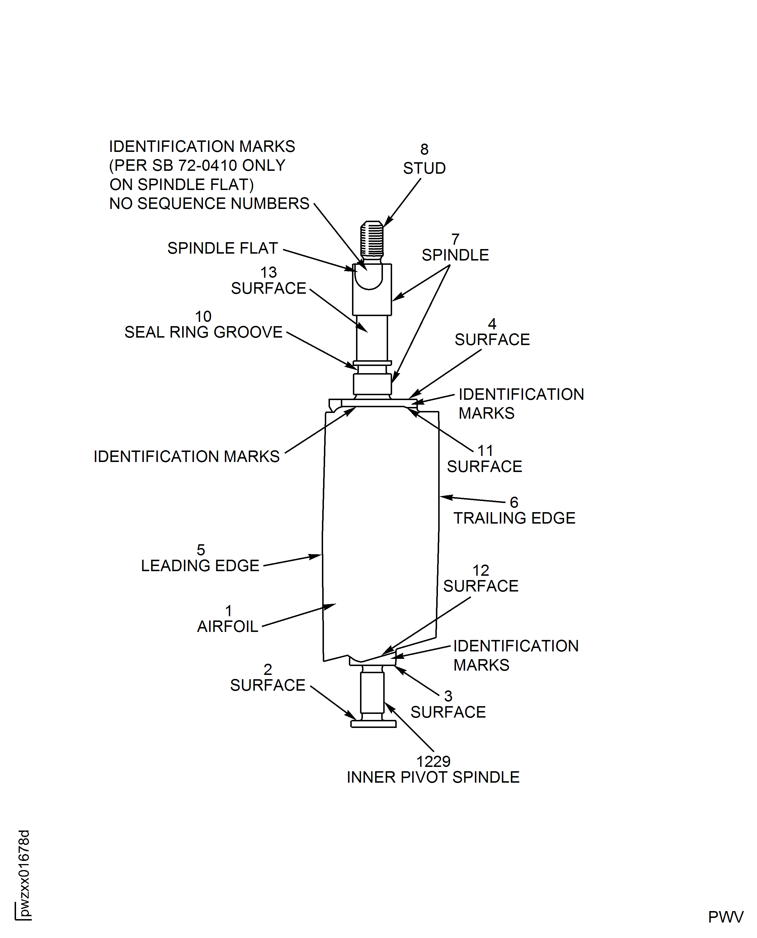
This TASK gives the procedure for the inspection of the stage 4 variable stator vanes.
Nicks and dents 0.005 in. (0.13 mm) or less are acceptable without limit to the airfoil and gas washed surfaces of the platforms.
Fig/item numbers in parentheses in the procedure agree with those used in the EIPC. Only the primary Fig/item numbers are used. For the service bulletin alpha variants refer to the EIPC.
The policy that is necessary for inspection is given in SPM TASK 70-20-01-200-501.
All the parts must be cleaned before any part is examined.
All the parts must be visually examined for damage, corrosion and wear. Any defects that are not identified in the procedure must be referred to IAE.
The procedure for those parts which must have a crack test is given in Step. Do the crack test before the part is visually examined.
Do not discard any part until you are sure there are no repairs available. Refer to the instructions in Repair before a discarded part is used again or oversize parts are installed.
Parts which should be discarded can be held although no repair is available. The repair of a discarded part could be shown to be necessary at a later date.
All the parts must be examined to make sure that all the repairs have been completed satisfactorily.
The practices and processes referred to in the procedure by the TASK/SUBTASK numbers are in SPM.
References
Refer to SPM for data on these items.
Definition of Damage, TASK 70-02-02-350-501
Inspection of Parts, TASK 70-20-01-200-501.
Some data on these items is contained in this TASK. For more data on these items refer to SPM.
Method of Testing for Crack Indications.
Chemical Processes.
Surface Protection.
Preliminary Requirements
Pre-Conditions
NONESupport Equipment
NONEConsumables, Materials and Expendables
NONESpares
NONESafety Requirements
NONEProcedure
Clean the parts. Refer to TASK 72-41-32-100-000 (CLEANING-000).
SUBTASK 72-41-32-230-053 Examine the Stage 4 Variable Stator Vanes for Cracks, (03-500)
Refer to Figure.
Reject.
More than in Step.
Nicked.
Reject.
More than in Step.
Dented.
Repair, VRS6035 TASK 72-41-32-300-005 (REPAIR-005).
Up to 0.005 in. (0.13 mm) in depth.
Scratched.
Repair, VRS6035 TASK 72-41-32-300-005 (REPAIR-005).
Heavy pitting up to 0.005 in. (0.13 mm) in depth.
Pitted.
SUBTASK 72-41-32-220-071 Examine the Stage 4 Variable Stator Vanes at Location 1, (03-500)
Refer to Figure.
More than Step.
Scored/Scratched.
SUBTASK 72-41-32-220-072-001 Examine the Stage 4 Variable Stator Vanes Surfaces at Locations 2, 3 and 4, (03-500, 6A3816, 6A3880, 6A4370, 6A5679 and 6A7478) (Pre SBE 72-0410)
Refer to Figure.
More than Step.
Scored/Scratched.
SUBTASK 72-41-32-220-072-002 Examine the Stage 4 Variable Stator Vanes Surfaces at Locations 3 and 4, (03-500, 6A7558, 6A8069 and 6A8064) (SBE 72-0410 and SBE 72-0422)
Refer to Figure.
Reject.
More than in Step.
Nicked.
Reject.
More than in Step.
Dents.
Repair, VRS6035 TASK 72-41-32-300-005 (REPAIR-005).
Up to 0.005 in. (0.13 mm) in depth.
Scored/Scratched.
SUBTASK 72-41-32-220-073 Examine the Stage 4 Variable Stator Vanes Leading and Trailing Edges at Locations 5 and 6, (03-500)
Repair, VRS6077 TASK 72-41-32-300-006 (REPAIR-006).
More than Step.
Measure the surface finish of the vanes. Use 10 percent of the vanes that have been removed.
SUBTASK 72-41-32-220-074-001 Examine the Stage 4 Variable Stator Vanes Airfoil Surface Finish at Location 1, (03-500, 6A3816, 6A3880, 6A4370, 6A5679, 6A7558, 6A8069 and 6A8064) (Pre SBE 70-0714, SBE 70-0726, SBE 72-0410 and SBE 72-0422)
Refer to Figure.
More than in Step.
Surface finish.
SUBTASK 72-41-32-220-074-002 Examine the Stage 4 Variable Stator Vanes Airfoil Surface Finish at Location 1, (03-500, 6A7478) (SBE 70-0714)
Refer to Figure.
Repair, VRS6183 TASK 72-41-32-300-014 (REPAIR-014) or VRS9130 TASK 72-41-32-300-019 (REPAIR-019).
More than Step.
Scored/Scratched.
Repair, VRS6183 TASK 72-41-32-300-014 (REPAIR-014).
If the diameter of the spindle is between 0.4585 in. to 0.468 in. (11.646 mm to 11.90 mm).
Repair, VRS9130 TASK 72-41-32-300-019 (REPAIR-019).
If the diameter of the spindle is less than 0.4585 in. (11.646 mm).
Wear.
SUBTASK 72-41-32-220-075 Examine the Stage 4 Variable Stator Vanes Spindle at Location 7, (03-500)
Refer to Figure.
SUBTASK 72-41-32-220-076 Examine the Stage 4 Variable Stator Vanes Stud at Location 8, (03-500)
Refer to Figure.
Repair, VRS6183 TASK 72-41-32-300-014 (REPAIR-014) or VRS9130 TASK 72-41-32-300-019 (REPAIR-019).
More than in Step.
Scored/Scratched.
Repair, VRS6183 TASK 72-41-32-300-014 (REPAIR-014).
If the diameter of the spindle is between 0.2609 in. to 0.271 in. (6.627 mm to 6.88 mm).
Repair, VRS9130 TASK 72-41-32-300-019 (REPAIR-019).
If the diameter of the spindle is less than 0.2609 in. (6.627 mm).
Wear.
SUBTASK 72-41-32-220-077 Examine the Stage 4 Variable Stator Vanes Inner Pivot Spindle at Location 1229, (03-500)
Refer to Figure.
SUBTASK 72-41-32-220-078 Examine the Stage 4 Variable Stator Vanes Seal Ring Groove at Location 10, (03-500)
Refer to Figure.
Reject.
More than in Step.
Nicked.
Reject.
More than in Step.
Dented.
More than in Step.
Surface finish.
SUBTASK 72-41-32-220-171 Examine the Stage 4 Variable Stator Vanes Annulus Surfaces at Locations 11 and 12, (03-500, 6A7478) (SBE 70-0714)
Figure: Stage 4 Variable Stator Vanes - Inspection Locations
Stage 4 Variable Stator Vanes - Inspection Locations

