Export Control
EAR Export Classification: Not subject to the EAR per 15 C.F.R. Chapter 1, Part 734.3(b)(3), except for the following Service Bulletins which are currently published as EAR Export Classification 9E991: SBE70-0992, SBE72-0483, SBE72-0580, SBE72-0588, SBE72-0640, SBE73-0209, SBE80-0024 and SBE80-0025.Copyright
© IAE International Aero Engines AG (2001, 2014 - 2021) The information contained in this document is the property of © IAE International Aero Engines AG and may not be copied or used for any purpose other than that for which it is supplied without the express written authority of © IAE International Aero Engines AG. (This does not preclude use by engine and aircraft operators for normal instructional, maintenance or overhaul purposes.).Applicability
All
Common Information
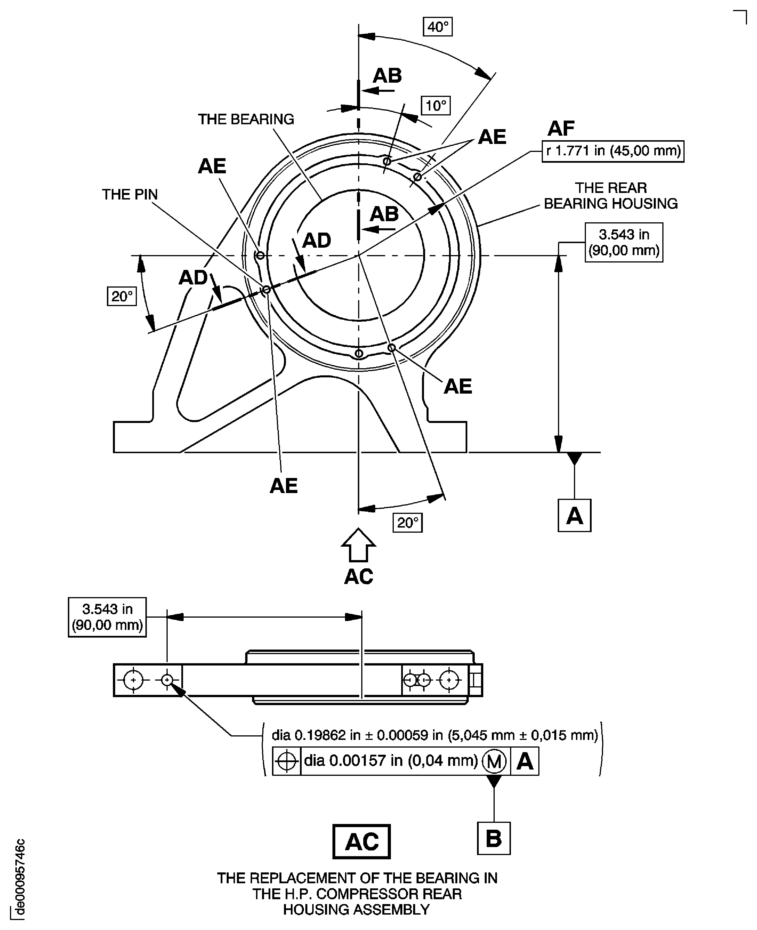
TASK 72-41-34-300-016 HPC Vane Actuating Crankshaft Bearing Housings - Replace The Bearing In The Rear Housing, Repair-016 (VRS6240)
Material of component
PART IDENT | SYMBOL | MATERIAL | Assembly |
Rear Bearing Housing (Pre SBE 72-0564) | EAD or EAK | Jethete | A |
Rear Bearing Housing (SBE 72-0564) | MSRR6601 | 17-4 PH | B |
Bearing | AMS 5643 | 16% Chrome, 45% Nickel Steel | A and B |
General
This Repair must only be done when the instruction to do so is given in TASK 72-41-34 Inspection.
This repair can only be done five times. If the part is identified as VRS6240/4, it can not be repaired.
The practices and processes referred to in the procedure by the TASK/SUBTASK numbers are in the SPM.
Price and availability:
Refer to International Aero Engines.
Related repairs
HP Compressor Front and Rear Housing Assembly - Replacement of Surface Protection, refer to TASK 72-41-34-300-033 (VRS6356).
NOTE
NOTE
Preliminary Requirements
Pre-Conditions
NONESupport Equipment
| Name | Manufacturer | Part Number / Identification | Quantity | Remark |
|---|---|---|---|---|
| Standard workshop equipment | LOCAL | Standard workshop equipment | ||
| Milling Machine | LOCAL | Milling Machine | ||
| Workshop inspection equipment | LOCAL | Workshop inspection equipment | ||
| Penetrant Crack Test Equipment | LOCAL | Penetrant crack test equipment | ||
| Chemical cleaning equipment | LOCAL | Chemical cleaning equipment | ||
| Paint brush | LOCAL | Paint brush | ||
| Drilling Machine | LOCAL | Drilling Machine | ||
| Drill | LOCAL | Drill | 0.114 in. (2.9 mm) Dia. | |
| Reamer | LOCAL | Reamer | 0.118 in. (3.0 mm) Dia. | |
| End mill | LOCAL | End mill | 0.472 in. (12.0 mm) Dia. |
Consumables, Materials and Expendables
| Name | Manufacturer | Part Number / Identification | Quantity | Remark |
|---|---|---|---|---|
| CoMat 02-099 LINT-FREE CLOTH | LOCAL | CoMat 02-099 | ||
| CoMat 03-031 STOPPING-OFF CRAYON | LOCAL | CoMat 03-031 | ||
| CoMat 03-124 FLAME SPRAY NICKEL-ALUMINUM(78 Ni-22 Al) | 39918 | CoMat 03-124 | ||
| CoMat 04-014 THIXOTROPIC DRY FILM LUBRICANT | 0AM53 | CoMat 04-014 | ||
| CoMat 06-073 INK, METAL MARKING | 88303 | CoMat 06-073 | ||
| CoMat 07-024 AEROLAC METAL PROTECTIVE VARNISH, CLEAR | LOCAL | CoMat 07-024 | ||
| CoMat 01-031 ACETONE (CH3)2CO | LOCAL | CoMat 01-031 | ||
| CoMat 01-124 ISOPROPYL ALCOHOL | LOCAL | CoMat 01-124 |
Spares
| Name | Manufacturer | Part Number / Identification | Quantity | Remark |
|---|---|---|---|---|
| Retaining Ring | RRN362 | 1 | ||
| Pin | AS20643 | 1 | ||
| Bearing | 03-413-40E002 | 1 | ||
| BEARING | Z5H62 | 03-413-45E002 | 1 |
Safety Requirements
NONEProcedure
Use a clean CoMat 02-099 LINT-FREE CLOTH and blast with air.
Clean the bearing location and the retaining ring recess to remove all unwanted material.
SUBTASK 72-41-34-350-110 Remove the Burrs
Refer to the SPM TASK 70-23-01-230-501.
Do a penetrant crack test.
SUBTASK 72-41-34-230-098 Do a Crack Test
Refer to Figure.
Refer to the SPM TASK 70-11-26-300-503.
Use a clean CoMat 02-099 LINT-FREE CLOTH, made moist with CoMat 01-031 ACETONE (CH3)2CO, or CoMat 01-124 ISOPROPYL ALCOHOL to make the mating surfaces clean.
Chemically clean the mating surfaces of the bearing and rear housing assembly.
SUBTASK 72-41-34-110-071-B00 Clean the Bearing and Rear Housing Assembly
Refer to Figure.
SUBTASK 72-41-34-350-111 Install the Bearing in the Rear Housing Assembly
Drill at the position AE, as milled in Step.
Use a 0.114 in. (2.9 mm) diameter drill and 0.118 in. (3.0 mm) diameter reamer.
Drill and ream the hole for the pin.
Use a clean CoMat 02-099 LINT-FREE CLOTH and blast with air.
Clean the hole.
SUBTASK 72-41-34-323-052 Drill and Ream the Pin Hole
Refer to VRS6356, TASK 72-41-34-300-033.
Replace any damaged enamel.
SUBTASK 72-41-34-380-062 Replace any Damaged Enamel
Refer to Figure.
Refer to the SPM TASK 70-09-00-400-501, SUBTASK 70-09-00-400-002.
For second application of this repair, mark /1 after VRS6240.
For third application of this repair, mark /2 after VRS6240.
For fourth application of this repair, mark /3 after VRS6240.
For fifth application of this repair, mark /4 after VRS6240.
Use CoMat 06-073 INK, METAL MARKING and CoMat 07-024 AEROLAC METAL PROTECTIVE VARNISH, CLEAR aerolac metal protective varnish applied with a paint brush.
Make a mark VRS6240 adjacent to existing marks which are under the surface protection.
SUBTASK 72-41-34-350-113 Identify the Repair
Figure: Repair Details and Dimensions
Repair Details and Dimensions

Figure: Repair Details and Dimensions
Repair Details and Dimensions

Figure: Repair Details and Dimensions
Repair Details and Dimensions

Figure: Repair Details and Dimensions
Repair Details and Dimensions

Figure: Repair Details and Dimensions
Repair Details and Dimensions

Figure: Repair Details and Dimensions
Repair Details and Dimensions

