Export Control
EAR Export Classification: Not subject to the EAR per 15 C.F.R. Chapter 1, Part 734.3(b)(3), except for the following Service Bulletins which are currently published as EAR Export Classification 9E991: SBE70-0992, SBE72-0483, SBE72-0580, SBE72-0588, SBE72-0640, SBE73-0209, SBE80-0024 and SBE80-0025.Copyright
© IAE International Aero Engines AG (2001, 2014 - 2021) The information contained in this document is the property of © IAE International Aero Engines AG and may not be copied or used for any purpose other than that for which it is supplied without the express written authority of © IAE International Aero Engines AG. (This does not preclude use by engine and aircraft operators for normal instructional, maintenance or overhaul purposes.).Applicability
All
Common Information
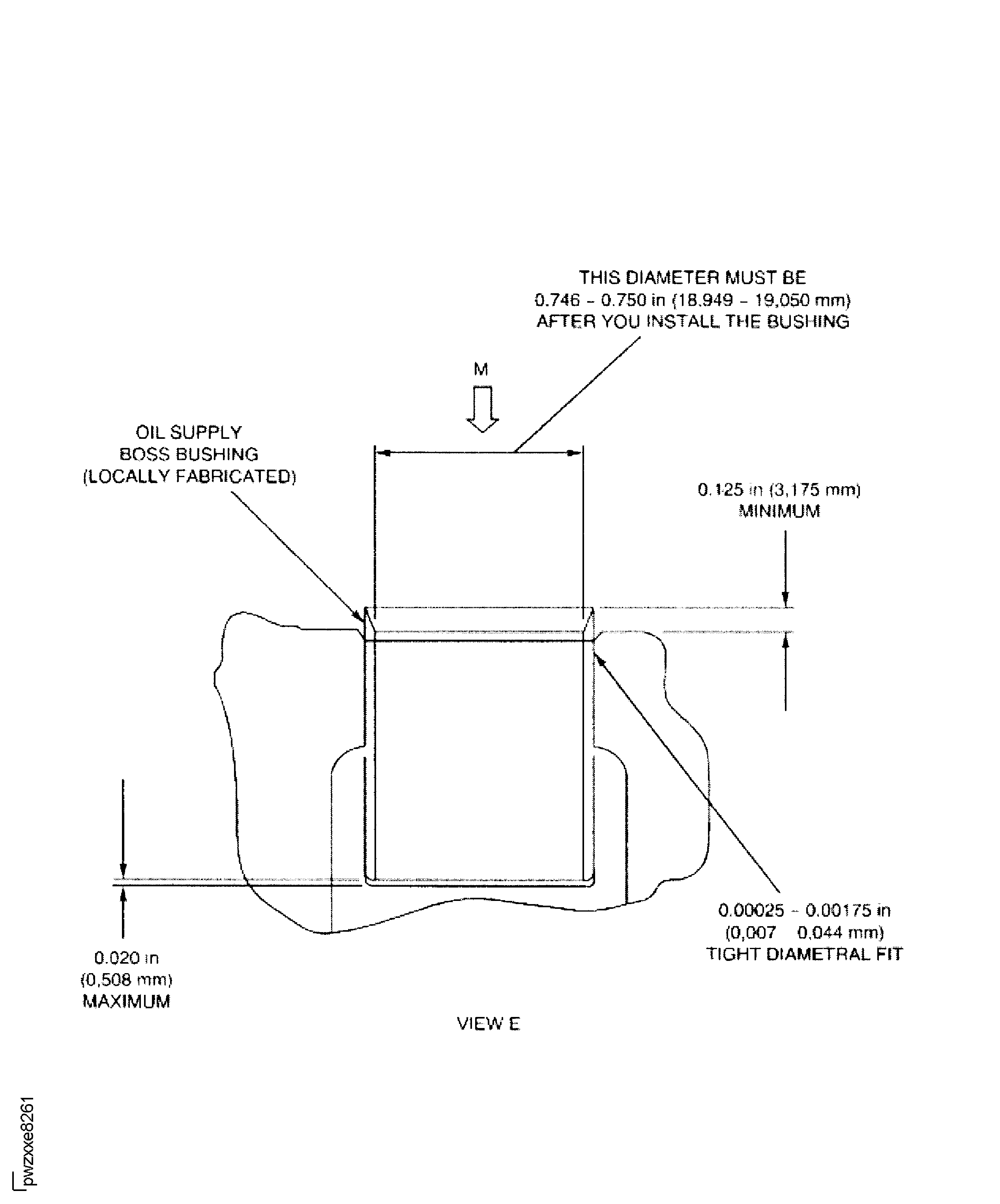
TASK 72-42-11-300-026 Diffuser Case - Repair The Oil Supply Inner Case Boss Bushing, Repair-026 (VRS3647)
Effectivity
FIG/ITEM | PART No. |
|---|---|
01-010 | 2A0051 |
01-010 | 2A2081-01 |
01-010 | 2A2581-01 |
01-010 | 2A2883-01 |
01-010 | 2A2889-01 |
01-010 | 2A2896-01 |
01-010 | 2A2885-01 |
01-010 | 2A2891-01 |
01-010 | 2A2897-01 |
01-010 | 2A3132 |
General
Price and availability - refer to IAE
The practices and processes referred to in this procedure by TASK numbers are in the SPM.
NOTE
Preliminary Requirements
Pre-Conditions
NONESupport Equipment
NONEConsumables, Materials and Expendables
| Name | Manufacturer | Part Number / Identification | Quantity | Remark |
|---|---|---|---|---|
| CoMat 03-284 WELDING FILLER WIRE, NiBASE | LOCAL | CoMat 03-284 | ||
| Nickel Alloy (Inconel 718) | LOCAL | AMS 5663 |
Spares
NONESafety Requirements
NONEProcedure
Refer to the SPM TASK 70-11-03-300-503.
Clean the diffuser case.
SUBTASK 72-42-11-110-074 Clean the Diffuser Case After Machining
Refer to the SPM TASK 70-23-05-230-501. Use high sensitivity level. No indications permitted.
Fluorescent penetrant examine the surface of the oil supply inner boss.
SUBTASK 72-42-11-230-070 Examine the Oil Supply Inner Boss Surface for Indications
Refer to Figure.
Refer to Figure.
Surface texture must be as given in SPM TASK 70-35-09-350-501.
All surfaces must be 125 microinches (3.2 micrometers) unless specified differently.
Use Nickel Alloy (Inconel 718) to machine bushing.
Refer to the SPM TASK 70-11-03-300-503.
Clean the bushing.
Refer to the SPM TASK 70-23-02-230-501. No cracks permitted.
Fluorescent penetrant examine the bushing.
SUBTASK 72-42-11-330-001 Make the Bushing Locally for the Oil Supply Boss
Refer to Figure.
Install bushing in the inside diameter of the machined boss.
SUBTASK 72-42-11-350-084 Install the Bushing into the Oil Supply Boss
Refer to the SPM TASK 70-31-13-310-501.
Use CoMat 03-284 WELDING FILLER WIRE, NiBASE welding filler wire.
Refer to Figure.
Stress-relief after welding is not necessary.

CAUTION
DO NOT USE THIS WELD PROCESS FOR ANY OTHER DIFFUSER CASE REPAIRS UNLESS SPECIFICALLY INSTRUCTED.Tack weld bushing to diffuser case.
SUBTASK 72-42-11-310-052 Tack Weld the Bushing to the Boss
Refer to the SPM TASK 70-23-05-230-501.
No cracks are permitted in weld, bushing or diffuser case.
Fluorescent penetrant inspect tack welds.
SUBTASK 72-42-11-230-056 Inspect the Tack Welds
Make a permanent mark by procedure given in SPM TASK 70-09-00-400-501.
Use vibro-peen method.
Remove raised metal caused by marking.
Make a mark VRS3647 adjacent to part number.
SUBTASK 72-42-11-350-085 Identify the Repair
Figure: Repair Details and Dimensions
Sheet 1

Figure: Repair Details and Dimensions
Sheet 2

Figure: Repair Details and Dimensions
Sheet 3

Figure: Repair Details and Dimensions
Sheet 4

Figure: Repair Details and Dimensions
Repair Details and Dimensions

