DMC:V2500-A0-72-42-5001-02A-920A-CIssue No:002.00Issue Date:2016-08-01
Export Control
EAR Export Classification: Not subject to the EAR per 15 C.F.R. Chapter 1, Part 734.3(b)(3), except for the following Service Bulletins which are currently published as EAR Export Classification 9E991: SBE70-0992, SBE72-0483, SBE72-0580, SBE72-0588, SBE72-0640, SBE73-0209, SBE80-0024 and SBE80-0025.Copyright
© IAE International Aero Engines AG (2001, 2014 - 2021) The information contained in this document is the property of © IAE International Aero Engines AG and may not be copied or used for any purpose other than that for which it is supplied without the express written authority of © IAE International Aero Engines AG. (This does not preclude use by engine and aircraft operators for normal instructional, maintenance or overhaul purposes.).Applicability
All
Common Information
TASK 72-42-50-300-003 HPC Rear Static Seal - Replace The Outer Seal Carrier, Repair-003 (VRS6204)
Material of component
RR | ||
|---|---|---|
DESCRIPTION | SYMBOL | MATERIAL |
Support cone | QAW | Nimonic (80-20) |
or QAL | ||
Seal carrier | QAW | Nimonic 80A |
or QAL | ||
Rivets | QBE | Nimonic 75 |
General
This Repair must only be done when the instruction to do so is given in TASK 72-42-50Inspection/Check.
The practices and processes referred to in the procedure by the TASK/SUBTASK numbers are in the SPM.
Price and availability
Refer to International Aero Engines
Related repairs - none
NOTE
Equivalent materials or equipment can be used.
NOTE
More equipment and materials necessary to do this Repair are in the SPM TASKS as follows:
Preliminary Requirements
Pre-Conditions
NONESupport Equipment
| Name | Manufacturer | Part Number / Identification | Quantity | Remark |
|---|---|---|---|---|
| Hand grinder | LOCAL | Hand grinder | ||
| Vertical drilling machine | LOCAL | Vertical drilling machine | ||
| Standard workshop equipment | LOCAL | Standard workshop equipment | ||
| Penetrant Crack Test Equipment | LOCAL | Penetrant crack test equipment | ||
| Dial indicator | LOCAL | Dial indicator | ||
| Hot squeeze riveting electrodes | LOCAL | Hot squeeze riveting electrodes | ||
| Resistance welding machine | LOCAL | Resistance welding machine | ||
| Workshop inspection equipment | LOCAL | Workshop inspection equipment | ||
| Vibro-engraving equipment | LOCAL | Vibro-engraving equipment |
Consumables, Materials and Expendables
| Name | Manufacturer | Part Number / Identification | Quantity | Remark |
|---|---|---|---|---|
| CoMat 06-022 FLUORESCENT PENETRANT (POST-EMULSIFIED ULTRA HIGH SENSITIVITY) | LOCAL | CoMat 06-022 |
Spares
| Name | Manufacturer | Part Number / Identification | Quantity | Remark |
|---|---|---|---|---|
| Rivet solid universal head (assembly A and B) | AS16289 | 48AR | ||
| Rivet solid universal head (assembly A and B) | AS16330 | 48AR | ||
| Seal, assembly of outer carrier (assembly A) | 6A4144 | 1AR | ||
| Seal, assembly of outer carrier (assembly B) | 6A5944 | 1AR |
Safety Requirements
NONEProcedure
Refer to Figure
SUBTASK 72-42-50-350-063 Remove the Damaged Outer Seal Carrier Assembly
Refer to Figure
SUBTASK 72-42-50-220-070 Visually Examine
Refer to Figure
SUBTASK 72-42-50-323-053 Drill Damaged Rivet Holes
Refer to Figure
SUBTASK 72-42-50-350-064 Assemble the Outer Seal Carrier Assembly to the Support Cone
Refer to Figure
Refer to SPM TASK 70-39-02-390-501.
Use hot squeeze riveting electrodes with resistance welding machine.
NOTE
Use low voltage for the minimum quantity of heat required to give the rivet the correct shape.
Hot squeeze the rivets.
SUBTASK 72-42-50-390-054-001 Safety the Outer Seal Carrier Assembly to the Support Cone
Refer to Figure
SUBTASK 72-42-50-390-054-002 Safety the Outer Seal Carrier Assembly to the Support Cone
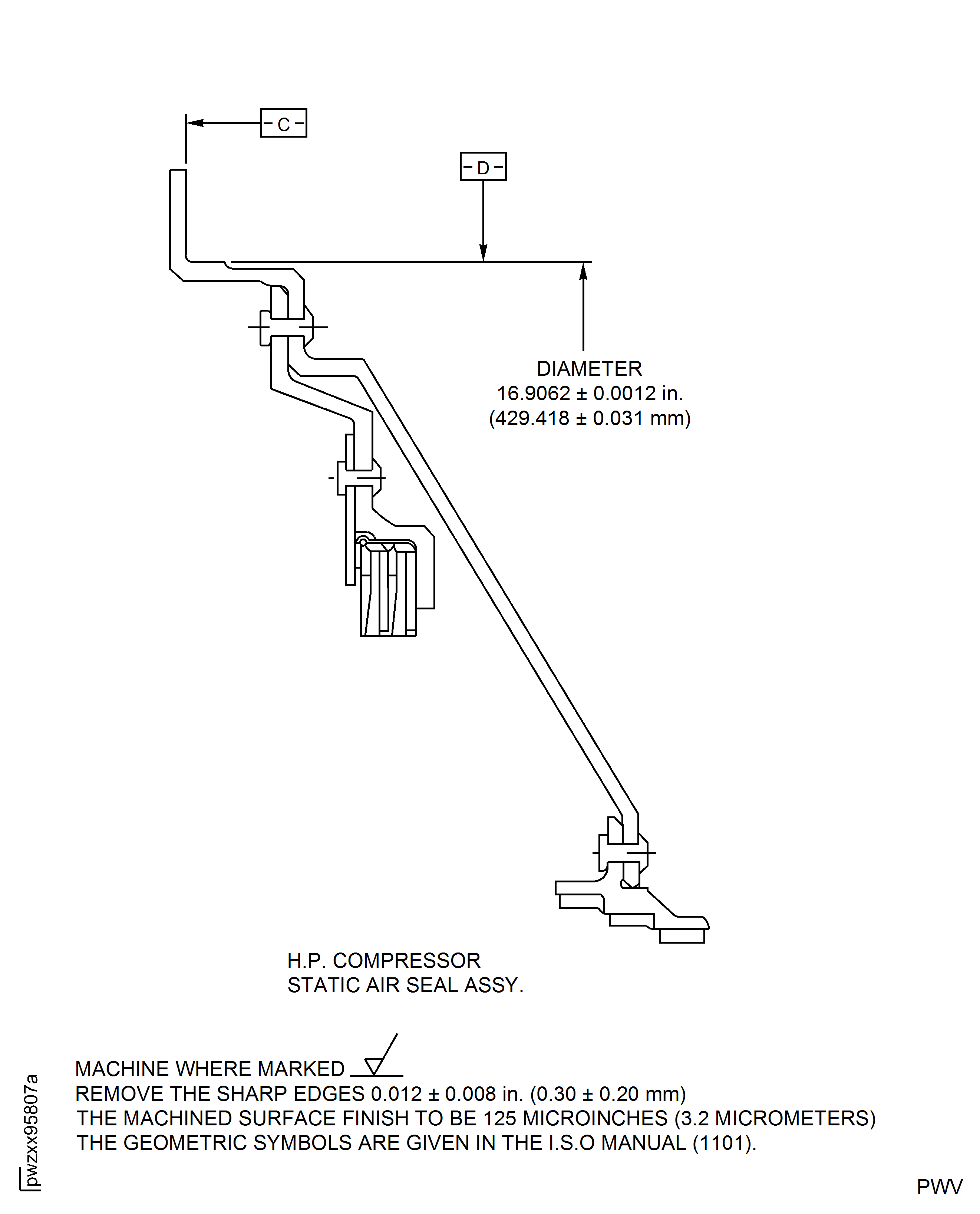
Figure: Repair Details and Dimensions - Assembly A and Assembly B
Repair Details and Dimensions - Assembly A and Assembly B

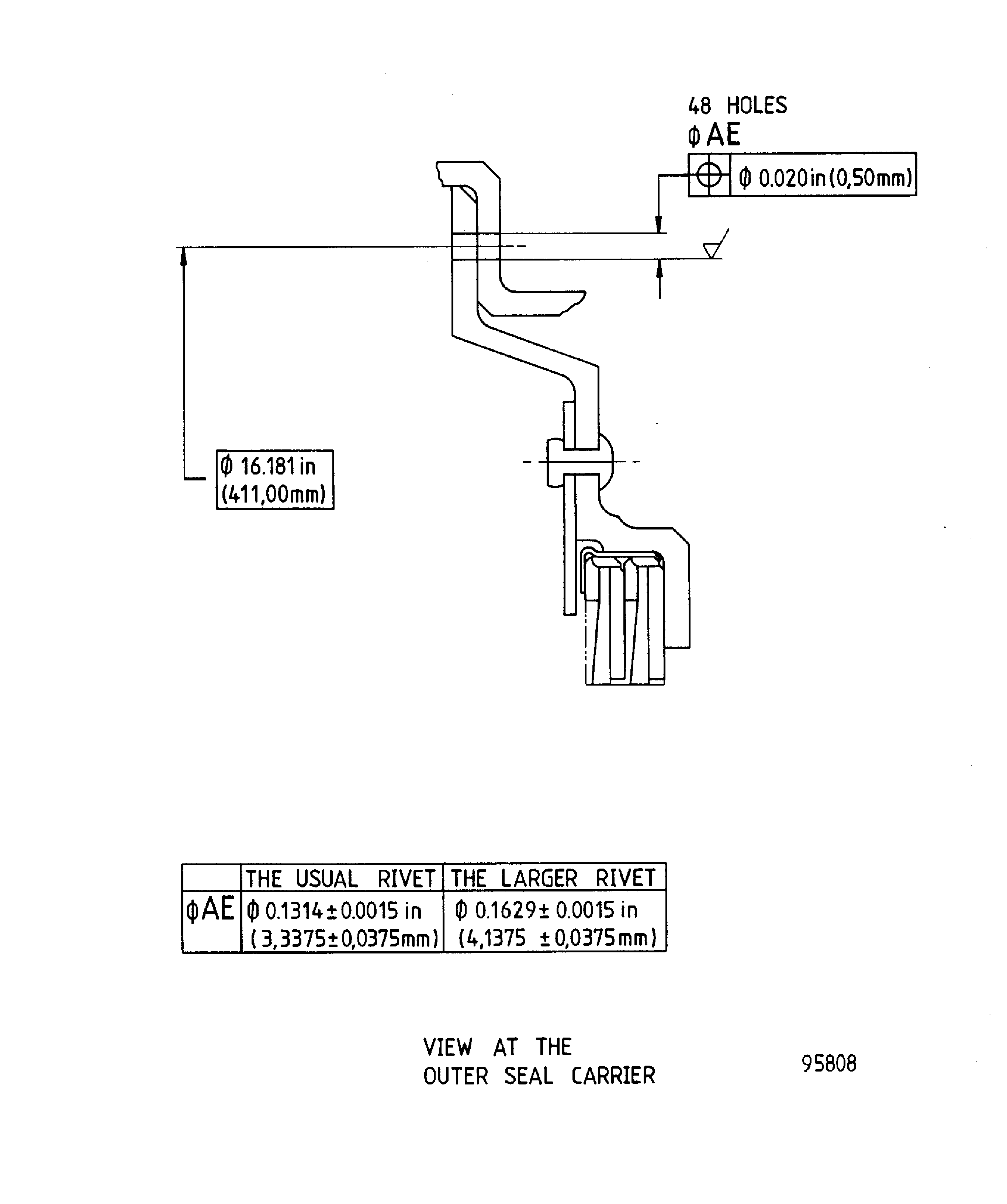
Figure: Repair Details and Dimensions - Assembly A and Assembly B
Repair Details and Dimensions - Assembly A and Assembly B

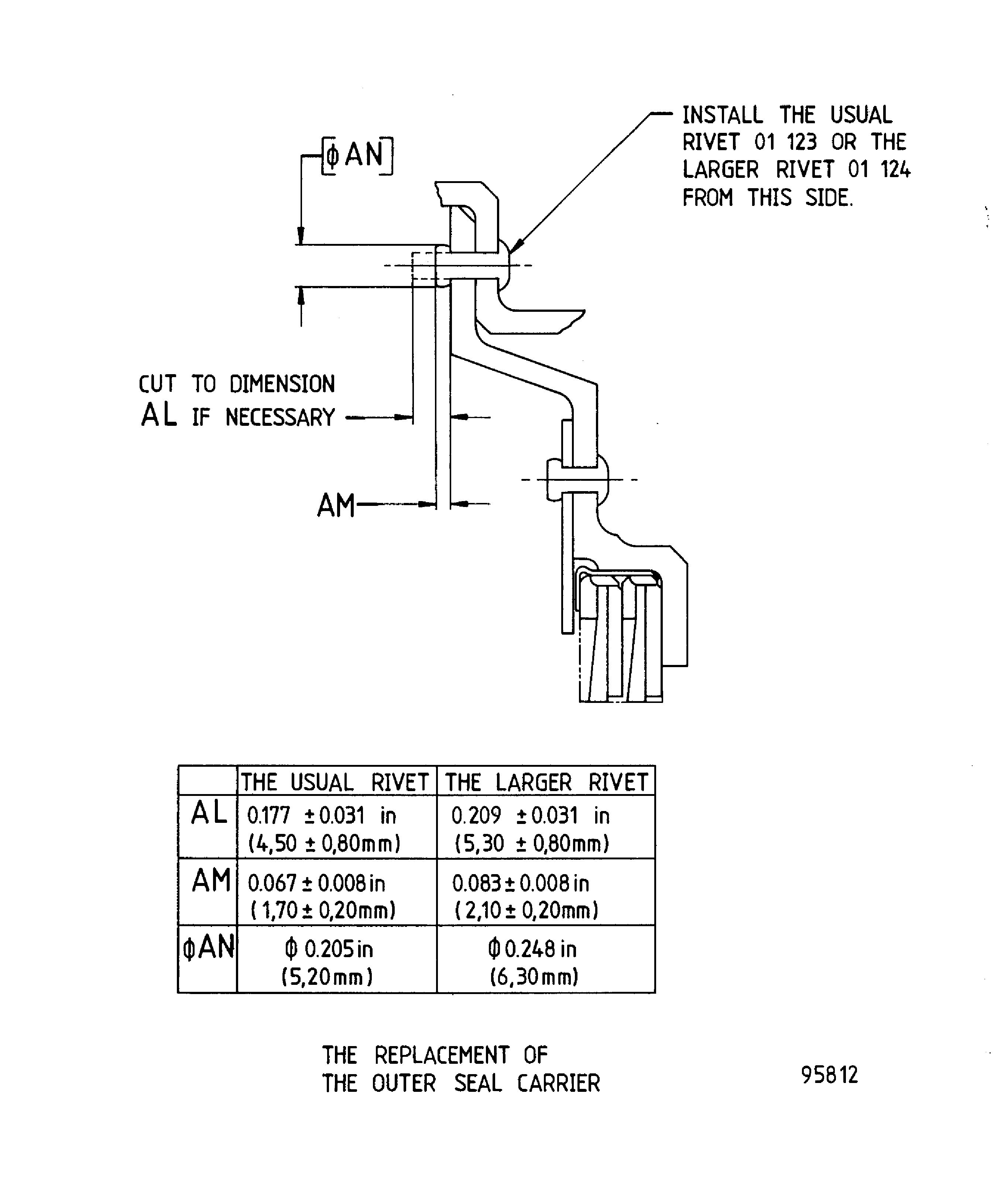
Figure: Repair Details and Dimensions - Assembly A and Assembly B
Repair Details and Dimensions - Assembly A and Assembly B

