Export Control
EAR Export Classification: Not subject to the EAR per 15 C.F.R. Chapter 1, Part 734.3(b)(3), except for the following Service Bulletins which are currently published as EAR Export Classification 9E991: SBE70-0992, SBE72-0483, SBE72-0580, SBE72-0588, SBE72-0640, SBE73-0209, SBE80-0024 and SBE80-0025.Copyright
© IAE International Aero Engines AG (2001, 2014 - 2021) The information contained in this document is the property of © IAE International Aero Engines AG and may not be copied or used for any purpose other than that for which it is supplied without the express written authority of © IAE International Aero Engines AG. (This does not preclude use by engine and aircraft operators for normal instructional, maintenance or overhaul purposes.).Applicability
All
Common Information
TASK 72-45-00-200-004-A00 HPT Instrumentation (Borescope) Plug - Examine, Inspection-004
General
This TASK gives the procedure for the inspection of the instrumentation plug. For the other part of the HP turbine rotor and stator assembly, refer to TASK 72-45-00-200-000 (INSPECTION-000).
Fig/item numbers in parentheses in the procedure agree with those used in the IPC.
The policy that is necessary for inspection is given in the SPM TASK 70-20-00-200-501.
All parts must be visually examined for damage, corrosion and wear. Any defects that are not identified in the procedure must be referred to IAE.
Do not discard any part until you are sure there are no repairs available. Refer to the instructions in Repair before a discarded part is used again or oversize parts are installed.
Parts which should be discarded can be held although no repair is available. The repair of a discarded part could be shown to be necessary at a later date.
All parts must be examined to make sure that all the repairs have been completed satisfactorily.
The practices and processes referred to in the procedure by the TASK numbers are in the SPM.
References
Refer to the SPM for data on these items.
Definitions of Damage, SPM TASK 70-02-02-350-501
Inspection of Parts, SPM TASK 70-20-01-200-501
Some data on these items is contained in this TASK. For more data on these items refer to the SPM.
Method of Testing for Crack Indications
Chemical Processes
Surface Protection
Preliminary Requirements
Pre-Conditions
NONESupport Equipment
NONEConsumables, Materials and Expendables
NONESpares
NONESafety Requirements
NONEProcedure
Clean the Part. Refer to TASK 72-45-00-100-000 (CLEANING-000).
SUBTASK 72-45-00-230-053-001 Examine the Instrumentation Plug (01-140) for Cracks
Clean the Part. Refer to TASK 72-45-00-100-000 (CLEANING-000).
SUBTASK 72-45-00-230-053-002 Examine the Instrumentation Plug (01-140) for Cracks
Refer to: Figure
Repair, VRS3316 TASK 72-45-00-300-001 (REPAIR-001)
Other than (a)
Chipped, worn or not there.
Examine the plug end for coating that is chipped, worn and not there at location 3.
SUBTASK 72-45-00-220-063 Examine the Instrumentation Plug (01-140) End for Coating, Corrosion and Erosion
Refer to: Figure
SUBTASK 72-45-00-220-064 Examine the Instrumentation Plug (01-140) for a Bent Stem
Refer to: Figure
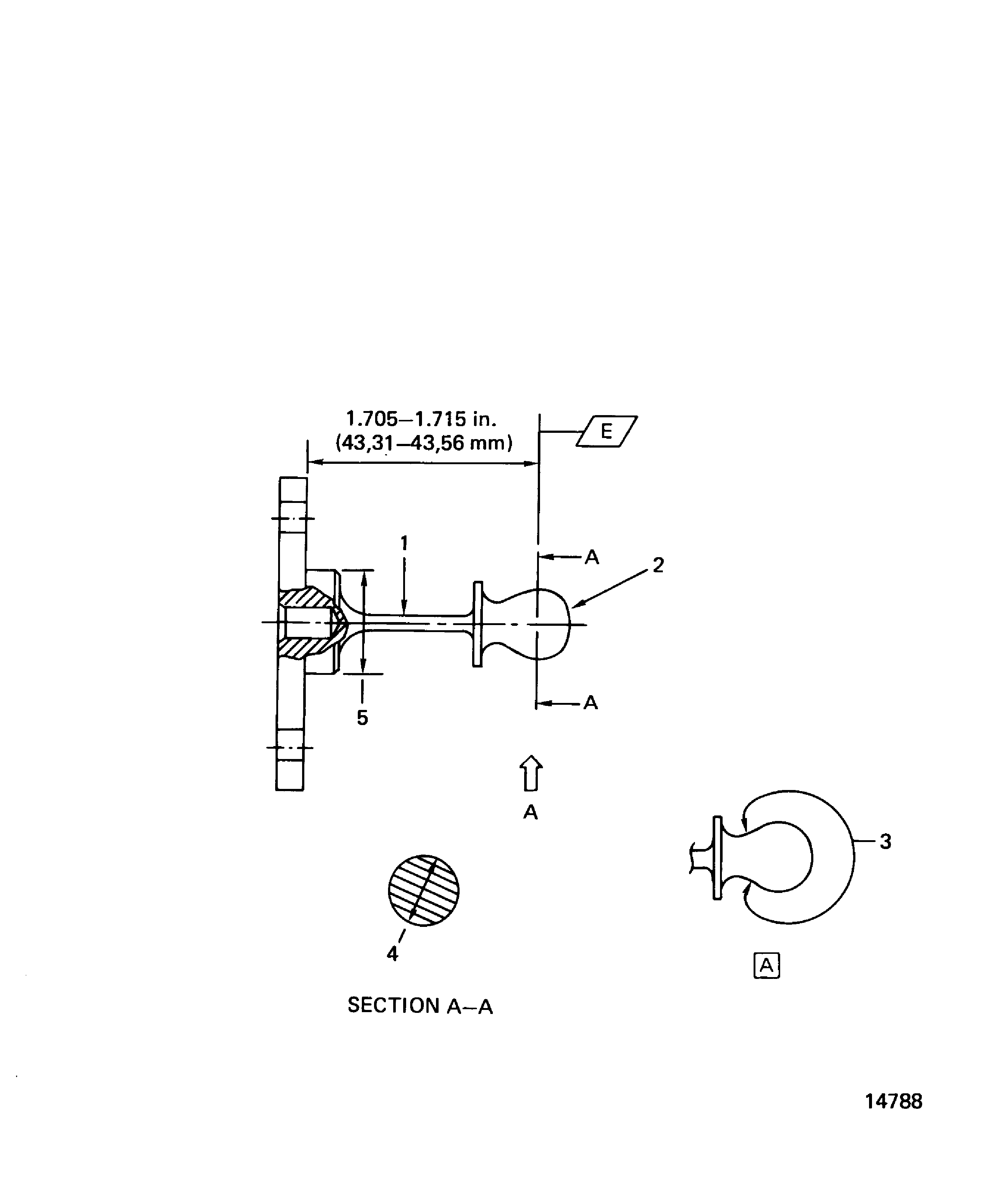
SUBTASK 72-45-00-220-065 Examine the Instrumentation Plug (01-140) for Diameters
Figure: Instrumentation plug inspection locations
Instrumentation plug inspection locations

