Export Control
EAR Export Classification: Not subject to the EAR per 15 C.F.R. Chapter 1, Part 734.3(b)(3), except for the following Service Bulletins which are currently published as EAR Export Classification 9E991: SBE70-0992, SBE72-0483, SBE72-0580, SBE72-0588, SBE72-0640, SBE73-0209, SBE80-0024 and SBE80-0025.Copyright
© IAE International Aero Engines AG (2001, 2014 - 2021) The information contained in this document is the property of © IAE International Aero Engines AG and may not be copied or used for any purpose other than that for which it is supplied without the express written authority of © IAE International Aero Engines AG. (This does not preclude use by engine and aircraft operators for normal instructional, maintenance or overhaul purposes.).Applicability
All
Common Information
TASK 72-45-27-840-001 HPT Stage 2 Support - Rework The Support, Rework-001 - SBE 72-0002
General
You must do the rework on the stage 1 HPT support assembly given in TASK 72-44-10-840-001, SBE 72-0002 - REWORK 001 and rework the HP turbine case assembly given in TASK 72-45-21-840-001, SBE 72-0002 - REWORK 001 at the same time you do the rework given in this procedure.
The practices and processes referred to in the procedure by the TASK numbers are in the SPM.
Refer to the indicated Service Bulletin for specific application requirements.
Preliminary Requirements
Pre-Conditions
NONESupport Equipment
NONEConsumables, Materials and Expendables
NONESpares
NONESafety Requirements
NONEProcedure
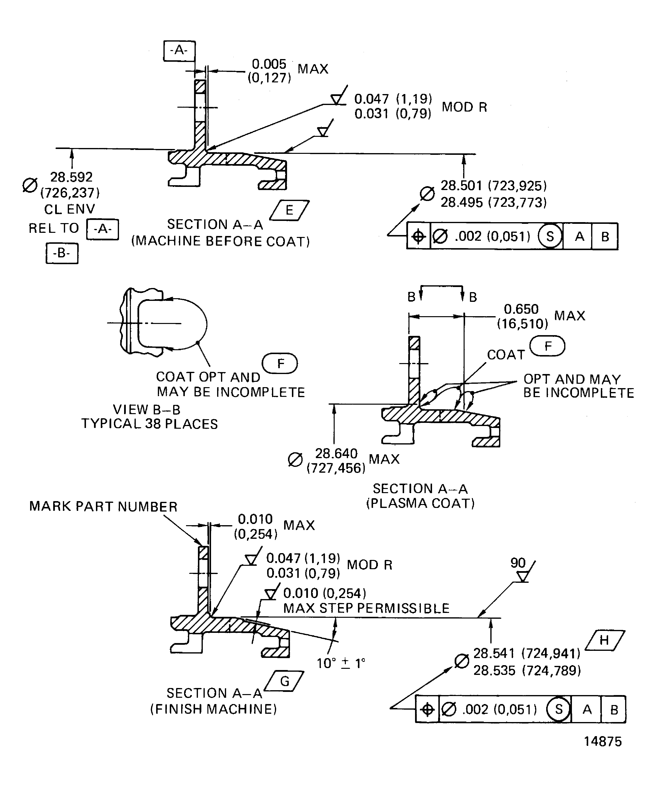
Refer to Figure and SPM TASK 70-34-03-340-501.
NOTE
Apply a mask to the shouldered pins if you did not remove the shouldered pins before plasma coat.Coat the support assembly to a thickness of 0.040 to 0.060 in. (1.02 to 1.52 mm).
SUBTASK 72-45-27-340-053 Plasma Coat the Stage 2 HPT Support Assembly
NUMBER BEFORE - 2A0303.
NEW NUMBER - 2A1360.
NUMBER BEFORE - 2A0304.
NEW NUMBER - 2A1361.
Refer to Figure and SPM TASK 70-09-00-400-501.
Mark the new part number adjacent to the existing part number. Use the vibration peen method.
SUBTASK 72-45-27-350-056 Identify the Stage 2 HPT Support Assembly with the New Part Number
Figure: Location of the stage 2 HPT support assembly
Location of the stage 2 HPT support assembly

Figure: Rework of the stage 2 HPT support assembly
Rework of the stage 2 HPT support assembly

Figure: Rework of the stage 2 HPT support assembly
Rework of the stage 2 HPT support assembly

