Export Control
EAR Export Classification: Not subject to the EAR per 15 C.F.R. Chapter 1, Part 734.3(b)(3), except for the following Service Bulletins which are currently published as EAR Export Classification 9E991: SBE70-0992, SBE72-0483, SBE72-0580, SBE72-0588, SBE72-0640, SBE73-0209, SBE80-0024 and SBE80-0025.Copyright
© IAE International Aero Engines AG (2001, 2014 - 2021) The information contained in this document is the property of © IAE International Aero Engines AG and may not be copied or used for any purpose other than that for which it is supplied without the express written authority of © IAE International Aero Engines AG. (This does not preclude use by engine and aircraft operators for normal instructional, maintenance or overhaul purposes.).Applicability
All
Common Information
TASK 72-45-31-840-001 HPT Stage 2 Hub - Rework To Incorporate A Turbine Hub Heatshield, Rework-001 - SBE 72-0011
General
The practices and procedures referred to in the procedure by the TASK number are in the SPM.
Refer to the indicated Service Bulletin for specific application requirements.
The requirements given in TASK 72-45-11-840-001 (REWORK 001) must be incorporated concurrently with the requirements given in this TASK.
Repair Facilities
The Source Demonstration requirements of this rework means that any facility not authorized to accomplish the rework either utilize the Authorized Repair Vendors listed below or contact IAE Technical Services to determine if a qualification program can be initiated at their facility.
IAE - INTERNATIONAL AERO ENGINES AG
400 Main Street
East Hartford CT 06108
USA
ATTN: Director Technical Service
Authorized Rework Vendors for the bulletin are listed below:
Turbine Component Repair
Caval Tool Division of Chromally Gas Turbine Corporation
275 Richard Street
Newington, CT 06111 USA
MTU-Maintenance GmbH
Munchen Strasse 31
Postfach 1720
D-3012 Langenhagen 7, Hanover
Germany
The designation by IAE of an authorized rework vendor indicates that the vendor has demonstrated the necessary capability to enable it to carry out the listed rework. However, IAE makes no warranties or representations concerning the qualifications or quality standards of the repair vendors to carry out the rework, and accepts no responsibility whatsoever for any work that may be carried out by a rework vendor, other than when IAE is listed as the vendor. Authorized rework vendors do not act as agents or representatives of IAE.
NOTE
Preliminary Requirements
Pre-Conditions
NONESupport Equipment
NONEConsumables, Materials and Expendables
| Name | Manufacturer | Part Number / Identification | Quantity | Remark |
|---|---|---|---|---|
| CoMat 05-032 CAST STEEL SHOT, S170 | 42736 | CoMat 05-032 | ||
| CoMat 05-033 CAST STEEL SHOT DELETED | 0AM53 | CoMat 05-033 |
Spares
NONESafety Requirements
NONEProcedure
Refer to Figure requirements.
Do the procedure given in the SPM TASK 70-38-13-380-501 and use CoMat 05-032 CAST STEEL SHOT, S170 or CoMat 05-033 CAST STEEL SHOT DELETED.
No mask is necessary.
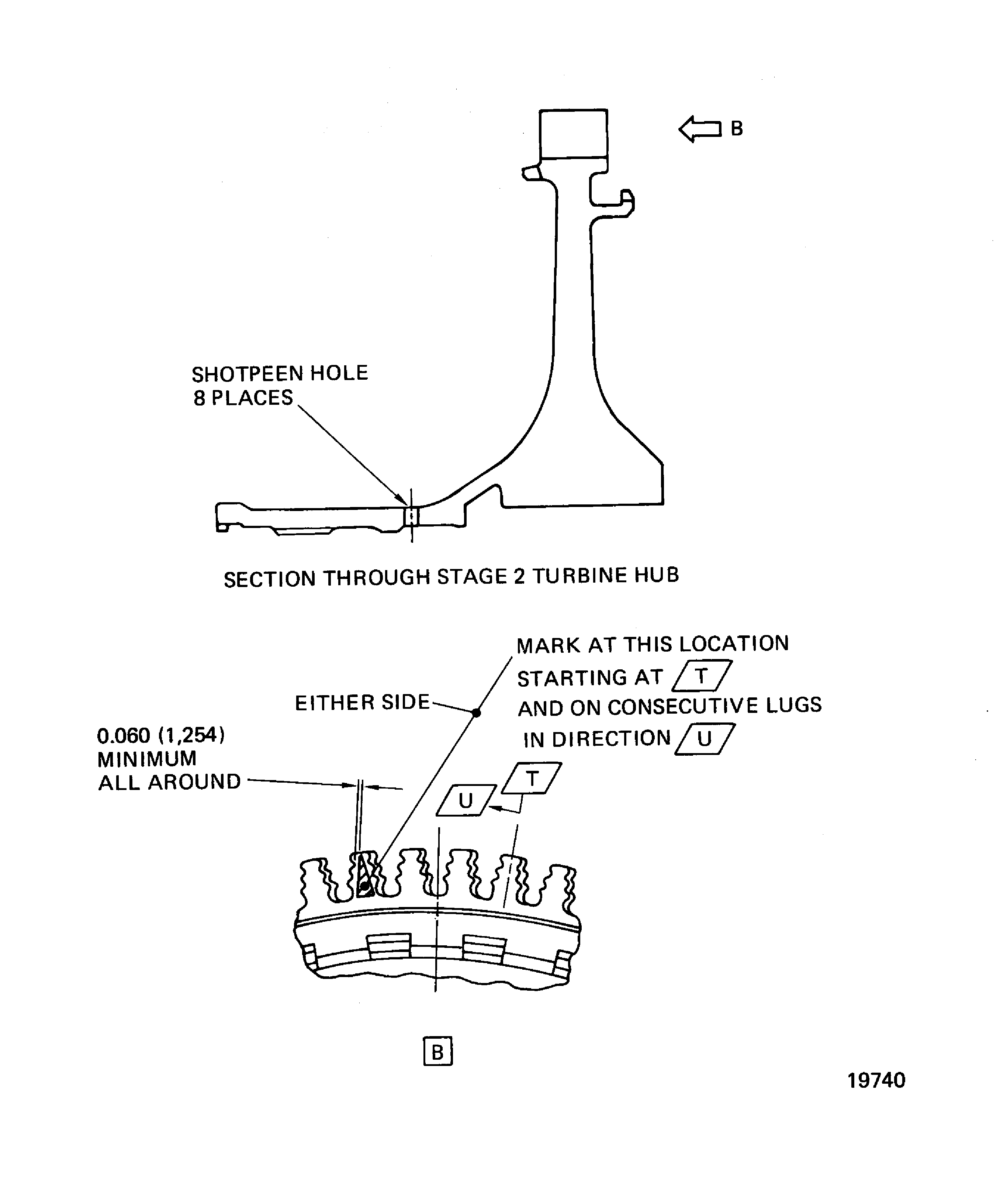
Shot peen the turbine hub holes to an intensity of 6A with a hardness of 45 to 55 HRC.
SUBTASK 72-45-31-380-054 Shot Peen the Stage 2 Turbine Hub
Number before - 2A0902.
New number - 2A1302.
Refer to Figure requirements.
Make a permanent mark by the procedures given in the SPM TASK 70-09-00-400-501.
Use the vibration peen method.
NOTE
If the part was identified with the new part number after it was machined this step is not necessary.
Mark the new part number adjacent to the part number that was there before.
SUBTASK 72-45-31-350-059 Identify the Stage 2 Turbine Hub
Refer to Figure requirements.
Install the 2A1041 heatshield (1 off) on the 2A1302 stage 2 turbine hub.
Refer to Figure requirements.
Install the 2A1125 metering plugs (4 off) in the four holes from the inside (flange end to contact the inner diameter of the hub).
SUBTASK 72-45-31-440-051 Install the Stage 2 Heatshield and Metering Plugs
New number - 2A1702.
Refer to Figure requirements.
Make a permanent mark by the procedures given in the SPM TASK 70-09-00-400-501.
Use the vibration peen method.
Mark the new assembly part number.
SUBTASK 72-45-31-350-060 Identify the Stage 2 Turbine Hub Assembly
Do the procedure given in TASK 72-45-30-440-001-B00.
Assemble the stage 2 turbine rotor assembly.
Make a permanent mark by the procedures given in the SPM TASK 70-09-00-400-501.
Use the vibration peen method.
Identify the 2A1022 stage 2 turbine rotor assembly to 2A1722.
SUBTASK 72-45-31-440-052 Assemble the Stage 2 Turbine Rotor Assembly
Figure: Rework of the stage 2 turbine hub
Rework of the stage 2 turbine hub

Figure: Rework of the stage 2 turbine hub assembly
Rework of the stage 2 turbine hub assembly

