Export Control
EAR Export Classification: Not subject to the EAR per 15 C.F.R. Chapter 1, Part 734.3(b)(3), except for the following Service Bulletins which are currently published as EAR Export Classification 9E991: SBE70-0992, SBE72-0483, SBE72-0580, SBE72-0588, SBE72-0640, SBE73-0209, SBE80-0024 and SBE80-0025.Copyright
© IAE International Aero Engines AG (2001, 2014 - 2021) The information contained in this document is the property of © IAE International Aero Engines AG and may not be copied or used for any purpose other than that for which it is supplied without the express written authority of © IAE International Aero Engines AG. (This does not preclude use by engine and aircraft operators for normal instructional, maintenance or overhaul purposes.).Applicability
All
Common Information
TASK 72-50-21-300-012 LPT Case - Weld Repair, Repair-012 (VRS4015)
Effectivity
FIG/ITEM | PART NO. | |
|---|---|---|
01-010 | 3A0807 | |
01-010 | 3A0990 | |
01-010 | 3A0991 | |
01-010 | 3A1908 | |
01-010 | 3A2183 | |
01-010 | 3A2265 | |
01-010 | 3A2447 | |
01-010 | 3A2533 |
General
Price and availability - none
The practices and processes referred to in this procedure by the TASK number are in the SPM.
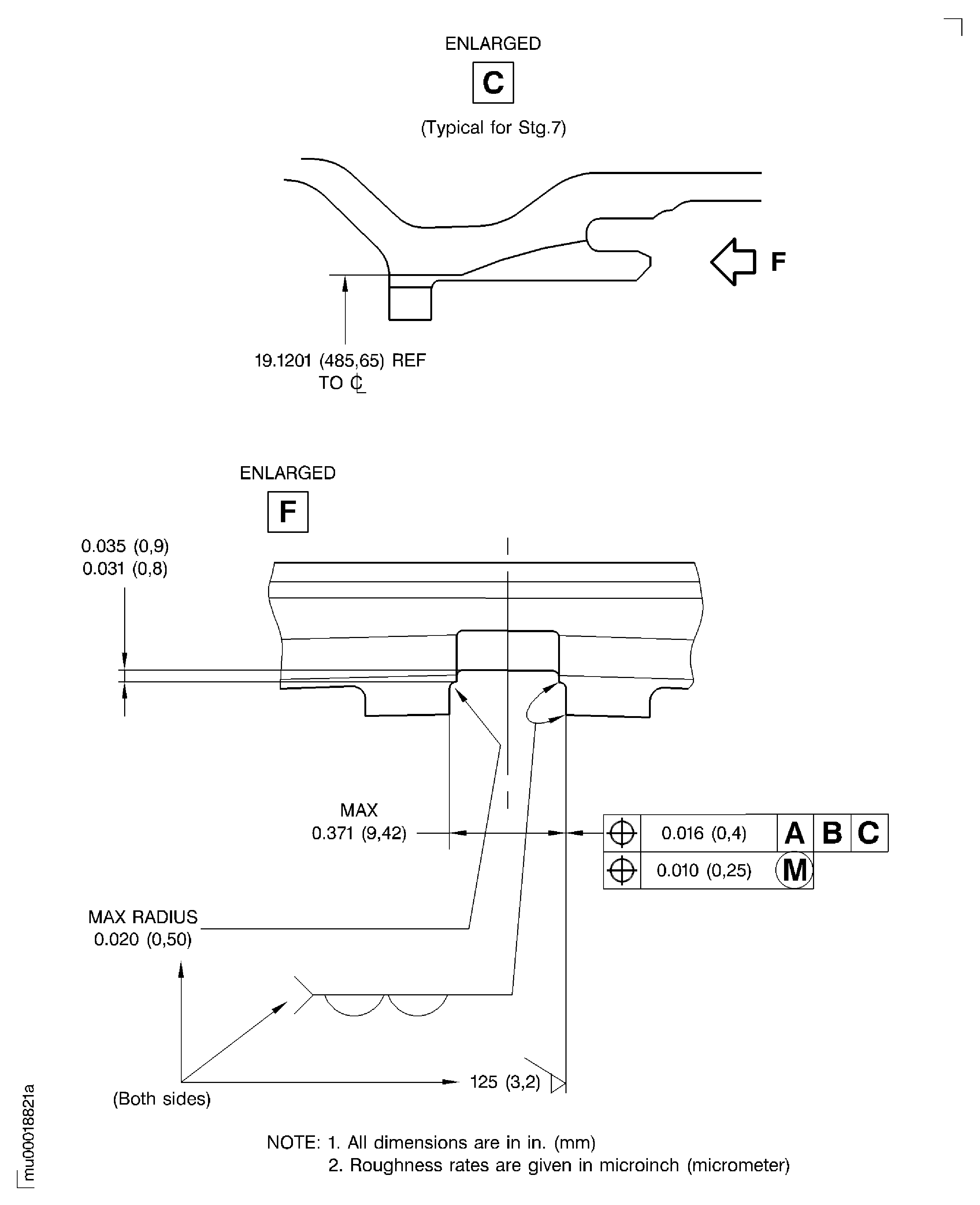
If the damage is bad, machine to remove damage, refer to Figure.
Before you start this repair, remove screw thread inserts. Refer to Repair VRS4049 TASK 72-50-21-300-026, (REPAIR-026). After repair install new screw thread inserts. Refer to Repair VRS4049 TASK 72-50-21-300-026, (REPAIR-026).
NOTE
NOTE
Preliminary Requirements
Pre-Conditions
NONESupport Equipment
NONEConsumables, Materials and Expendables
| Name | Manufacturer | Part Number / Identification | Quantity | Remark |
|---|---|---|---|---|
| CoMat 03-284 WELDING FILLER WIRE, NiBASE | LOCAL | CoMat 03-284 |
Spares
NONESafety Requirements
NONEProcedure
Refer to the SPM TASK 70-11-03-300-503.
Aqueous degrease.
SUBTASK 72-50-21-110-091 Clean the LP Turbine Case
Refer to Figure and the SPM TASK 70-31-13-310-501.
Build up sufficient material to let final machining.
Tungsten inert gas weld up the worn slot surfaces.
SUBTASK 72-50-21-310-054 Weld Repair of Worn Surfaces
Refer to the SPM TASK 70-37-00-370-501 and SPM TASK 70-37-01-370-501.
Heat treat the LP turbine case.
SUBTASK 72-50-21-370-057 Heat Treat after Repair
Refer to the SPM TASK 70-11-03-300-503.
Aqueous degrease.
SUBTASK 72-50-21-110-092 Clean the LP Turbine Case
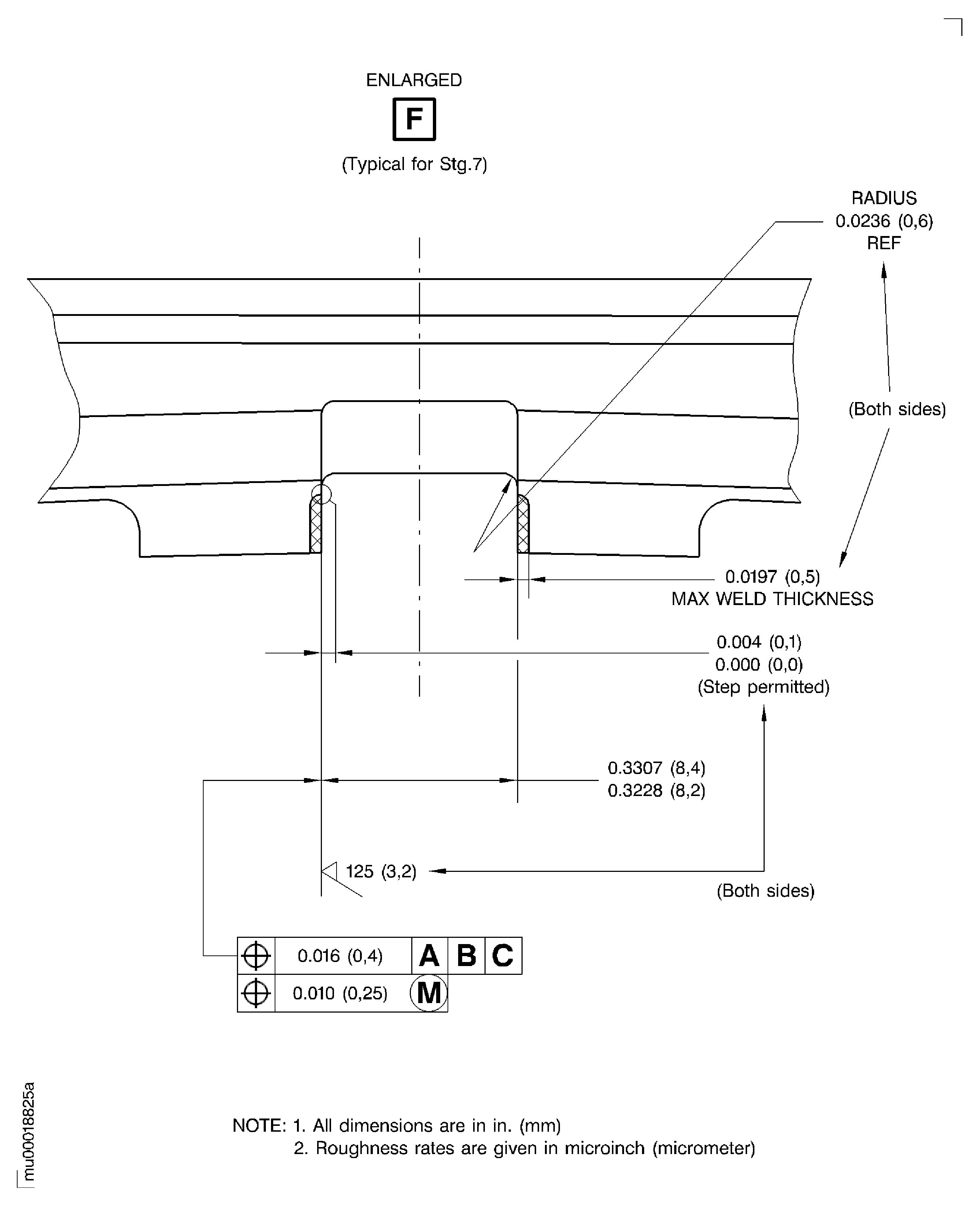
Refer to Figure for dimensions.
Machine the welded areas.
SUBTASK 72-50-21-320-065 Machine the Welded Areas
Refer to Figure for dimensions.
Dimensionally examine.
SUBTASK 72-50-21-220-145 Examine the Machined Areas
Refer to the SPM TASK 70-11-03-300-503.
Aqueous degrease.
SUBTASK 72-50-21-110-093 Clean the LP Turbine Case
Figure: LP turbine case anti rotation slots before weld repair
LP turbine case anti rotation slots before weld repair

Figure: LP turbine case anti rotation slots before weld repair
LP turbine case anti rotation slots before weld repair

Figure: LP turbine case anti rotation slots before weld repair
LP turbine case anti rotation slots before weld repair

Figure: LP turbine case anti rotation slots before weld repair
LP turbine case anti rotation slots before weld repair

Figure: LP turbine case anti rotation slots before weld repair
LP turbine case anti rotation slots before weld repair

Figure: LP turbine case anti rotation slots before weld repair
LP turbine case anti rotation slots before weld repair

Figure: LP turbine case anti rotation slots after weld repair
LP turbine case anti rotation slots after weld repair

Figure: LP turbine case anti rotation slots after weld repair
LP turbine case anti rotation slots after weld repair

Figure: LP turbine case anti rotation slots after weld repair
LP turbine case anti rotation slots after weld repair

