Export Control
EAR Export Classification: Not subject to the EAR per 15 C.F.R. Chapter 1, Part 734.3(b)(3), except for the following Service Bulletins which are currently published as EAR Export Classification 9E991: SBE70-0992, SBE72-0483, SBE72-0580, SBE72-0588, SBE72-0640, SBE73-0209, SBE80-0024 and SBE80-0025.Copyright
© IAE International Aero Engines AG (2001, 2014 - 2021) The information contained in this document is the property of © IAE International Aero Engines AG and may not be copied or used for any purpose other than that for which it is supplied without the express written authority of © IAE International Aero Engines AG. (This does not preclude use by engine and aircraft operators for normal instructional, maintenance or overhaul purposes.).Applicability
All
Common Information
TASK 72-50-22-300-076 LPT Stage 4 Vane - Replace The Locating Key, Repair-076 (VRS4371)
Material of component
IAE | ||
PART IDENT | SYMBOL | MATERIAL |
Stage 4 Turbine Vane | MTS1323B/M-247 LC DS | |
Locating Key | Hastelloy X |
General
Price and availability - none
The practices and processes referred to in the procedure by the TASK numbers are in the SPM.
NOTE
NOTE
NOTE
Preliminary Requirements
Pre-Conditions
NONESupport Equipment
| Name | Manufacturer | Part Number / Identification | Quantity | Remark |
|---|---|---|---|---|
| Standard equipment | LOCAL | Standard equipment | ||
| Dial caliper | LOCAL | Dial caliper | ||
| Radius gage set | LOCAL | Radius gage set | ||
| Vernier caliper | LOCAL | Vernier caliper | ||
| IAE 3M14227 Clamping fixture | 0AM53 | IAE 3M14227 | 1 | |
| IAE 3M14539 Fixture, Grinding | 0AM53 | IAE 3M14539 | 1 |
Consumables, Materials and Expendables
| Name | Manufacturer | Part Number / Identification | Quantity | Remark |
|---|---|---|---|---|
| CoMat 03-148 BRAZING FILLER POWDER | LOCAL | CoMat 03-148 | ||
| CoMat 03-227 WHITE STOP OFF | D3309 | CoMat 03-227 |
Spares
| Name | Manufacturer | Part Number / Identification | Quantity | Remark |
|---|---|---|---|---|
| Locating Key | 3A0002 | 1 |
Safety Requirements
NONEProcedure
Use IAE 3M14539 Fixture, Grinding 1 off.
Electrical discharge machine according to the SPM TASK 70-32-03-320-501 is permitted.
Do not remove parent material.
To get the slot dimensions traces of braze may stay.
Machine off worn locating key.
SUBTASK 72-50-22-326-063 Remove the Worn Locating Key
Refer to the SPM TASK 70-11-03-300-503.
Clean vane.
SUBTASK 72-50-22-110-266 Clean the Stage 4 Turbine Vane
Refer to the SPM TASK 70-11-03-300-503.
Clean vane.
SUBTASK 72-50-22-110-267 Clean the Stage 4 Turbine Vane
Nickel plate is permitted to make the following braze cycle easier.
Refer to the SPM TASK 70-33-06-300-503.
Make sure that coating thickness is 0.0001 to 0.0003 in. (0.003 to 0.008 mm).
Nickel plate connecting surfaces if necessary.
SUBTASK 72-50-22-330-063 Nickel Plate the Machined Surfaces
Clamp locating key to prevent movement.
Use IAE 3M14227 Clamping fixture 1 off.
Spot welding of locating key to help brazing is permitted.
For braze cycles refer to Figure and to the SPM TASK 70-31-09-310-501.
Braze locating key in position.
SUBTASK 72-50-22-310-126 Braze in the New Locating Key
Refer to the SPM TASK 70-11-03-300-503.
Clean vane.
SUBTASK 72-50-22-110-268 Clean the Stage 4 Turbine Vane
Refer to the SPM TASK 70-37-27-370-501, except temperature range to be 1625 deg F to 1675 deg F (885 deg C to 913 deg C) for 8 hours.
Precipitation heat treat stage 4 turbine vane.
SUBTASK 72-50-22-350-111 Do the Precipitation Heat Treat
Refer to the SPM TASK 70-31-07-310-501 for acceptance standards.
Visually examine honeycomb for completed braze.
SUBTASK 72-50-22-220-363 Examine the Honeycomb Braze Condition
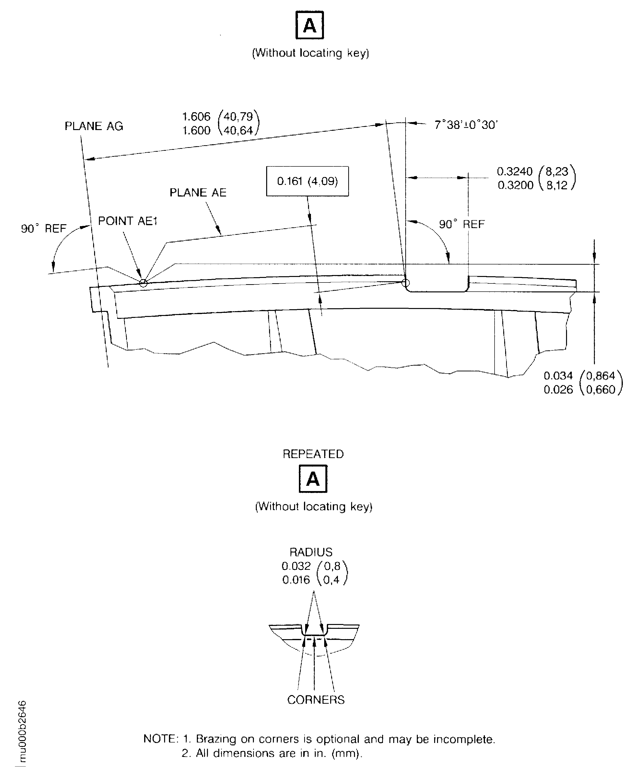
Figure: Repair Details and Dimensions
Repair Details and Dimensions

Figure: Repair Details and Dimensions
Repair Details and Dimensions

Figure: Repair Details and Dimensions
Repair Details and Dimensions

